RL132四跨具部品书N7203A389B44.pdf - 第544页
挿入部 (移シ替エ チャック部)(P=7.5m m) INSERT SECT.(TRANSFE R CHUCK SECT .)(P=7.5mm) 35 FN610142427AA_01 M511

PART No.
イラスト
No.
REF
No.
PART NAME
REMARKSQ'TY
34
本体部(自動幅寄せ用ブラケット部)
MAIN BODY SECT.(AUTO WIDTH BRACKET SECT.)
部 品 名品 番 個数 備 考
R
2
R
3
R
1
1
N610131255AA
AUTO WIDTH BRACKET UNIT
1001 N210147732AC
BRACKET
M510
FN610131255AA_01

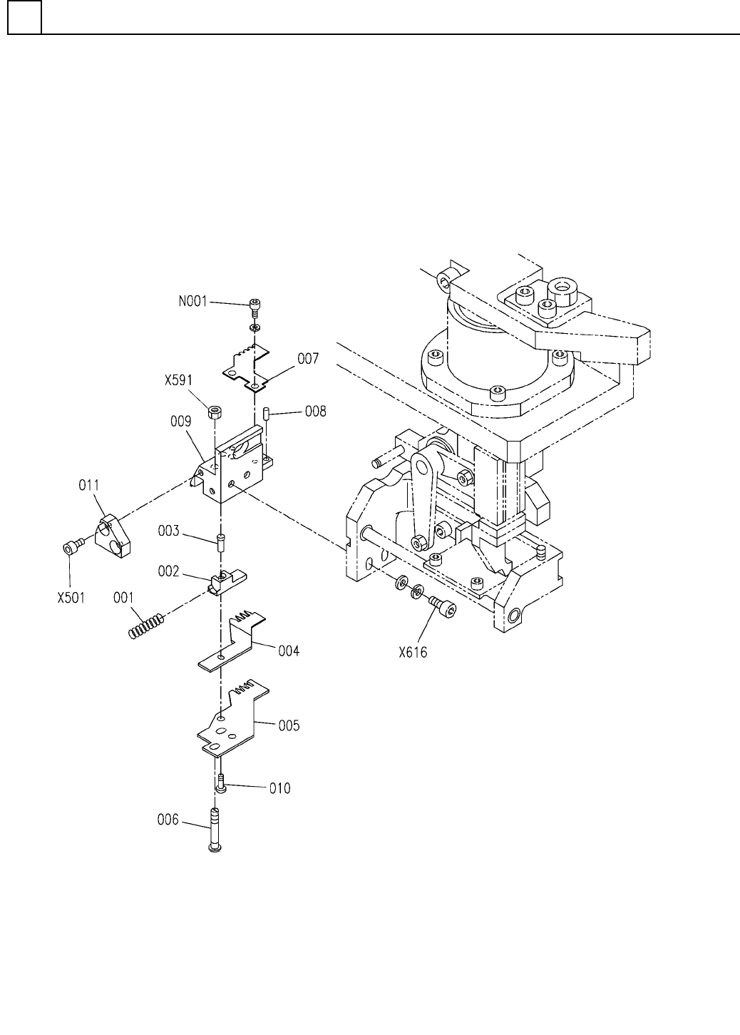
挿入部(移シ替エチャック部)(P=7.5mm)
INSERT SECT.(TRANSFER CHUCK SECT.)(P=7.5mm)
35
FN610142427AA_01
M511

PART No.
イラスト
No.
REF
No.
PART NAME
REMARKSQ'TY
35
挿入部(移シ替エチャック部)(P=7.5mm)
INSERT SECT.(TRANSFER CHUCK SECT.)(P=7.5mm)
部 品 名品 番 個数 備 考
R
2
R
3
R
1
1
N610142427AA
INSERTION UNIT
1001 X02G43001
SPRING
1002 N210165181AA
SLIDER
1
003 N210165236AA
PIN
1004 N210143357AA
PLATE
1005 N210143364AA
PLATE
2
006 X01A4300901
PIN
1
007 N210143365AB
GUIDE
1008 X01A43012
PIN
1009 N210165171AB
BLOCK
1
010 X01A43015
PIN
1
011 N210165173AA
RETAINER
M2.5X4-10.9 A2J (Trivalent)
2
N001
N510017244AA
HEX. SOCKET HEAD CAP BOLT
M3X5-10.9 A2J (Trivalent)
2
X501
N510017333AA
HEX. SOCKET HEAD CAP BOLT
M4X12-10.9 A2J (Trivalent)
2
X616
N510017346AA
HEX. SOCKET HEAD CAP BOLT
M3-6H-4T A2J (Trivalent)
3
X591
N510017849AA
HEXAGON NUT
M512
FN610142427AA_01