RL132四跨具部品书N7203A389B44.pdf - 第239页
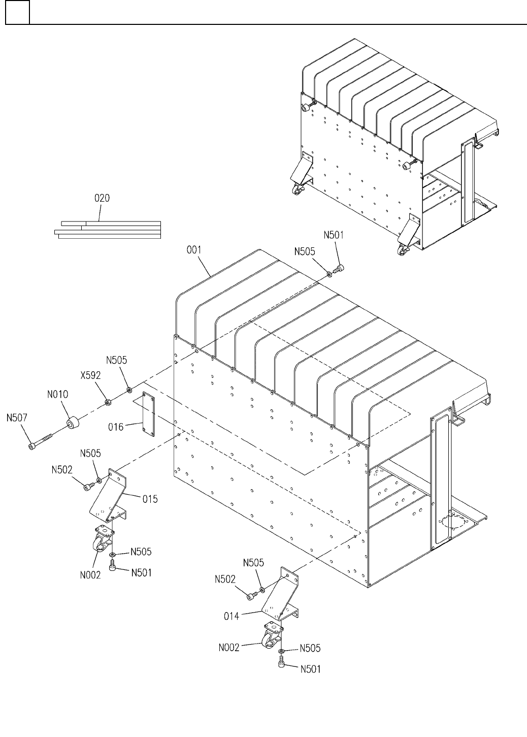
PART No. イラスト No. REF No. PART NAME REMARKS Q'TY 18 部品ボ ックス部(キャスター付き <左>1) PARTS BOX SECT.(CAST ER TYPE<LEFT >-1) 部 品 名 品 番 個数 備 考 R 2 R 3 R 1 1 N610080235AA PARTS BOX UNIT 1 001 N210103738AB FRAME 1 01…

部品ボックス部(キャスター付き<左>1)
PARTS BOX SECT.(CASTER TYPE<LEFT>-1)
18
FN610080235AA_05-1
M205

PART No.
イラスト
No.
REF
No.
PART NAME
REMARKSQ'TY
18
部品ボックス部(キャスター付き<左>1)
PARTS BOX SECT.(CASTER TYPE<LEFT>-1)
部 品 名品 番 個数 備 考
R
2
R
3
R
1
1
N610080235AA
PARTS BOX UNIT
1001 N210103738AB
FRAME
1014 X02P70661
BRACKET
1
015 X02P70662
BRACKET
2016 X02P70663
NUT PLATE
1020 N210103747AA
SEAL
No.420-E-R40-1
2
N002
N510019606AA
CASTER
TM-TK-3220
2
N010
MTNK001914AA
RUBBER LEG
M4X8-10.9 A2J (Trivalent)
8
N501
N510017381AA
HEX. SOCKET HEAD CAP BOLT
M4X10-10.9 A2J (Trivalent)
8
N502
N510017344AA
HEX. SOCKET HEAD CAP BOLT
M4X30-10.9 A2J (Trivalent)
2
N503
N510017361AA
HEX. SOCKET HEAD CAP BOLT
4 10H A2J (Trivalent)
22
N505
N510018497AA
ROUND PLAIN WASHER
M4X70-10.9 A2J (Trivalent)
2
N507
N510017378AA
HEX. SOCKET HEAD CAP BOLT
M4-6H-4T A2J (Trivalent)
4
X592
N510017855AA
HEXAGON NUT
M206
FN610080235AA_05-1

部品ボックス部(キャスター付き<左>2)
PARTS BOX SECT.(CASTER TYPE<LEFT>-2)
18
FN610080235AA_05-2
M207