RL132四跨具部品书N7203A389B44.pdf - 第47页
PART No. イラスト No. REF No. PART NAME REMARKS Q'TY 1 本体部 (アッパ フレーム部)( 80ステーション) MAIN B ODY SECT.(UPPE R FRAME SECT .)(80 STATION) 部 品 名 品 番 個数 備 考 R 2 R 3 R 1 1 N610130671AA MAIN BODY UNIT 1 001 N210150063AC ARM(RIGH…

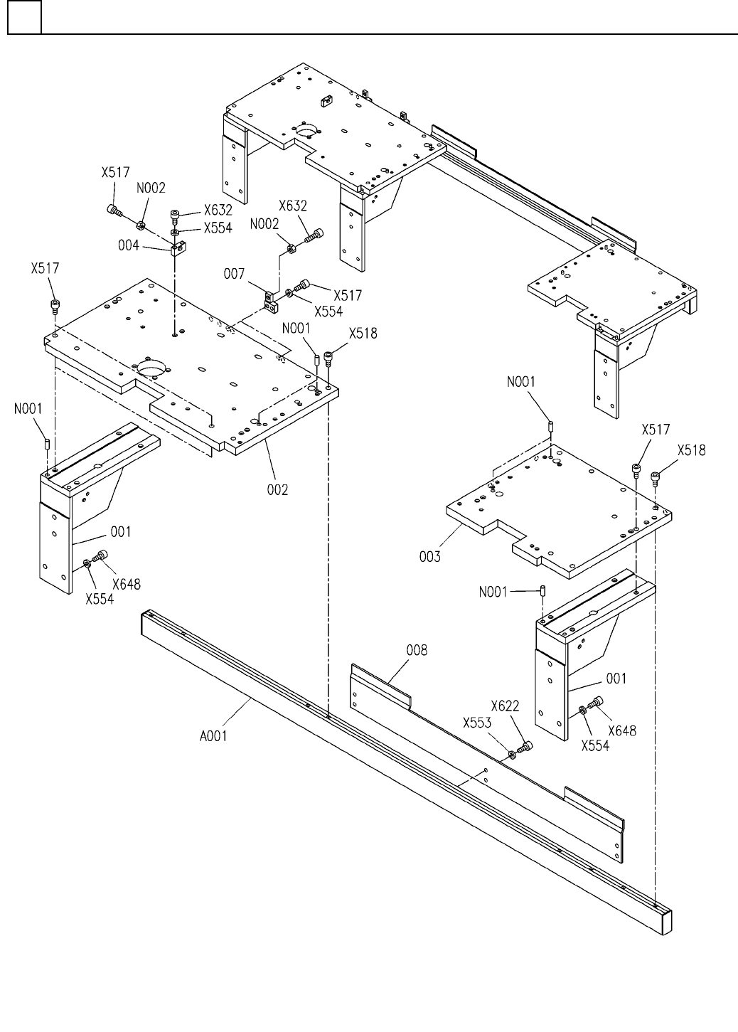
本体部(アッパフレーム部)(80ステーション)
MAIN BODY SECT.(UPPER FRAME SECT.)(80 STATION)
1
FN610130671AA_06
M13

PART No.
イラスト
No.
REF
No.
PART NAME
REMARKSQ'TY
1
本体部(アッパフレーム部)(80ステーション)
MAIN BODY SECT.(UPPER FRAME SECT.)(80 STATION)
部 品 名品 番 個数 備 考
R
2
R
3
R
1
1
N610130671AA
MAIN BODY UNIT
1001 N210150063AC
ARM(RIGHT)
1002 N210154604AC
UPPER BASE
1
003 N210088041AA
PLATE
1004 N210088042AA
PLATE
1005 N210088043AB
PLATE
1
006 N210154605AA
PLATE
1
007 N210150064AD
ARM(LEFT)
MMS10-40
3
N001
N510020647AA
PIN
MMS8-15
3
N002
N510020629AA
PIN
M12X35-10.9 A2J (Trivalent)
7
N501
N510017190AA
HEX. SOCKET HEAD CAP BOLT
12 10H A2J (Trivalent)
7
N502
N510018507AA
WASHER
M10X25-10.9 A2J (Trivalent)
25
X648
N510017166AA
HEX. SOCKET HEAD CAP BOLT
M12X25-10.9 A2J (Trivalent)
9
N504
N510017188AA
HEX. SOCKET HEAD CAP BOLT
M14
FN610130671AA_06

Z軸フレーム部(40ステーション1)
Z-AXIS FRAME SECT.(40 STATION-1)
2
FN610123554AB_01-1
M15