RL132四跨具部品书N7203A389B44.pdf - 第445页
PART No. イラスト No. REF No. PART NAME REMARKS Q'TY 27 基準レハ ゙ー部(D=12.0) POSITI ON LEVER SECT. (D=12.0) 部 品 名 品 番 個数 備 考 R 2 R 3 R 1 D=12.0 1 1020304370 POSITION L EVER UNIT D=12.0 1 371 102030437101 LEVER D=12.0 1 372 …

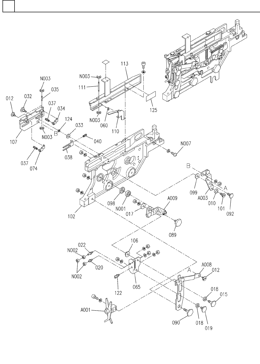
基準レバー部(D=12.0)
POSITION LEVER SECT.(D=12.0)
27
F10203-04-370
M411

PART No.
イラスト
No.
REF
No.
PART NAME
REMARKSQ'TY
27
基準レバー部(D=12.0)
POSITION LEVER SECT.(D=12.0)
部 品 名品 番 個数 備 考
R
2
R
3
R
1
D=12.0
1
1020304370
POSITION LEVER UNIT
D=12.0
1371 102030437101
LEVER
D=12.0
1372 102030437201
LEVER
M412
F10203-04-370

テープフィーダ部(12.7X5.0(1))
TAPE FEEDER SECT.(12.7X5.0(1))
28
FN610071917AA_04-1
M413