RL132四跨具部品书N7203A389B44.pdf - 第273页
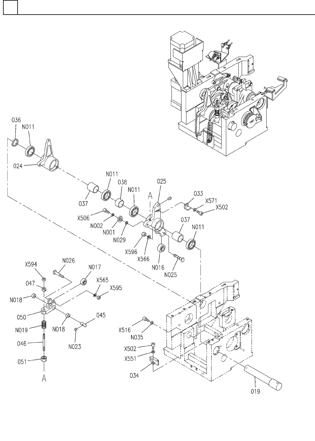
PART No. イラスト No. REF No. PART NAME REMARKS Q'TY 20 部品加工部(動力部 2) PARTS PROCESS SECT.( DRIVING SECT .-2) 部 品 名 品 番 個数 備 考 R 2 R 3 R 1 MSMD082PJA S 1 A001 N610074305AA MOTOR 1 A002 N610089590AC HOSE 1 001 N210151129AA…

部品加工部(動力部2)
PARTS PROCESS SECT.(DRIVING SECT.-2)
20
FN610125387AA_16-2
M239

PART No.
イラスト
No.
REF
No.
PART NAME
REMARKSQ'TY
20
部品加工部(動力部2)
PARTS PROCESS SECT.(DRIVING SECT.-2)
部 品 名品 番 個数 備 考
R
2
R
3
R
1
MSMD082PJA S
1
A001
N610074305AA
MOTOR
1
A002
N610089590AC
HOSE
1001 N210151129AA
CAM(V CUTTER O/C)
1
002 N210156459AA
CAM
1004 N210156592AA
CAM
1005 N210151128AA
CAM
1
006 N210155000AB
CAM(POSITIONING O/C)
1
009 N210089102AD
BRACKET
1012 X02G14019
HOLDER(TUBE)
2016 X02G14104
KEY
1
018 N210058841AA
KEY
1
030 N210148365AA
SHAFT
1043 N210089103AA
DOG FOR SENSOR
1058 N210181713AA
BRACKET
1
071 N210181676AA
COVER
M8X10-45H A2J (Trivalent)
5
N003
N510018455AA
SET SCREW
SW50E07LF-AGB(231D86000)
1
N005
N510036776AA
REDUCTION GEAR
FUS05SS
1
N006
KXF023AAA00
LOCK-NUT
6007ZZ
1
N013
KXF00KAAA00
BALL BEARING
87MSWT2
2
N021
N510023248AA
PLUG
PANADAC921SA1
1
N024
N310P921SA1
SENSOR
SFC-040DA2-16B-19B
1
N031
N510042281AA
COUPLING
KS-1/4
1
N032
N431KS02
FITTING
KN-1/4
1
N033
N431KN02
FITTING
AN15-02
1
N034
N510064385AA
SILENCER
FU07SS
1
N038
KXF023CAA00
NUT
M3X8-4.8 A2J (Trivalent)
2
N041
N510018161AA
FLUSH HEAD SCREW
M3X12-10.9 A2J (Trivalent)
8
X503
N510017308AA
HEX. SOCKET HEAD CAP BOLT
M4X6-10.9 A2J (Trivalent)
2
X504
N510017376AA
HEX. SOCKET HEAD CAP BOLT
M5X16-10.9 A2J (Trivalent)
4
X509
N510017395AA
HEX. SOCKET HEAD CAP BOLT
M6X16-10.9 A2J (Trivalent)
2
X512
N510017433AA
HEX. SOCKET HEAD CAP BOLT
M6X20-10.9 A2J (Trivalent)
2
X513
N510017435AA
HEX. SOCKET HEAD CAP BOLT
M6X25-10.9 A2J (Trivalent)
10
X514
N510017437AA
HEX. SOCKET HEAD CAP BOLT
3 10H A2J (Trivalent)
2
X551
N510018478AA
ROUND PLAIN WASHER
4 10H A2J (Trivalent)
2
X562
N510018497AA
ROUND PLAIN WASHER
6 10H A2J (Trivalent)
6
X564
N510018501AA
ROUND PLAIN WASHER
M6
2
X574
N510020101AA
WASHER
M6X35-10.9 A2J (Trivalent)
4
X631
N510017440AA
HEX. SOCKET HEAD CAP BOLT
M240
FN610125387AA_16-2

部品加工部(動力部3)
PARTS PROCESS SECT.(DRIVING SECT.-3)
20
FN610125387AA_16-3
M241