RL132四跨具部品书N7203A389B44.pdf - 第621页
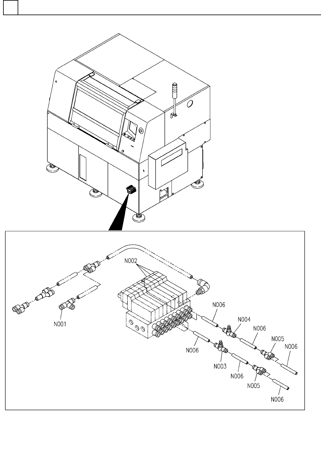
PART No. イラスト No. REF No. PART NAME REMARKS Q'TY 1 空圧制 御部(40ス テーション専用部) PNEUMA TIC SYSTEM SEC T.(40 STATIO N EXCLUSIVE SE CT.) 部 品 名 品 番 個数 備 考 R 2 R 3 R 1 1 N610094617AA PNEUMATIC UNIT KQ2P-10 1 N001 KXF0DZKSA00 PL…

空圧制御部(40ステーション専用部)
PNEUMATIC SYSTEM SECT.(40 STATION EXCLUSIVE SECT.)
1
FN610094617AA_00_B
P11

PART No.
イラスト
No.
REF
No.
PART NAME
REMARKSQ'TY
1
空圧制御部(40ステーション専用部)
PNEUMATIC SYSTEM SECT.(40 STATION EXCLUSIVE SECT.)
部 品 名品 番 個数 備 考
R
2
R
3
R
1
1
N610094617AA
PNEUMATIC UNIT
KQ2P-10
1
N001
KXF0DZKSA00
PLUG
P12
FN610094617AA_00_B

空圧制御部(80ステーション専用部)
PNEUMATIC SYSTEM SECT.(80 STATION EXCLUSIVE SECT.)
1
FN610131884AA_00
P13