RL132四跨具部品书N7203A389B44.pdf - 第367页
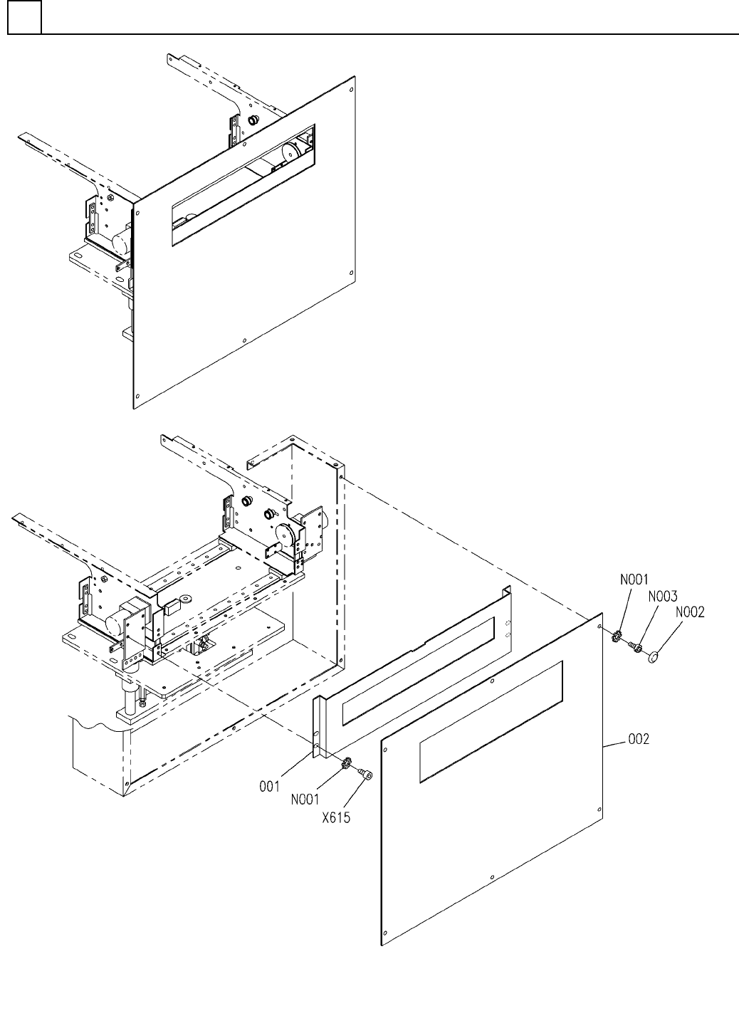
PART No. イラスト No. REF No. PART NAME REMARKS Q'TY 25 ローダ・ア ンローダ部(専 用カバー) LOADER & UNLOADER SE CT.(EXCLUSIV E COVER) 部 品 名 品 番 個数 備 考 R 2 R 3 R 1 1 N610156452AA LOADER UNL OADER COVER UNIT 1 001 N210184319AA CO…

ローダ・アンローダ部(専用カバー)
LOADER & UNLOADER SECT.(EXCLUSIVE COVER)
25
FN610156452AA_01
M333

PART No.
イラスト
No.
REF
No.
PART NAME
REMARKSQ'TY
25
ローダ・アンローダ部(専用カバー)
LOADER & UNLOADER SECT.(EXCLUSIVE COVER)
部 品 名品 番 個数 備 考
R
2
R
3
R
1
1
N610156452AA
LOADER UNLOADER COVER UNIT
1001 N210184319AA
COVER
1002 N210171369AA
COVER
5 External toothed Steel Unichrome white (Tri
10
N001
N510018765AA
TOOTHED LOCK WASHER
M5X12
6
N002
N986YYYY-814
CAP
JB-A M5X8 +
6
N003
N510038044AA
BOLT
M4X8-10.9 A2J (Trivalent)
4
X615
N510017381AA
HEX. SOCKET HEAD CAP BOLT
M334
FN610156452AA_01

基準ブロック部(C=4.0)
POSITION BLOCK SECT.(C=4.0)
26
F10203-04-290-AA_A
M335