RL132四跨具部品书N7203A389B44.pdf - 第64页
X-Yテーブル部 (テーブル部1) X-Y TABLE SECT.(TABLE SE CT.-1) 4 FN610055746AA_10-3 M31

PART No.
イラスト
No.
REF
No.
PART NAME
REMARKSQ'TY
4
X-Yテーブル部(Y軸駆動部)
X-Y TABLE SECT.(Y-AXIS DRIVING SECT.)
部 品 名品 番 個数 備 考
R
2
R
3
R
1
(MSMD082PJA) S
1
A003
N610052028AA
MOTOR
1002 N210084043AB
BRACKET(MOTOR)
1004 X01L21011
HOUSING
1
006 N210068163AB
HOLDER
1007 N210027736AA
BEARING
4008 X00K02068
STOPPER
4
009 X00K02069
COLLAR
3
012 1087104015
PLATE(Y)
1019 MTPB007040AB
COVER
1028 N210159523AA
BRACKET
P921S1
1
N011
N310P921S1
SENSOR
PANADAC921SA1
2
N012
N310P921SA1
SENSOR
SFC-040SA2-13B-19B(SWD-0000816)
1
N014
N510048358AA
COUPLING
FU02SC
1
N015
KXF0234AA00
LOCK-NUT
87FWSSB-D20.0-V15.0-T5.0
1
N016
N510034922AA
WASHER
7202ADBP5
1
N017
N510003493AA
BEARING
6202ZZ
1
N018
XLC6202ZZ
BALL BEARING
87FWSSB-D20.0-V5.0-T3.0
1
N019
N510033408AA
WASHER
LS-11S/RL S
1
N020
N510030839AA
SWITCH
V-M20
1
N021
KXF0DG3AA00
CABLE
GZ2010ES-ZAPR-0588X0509-C5F(GZ2010ES007C0000)
1
N023
N510048953AA
BALL SCREW
6X10,m6A,STEEL
5
N030
XPJ6A10FW
PARALLEL PIN
M3X5-10.9 A2J (Trivalent)
2
N503
N510017333AA
HEX. SOCKET HEAD CAP BOLT
M3X10-10.9 A2J (Trivalent)
6
N505
N510017305AA
HEX. SOCKET HEAD CAP BOLT
3 10H A2J (Trivalent)
2
N506
N510018494AA
ROUND PLAIN WASHER
No.2 3 S A2J (Trivalent)
6
N507
N510018327AA
SPRING WASHER
M4X8-10.9 A2J (Trivalent)
2
N508
N510017381AA
HEX. SOCKET HEAD CAP BOLT
M4X10-10.9 A2J (Trivalent)
12
N509
N510017344AA
HEX. SOCKET HEAD CAP BOLT
M4X30-10.9 A2J (Trivalent)
2
N512
N510017361AA
HEX. SOCKET HEAD CAP BOLT
4 10H A2J (Trivalent)
10
N513
N510018497AA
ROUND PLAIN WASHER
No.2 4 S A2J (Trivalent)
2
N514
N510018330AA
SPRING WASHER
M5X12-10.9 A2J (Trivalent)
5
N515
N510017390AA
HEX. SOCKET HEAD CAP BOLT
5 10H A2J (Trivalent)
1
N519
N510018499AA
ROUND PLAIN WASHER
M6X16-10.9 A2J (Trivalent)
4
N520
N510017433AA
HEX. SOCKET HEAD CAP BOLT
M8X30-10.9 A2J (Trivalent)
4
N524
N510017475AA
HEX. SOCKET HEAD CAP BOLT
M8X50-10.9 A2J (Trivalent)
2
N525
N510017482AA
HEX. SOCKET HEAD CAP BOLT
8 10H A2J (Trivalent)
2
N526
N510018503AA
WASHER
M30
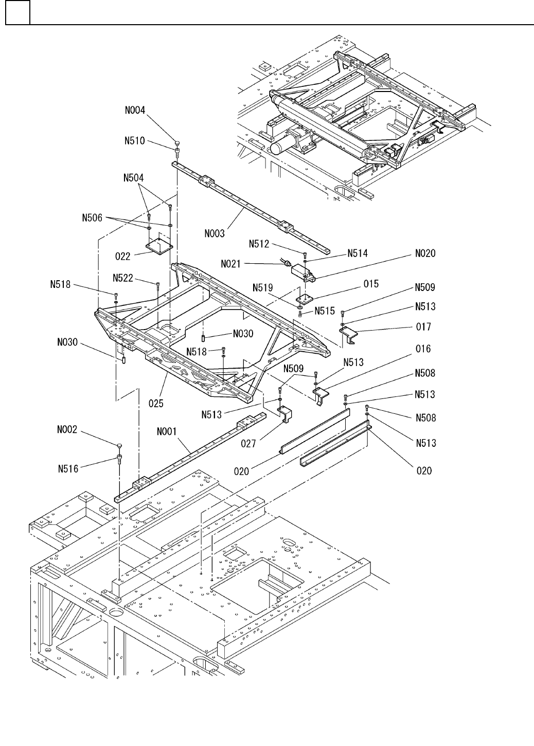
FN610055746AA_10-2

X-Yテーブル部(テーブル部1)
X-Y TABLE SECT.(TABLE SECT.-1)
4
FN610055746AA_10-3
M31

PART No.
イラスト
No.
REF
No.
PART NAME
REMARKSQ'TY
4
X-Yテーブル部(テーブル部1)
X-Y TABLE SECT.(TABLE SECT.-1)
部 品 名品 番 個数 備 考
R
2
R
3
R
1
1
015 X01L21081
PLATE
1016 1087104020
BRACKET
1017 1087104021
BRACKET
2
020 N210084054AA
COVER
1022 X01L21106
COVER
1025 N210081970AA
Y-TABLE
1
027 1087104016
DOG FOR SENSOR
SSR20XW2UUC1+1130LH-2
2
N001
N513SSR2-A44
LINEAR MOTION UNIT(Y)
C5
38
N002
N513C5
CAP
SSR15XW2UUC1+1180LHY-2
2
N003
N513SSR1-810
LINEAR MOTION UNIT(X)
C4
40
N004
N513C4
CAP
LS-11S/RL S
1
N020
N510030839AA
SWITCH
V-M20
1
N021
KXF0DG3AA00
CABLE
6X10,m6A,STEEL
4
N030
XPJ6A10FW
PARALLEL PIN
M3X8-10.9 A2J (Trivalent)
4
N504
N510017341AA
HEX. SOCKET HEAD CAP BOLT
3 10H A2J (Trivalent)
4
N506
N510018494AA
ROUND PLAIN WASHER
M4X8-10.9 A2J (Trivalent)
8
N508
N510017381AA
HEX. SOCKET HEAD CAP BOLT
M4X10-10.9 A2J (Trivalent)
6
N509
N510017344AA
HEX. SOCKET HEAD CAP BOLT
M4X16-10.9 A2J (Trivalent)
40
N510
N510017351AA
HEX. SOCKET HEAD CAP BOLT
M4X30-10.9 A2J (Trivalent)
2
N512
N510017361AA
HEX. SOCKET HEAD CAP BOLT
4 10H A2J (Trivalent)
14
N513
N510018497AA
ROUND PLAIN WASHER
No.2 4 S A2J (Trivalent)
2
N514
N510018330AA
SPRING WASHER
M5X12-10.9 A2J (Trivalent)
2
N515
N510017390AA
HEX. SOCKET HEAD CAP BOLT
M5X16-10.9 A2J (Trivalent)
38
N516
N510017395AA
HEX. SOCKET HEAD CAP BOLT
M5X30-10.9 A2J (Trivalent)
16
N518
N510017401AA
HEX. SOCKET HEAD CAP BOLT
5 10H A2J (Trivalent)
2
N519
N510018499AA
ROUND PLAIN WASHER
M6X25-10.9 A2J (Trivalent)
4
N522
N510017437AA
HEX. SOCKET HEAD CAP BOLT
M32
FN610055746AA_10-3