RL132四跨具部品书N7203A389B44.pdf - 第293页
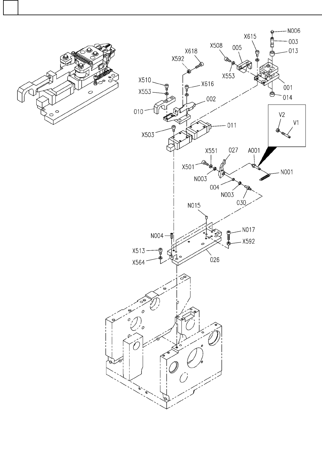
PART No. イラスト No. REF No. PART NAME REMARKS Q'TY 20 部品加 工部(Vカッ ト部(4P)1) PART P ROCESS SECT. ( V-CUT SECT.( 4P)-1) 部 品 名 品 番 個数 備 考 R 2 R 3 R 1 1 N610130477AA PARTS PROC ESS UNIT 1 A001 N610134299AA POST 1 001 N21014…

部品加工部(Vカット部(4P)1)
PART PROCESS SECT. (V-CUT SECT.(4P)-1)
20
FN610130477AA_06-1
M259

PART No.
イラスト
No.
REF
No.
PART NAME
REMARKSQ'TY
20
部品加工部(Vカット部(4P)1)
PART PROCESS SECT. (V-CUT SECT.(4P)-1)
部 品 名品 番 個数 備 考
R
2
R
3
R
1
1
N610130477AA
PARTS PROCESS UNIT
1
A001
N610134299AA
POST
1001 N210149186AA
BLOCK
1
002 N210131188AC
PUSHER
2003 X02G13105
PIN
1004 X02G13111
COLLAR
1
005 X01L1300201
FORK
1
010 X01A13001
HOOK
1011 N210156839AA
GUIDE
2013 X01A13014
BUSHING
2
014 X01A13016
BUSHING
1
026 N210108085AA
PLATE
1027 N210130940AB
LEVER
1030 N210088893AB
PIN
6566
1
N001
N9866566
SPRING
MR95ZZ1
2
N003
N510001936AA
BEARING
SPP4-15
2
N004
KXF052RAA00
PIN
NP3.2X3.5
2
N006
N560NP3.23.5
GREASE NIPPLE
MMS4-10
2
N015
N986MMS410
PIN
M4X20-6g 4T A2J (Trivalent)
1
N017
N510017729AA
HEXAGON HEAD BOLT
M3X5-10.9 A2J (Trivalent)
1
X501
N510017333AA
HEX. SOCKET HEAD CAP BOLT
M3X12-10.9 A2J (Trivalent)
3
X503
N510017308AA
HEX. SOCKET HEAD CAP BOLT
M4X8-10.9 A2J (Trivalent)
4
X615
N510017381AA
HEX. SOCKET HEAD CAP BOLT
M4X12-10.9 A2J (Trivalent)
4
X616
N510017346AA
HEX. SOCKET HEAD CAP BOLT
M4X25-10.9 A2J (Trivalent)
1
X618
N510017359AA
HEX. SOCKET HEAD CAP BOLT
M5X12-10.9 A2J (Trivalent)
2
X508
N510017390AA
HEX. SOCKET HEAD CAP BOLT
M5X20-10.9 A2J (Trivalent)
2
X510
N510017398AA
HEX. SOCKET HEAD CAP BOLT
M6X20-10.9 A2J (Trivalent)
2
X513
N510017435AA
HEX. SOCKET HEAD CAP BOLT
6 10H A2J (Trivalent)
2
X564
N510018501AA
ROUND PLAIN WASHER
3 10H A2J (Trivalent)
1
X551
N510018478AA
ROUND PLAIN WASHER
5 10H A2J (Trivalent)
4
X553
N510018480AA
ROUND PLAIN WASHER
M4-6H-4T A2J (Trivalent)
2
X592
N510017855AA
HEXAGON NUT
SPOS-M4X30-B
1
V 1 N510060301AA
POST
M4,1-TYPE,STAINLESS(SUS304)
1
V 2 XNG4AVW
HEXAGON NUT
M260
FN610130477AA_06-1

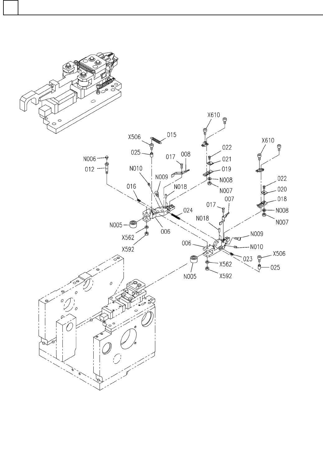
部品加工部(Vカット部(4P)2)
PART PROCESS SECT. (V-CUT SECT.(4P)-2)
20
FN610130477AA_06-2
M261