RL132四跨具部品书N7203A389B44.pdf - 第171页
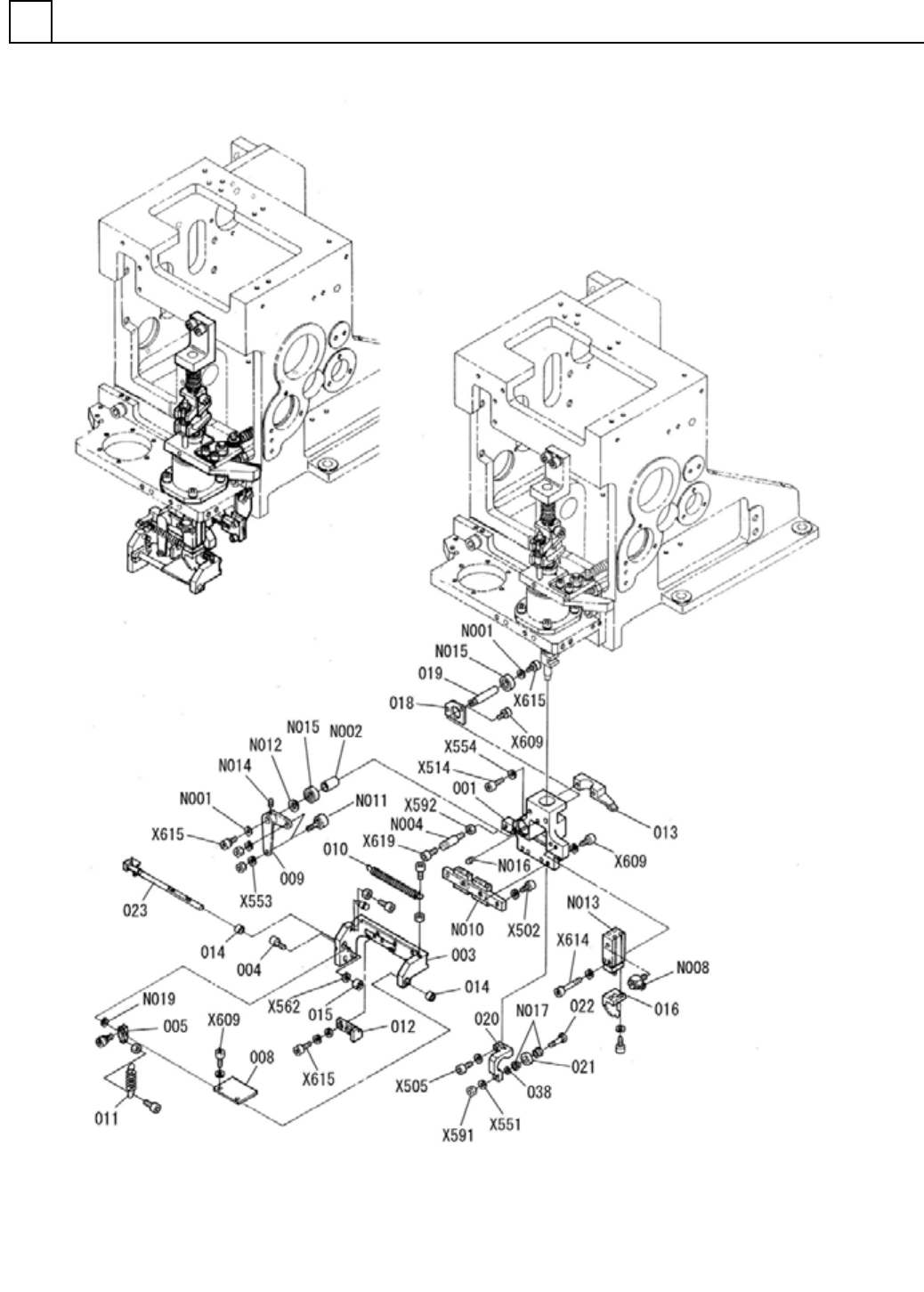
PART No. イラスト No. REF No. PART NAME REMARKS Q'TY 8 挿入部 (移シ替エ ヘッド部1) INSERT SECT.(TRANSFE R HEAD SECT. -1) 部 品 名 品 番 個数 備 考 R 2 R 3 R 1 1 N610129110AA INSERTION UNIT 1 001 N210156178AB FRAME 1 003 X02G44103 FRAME 1 …

挿入部(移シ替エヘッド部1)
INSERT SECT.(TRANSFER HEAD SECT.-1)
8
FN610129110AA_12-1
M137

PART No.
イラスト
No.
REF
No.
PART NAME
REMARKSQ'TY
8
挿入部(移シ替エヘッド部1)
INSERT SECT.(TRANSFER HEAD SECT.-1)
部 品 名品 番 個数 備 考
R
2
R
3
R
1
1
N610129110AA
INSERTION UNIT
1001 N210156178AB
FRAME
1003 X02G44103
FRAME
1
004 X02G44105
PIN
1005 X02G44108
LEVER
1008 X01L4400701
PLATE
1
009 X01L44008
LEVER
1
010 N210145701AA
SPRING
1011 X01L44015
SPRING
1012 X01L44016
BLOCK
1
013 X01A4401401
HOLDER
2
014 X01A44021
BUSHING
1015 X01A44023
NUT
1016 X01A4402601
PUSHER
1
018 N210156179AA
BOARD
1019 X01A44042
PIN
1020 N210134223AA
PUSHER
1
021 N210066424AA
ROLLER
1
022 X01A44047
PIN
1023 N210065175AA
CLAW
1038 N210065178AA
WASHER
SWA-4-10-2-AW
2
N001
MTNK002066AA
WASHER
1
N002
N210158613AA
COLLAR
CU-415PH
1
N004
N510060409AA
SPACER
M-5HL-6-X83
1
N008
N510067307AA
JOINT
2SRS7WMUU+110LM(03179591K000)
1
N010
MTNB000092AA
LINEAR WAY
CFS5V
2
N011
KXF0A4EAA00
CAM FOLLOWER
WR9
1
N012
N508WR9N
CLIP
5S-M9NS-X1391
1
N013
N401CDUK-J57
CYLINDER
M4X4-45H A2J (Trivalent)
2
N014
N510018370AA
HEX. SOCKET SET SCREW
608ZZ1MC3E NS7S
2
N015
N510063077AA
BEARING
NP3.2X3.5
1
N016
N560NP3.23.5
GREASE NIPPLE
DDLF-630ZZ H P0P25LY72
2
N017
N510003597AA
BEARING
MMSRB6.5-0.5
1
N019
N510021281AA
WASHER
M3X8-10.9 A2J (Trivalent)
6
X502
N510017341AA
HEX. SOCKET HEAD CAP BOLT
M4X10-10.9 A2J (Trivalent)
1
X505
N510017344AA
HEX. SOCKET HEAD CAP BOLT
M6X25-10.9 A2J (Trivalent)
2
X514
N510017437AA
HEX. SOCKET HEAD CAP BOLT
3 10H A2J (Trivalent)
2
X551
N510018478AA
ROUND PLAIN WASHER
5 10H A2J (Trivalent)
4
X553
N510018480AA
ROUND PLAIN WASHER
6 10H A2J (Trivalent)
2
X554
N510018481AA
ROUND PLAIN WASHER
4 10H A2J (Trivalent)
1
X562
N510018497AA
ROUND PLAIN WASHER
M3-6H-4T A2J (Trivalent)
1
X591
N510017849AA
HEXAGON NUT
M4-6H-4T A2J (Trivalent)
1
X592
N510017855AA
HEXAGON NUT
M3X6-10.9 A2J (Trivalent)
14
X609
N510017337AA
HEX. SOCKET HEAD CAP BOLT
M3X30-10.9 A2J (Trivalent)
2
X614
N510017323AA
HEX. SOCKET HEAD CAP BOLT
M4X8-10.9 A2J (Trivalent)
6
X615
N510017381AA
HEX. SOCKET HEAD CAP BOLT
M4X30-10.9 A2J (Trivalent)
1
X619
N510017361AA
HEX. SOCKET HEAD CAP BOLT
M138
FN610129110AA_12-1

挿入部(移シ替エヘッド部2)
INSERT SECT.(TRANSFER HEAD SECT.-2)
8
FN610129110AA_12-2
M139