RL132四跨具部品书N7203A389B44.pdf - 第461页
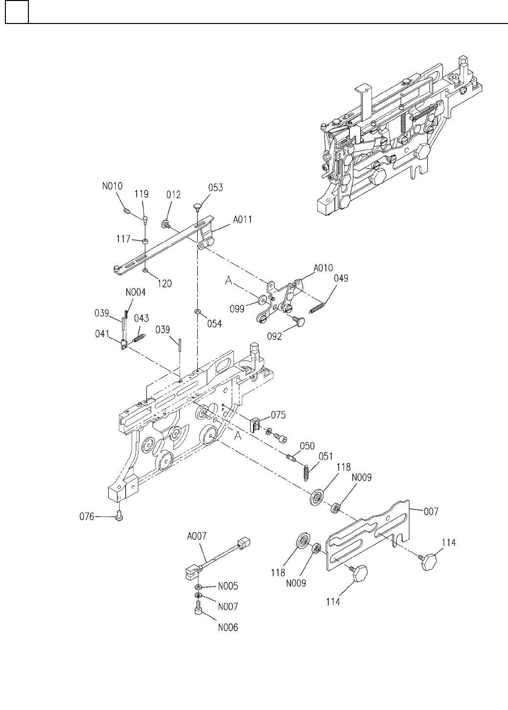
PART No. イラスト No. REF No. PART NAME REMARKS Q'TY 28 テープフィ ーダ部(15 .0X7.5(2) ) TAPE F EEDER SECT.(15 .0X7.5(2)) 部 品 名 品 番 個数 備 考 R 2 R 3 R 1 1 A007 N610071899AA SENSOR UNI T 1 A010 N610026102AA LEVER UNIT 1 A011 N61…

テープフィーダ部(15.0X7.5(2))
TAPE FEEDER SECT.(15.0X7.5(2))
28
FN610071920AA_05-2
M427

PART No.
イラスト
No.
REF
No.
PART NAME
REMARKSQ'TY
28
テープフィーダ部(15.0X7.5(2))
TAPE FEEDER SECT.(15.0X7.5(2))
部 品 名品 番 個数 備 考
R
2
R
3
R
1
1
A007
N610071899AA
SENSOR UNIT
1
A010
N610026102AA
LEVER UNIT
1
A011
N610026103AA
SLIDER UNIT
1
007 X01A38507
CAM
1012 X01A38012
PIN
3039 X01A38039
PIN
1
041 X01A3804102
CLAW
1
043 X01A38043
SPRING
1049 X01A38049
SPRING
1050 X01A38050
PIN
1
051 MTPA011972AA
SPRING
2
053 X01A38053
PIN
2054 X01A38054
SPACER
1075 X01A3807502
STOPPER
1
076 X01A38076
PIN
1092 X01A38092
PIN
1099 X01A38099
SPACER
2
114 X01A38114
PIN
1
117 X01A38117
ROLLER
2118 X01A38118
SPACER
1119 X01A3811901
PIN
1
120 X01A38120
SPACER
1.2X5
1
N004
XPL12A5WFW
SPRING PIN
2 10H A2J (Trivalent)
1
N005
N510018477AA
ROUND PLAIN WASHER
M2X8-10.9 A2J (Trivalent)
1
N006
N510017261AA
HEX. SOCKET HEAD CAP BOLT
No.2 2 S A2J (Trivalent)
1
N007
N510018324AA
SPRING WASHER
L-1260ZZ
2
N009
KXF02F9AA00
BEARING
M2X2-45H A2J (Trivalent)
1
N010
N510018353AA
HEX. SOCKET SET SCREW
M428
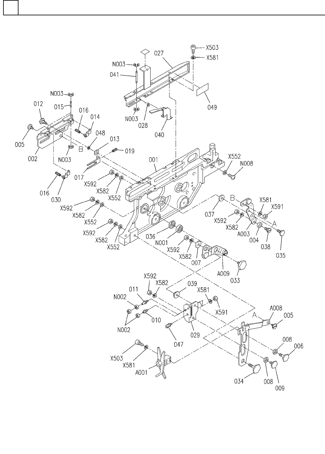
FN610071920AA_05-2

テープフィーダ部(15.0X10.0(1))
TAPE FEEDER SECT.(15.0X10.0(1))
28
FN610101850AA_06-1
M429