RL132四跨具部品书N7203A389B44.pdf - 第44页
本体部( アッパフレーム 部)(40ステーション ) MAIN B ODY SECT.(UPPE R FRAME SECT .)(40 STATION) 1 FN610123553AA_06 M11

PART No.
イラスト
No.
REF
No.
PART NAME
REMARKSQ'TY
1
本体部(3)
MAIN BODY SECT.(3)
部 品 名品 番 個数 備 考
R
2
R
3
R
1
1
001 N210145899AB
PLATE
1002 N210156009AB
COVER
1012 N210155359AA
BLOCK
2
015 N210155523AA
BRACKET
M8-6H-4T A2J (Trivalent)
3
N003
N510017879AA
HEXAGON NUT
M8X25-10.9 A2J (Trivalent)
5
X517
N510017473AA
HEX. SOCKET HEAD CAP BOLT
4 10H A2J (Trivalent)
3
X552
N510018479AA
ROUND PLAIN WASHER
5 10H A2J (Trivalent)
6
X553
N510018480AA
ROUND PLAIN WASHER
6 10H A2J (Trivalent)
6
X554
N510018481AA
ROUND PLAIN WASHER
M4X12-10.9 A2J (Trivalent)
3
X616
N510017346AA
HEX. SOCKET HEAD CAP BOLT
M5X10-10.9 A2J (Trivalent)
6
X622
N510017386AA
HEX. SOCKET HEAD CAP BOLT
M6X40-10.9 A2J (Trivalent)
4
X632
N510017442AA
HEX. SOCKET HEAD CAP BOLT
M10
FN610141428AA_12-3

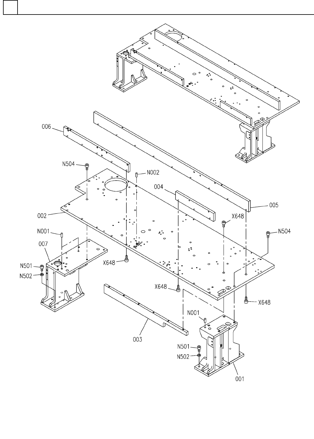
本体部(アッパフレーム部)(40ステーション)
MAIN BODY SECT.(UPPER FRAME SECT.)(40 STATION)
1
FN610123553AA_06
M11

PART No.
イラスト
No.
REF
No.
PART NAME
REMARKSQ'TY
1
本体部(アッパフレーム部)(40ステーション)
MAIN BODY SECT.(UPPER FRAME SECT.)(40 STATION)
部 品 名品 番 個数 備 考
R
2
R
3
R
1
1
N610123553AA
MAIN BODY UNIT
1001 N210150063AC
ARM(RIGHT)
1002 N210147243AG
PLATE
1
003 N210145726AA
RIB
1004 N210088041AA
PLATE
1005 N210088043AB
PLATE
1
006 N210154605AA
PLATE
1
007 N210150064AD
ARM(LEFT)
MMS10-40
3
N001
N510020647AA
PIN
MMS8-15
3
N002
N510020629AA
PIN
M12X35-10.9 A2J (Trivalent)
7
N501
N510017190AA
HEX. SOCKET HEAD CAP BOLT
12 10H A2J (Trivalent)
7
N502
N510018507AA
WASHER
M12X25-10.9 A2J (Trivalent)
9
N504
N510017188AA
HEX. SOCKET HEAD CAP BOLT
M10X25-10.9 A2J (Trivalent)
23
X648
N510017166AA
HEX. SOCKET HEAD CAP BOLT
M12
FN610123553AA_06