RL132四跨具部品书N7203A389B44.pdf - 第147页
PART No. イラスト No. REF No. PART NAME REMARKS Q'TY 7 挿入ヘッ ド部(挿入 動力部5) INSERT ION HEAD SECT. (INSERTION P OWER SECT.-5) 部 品 名 品 番 個数 備 考 R 2 R 3 R 1 4 009 N210181123AA SPRING 1 011 N210181558AB BRACKET 8 012 N21018112…

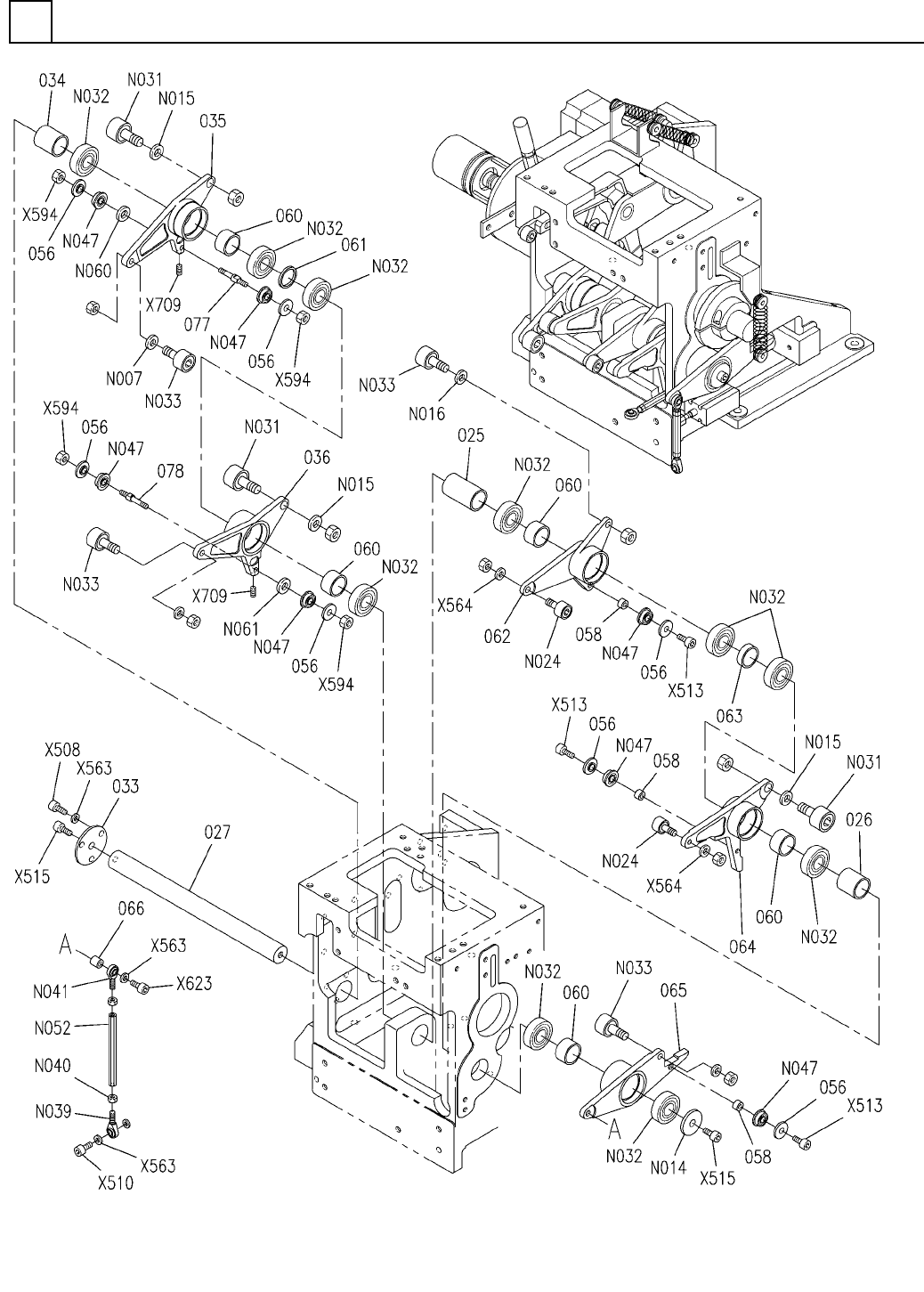
挿入ヘッド部(挿入動力部5)
INSERTION HEAD SECT.(INSERTION POWER SECT.-5)
7
FN610129985AA_16-5
M113

PART No.
イラスト
No.
REF
No.
PART NAME
REMARKSQ'TY
7
挿入ヘッド部(挿入動力部5)
INSERTION HEAD SECT.(INSERTION POWER SECT.-5)
部 品 名品 番 個数 備 考
R
2
R
3
R
1
4
009 N210181123AA
SPRING
1011 N210181558AB
BRACKET
8012 N210181124AA
HOOK
1
030 N210092176AA
BRACKET
1047 N210092179AA
SPRING
1048 N210092180AA
SPRING
6
056 N210172273AA
WASHER
6
058 N210084980AA
COLLAR
F696ZZIMC3PS2S
6
N047
N510020363AA
BEARING
M5X16-10.9 A2J (Trivalent)
2
X509
N510017395AA
HEX. SOCKET HEAD CAP BOLT
M6X20-10.9 A2J (Trivalent)
2
X513
N510017435AA
HEX. SOCKET HEAD CAP BOLT
5 10H A2J (Trivalent)
2
X563
N510018499AA
ROUND PLAIN WASHER
M5
2
X573
N510020100AA
WASHER
M6-6H-4T A2J (Trivalent)
4
X594
N510017867AA
HEXAGON NUT
M5X25-10.9 A2J (Trivalent)
2
X623
N510017399AA
HEX. SOCKET HEAD CAP BOLT
M6X40-10.9 A2J (Trivalent)
2
X632
N510017442AA
HEX. SOCKET HEAD CAP BOLT
M114
FN610129985AA_16-5

挿入ヘッド部(挿入動力部6)
INSERTION HEAD SECT.(INSERTION POWER SECT.-6)
7
FN610129985AA_16-6
M115