RL132四跨具部品书N7203A389B44.pdf - 第92页
カバー部(フロントカ バー部4) COVER SECT.(FRONT CO VER SECT.-4) 6 FMTKA005767AA_02-4 M59

PART No.
イラスト
No.
REF
No.
PART NAME
REMARKSQ'TY
6
カバー部(フロントカバー部3)
COVER SECT.(FRONT COVER SECT.-3)
部 品 名品 番 個数 備 考
R
2
R
3
R
1
1
010 N210071790AA
PLATE
2011 N210071791AA
BRACKET
1015 N210093677AB
COVER
EL-10
1
N004
N348EL10
BUSHING FOR WIRING
M5X8-10.9 A2J (Trivalent)
10
X507
N510017419AA
HEX. SOCKET HEAD CAP BOLT
5 10H A2J (Trivalent)
10
X563
N510018499AA
ROUND PLAIN WASHER
M58
FMTKA005767AA_02-3

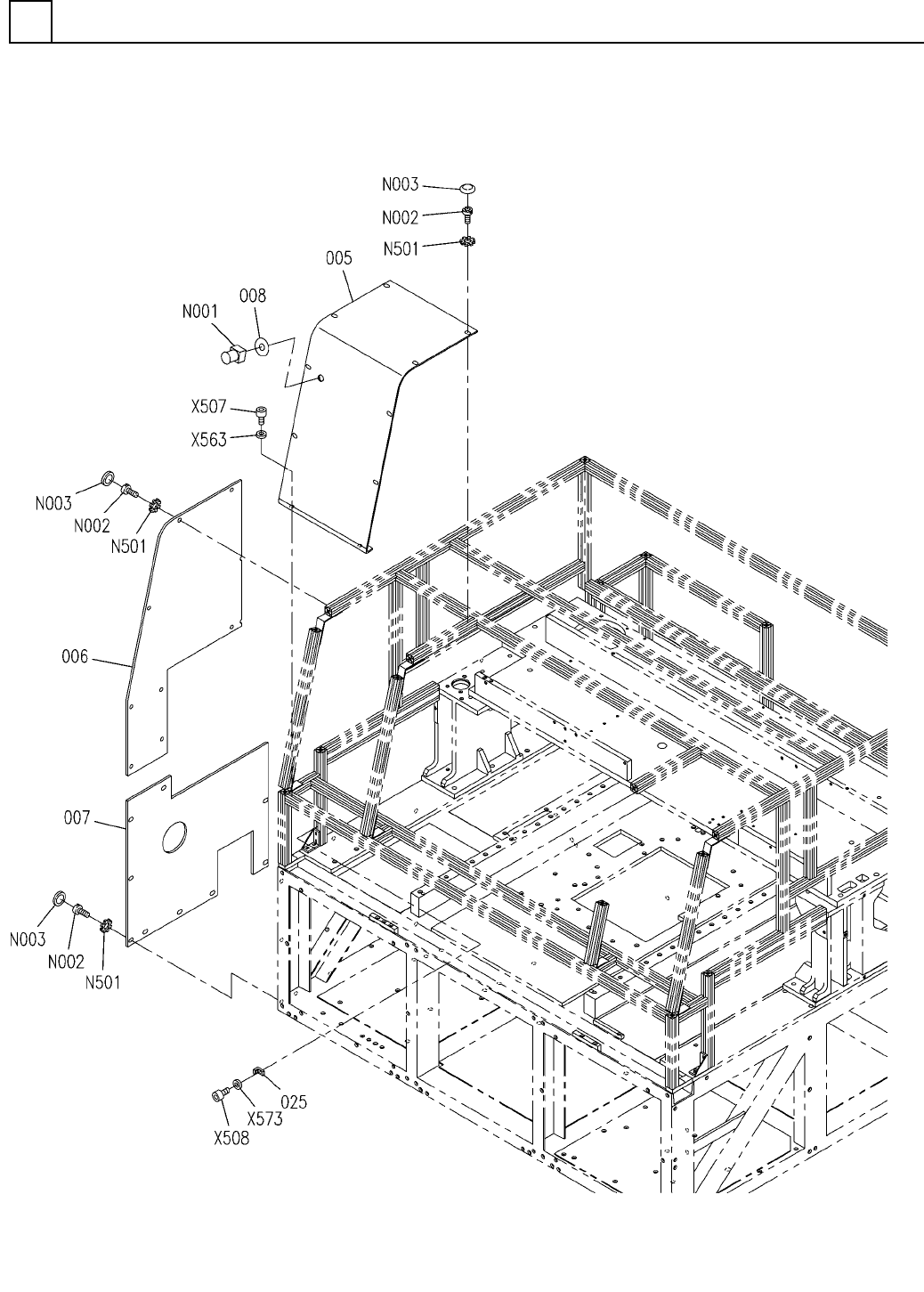
カバー部(フロントカバー部4)
COVER SECT.(FRONT COVER SECT.-4)
6
FMTKA005767AA_02-4
M59

PART No.
イラスト
No.
REF
No.
PART NAME
REMARKSQ'TY
6
カバー部(フロントカバー部4)
COVER SECT.(FRONT COVER SECT.-4)
部 品 名品 番 個数 備 考
R
2
R
3
R
1
1
005 N210177178AA
COVER
1006 N210174675AA
COVER
1007 N210182278AA
COVER
1
008 3086239031
LABEL
1025 N210175373AA
BRACKET
XW1E-BV402MFR-TK2377 S
1
N001
N510011524AA
SWITCH
JB-A M5X8 +
26
N002
N510038044AA
BOLT
M5X12
26
N003
N986YYYY-814
CAP
5 External toothed Steel Unichrome white (Tri
26
N501
N510018765AA
TOOTHED LOCK WASHER
M5X8-10.9 A2J (Trivalent)
2
X507
N510017419AA
HEX. SOCKET HEAD CAP BOLT
M5X12-10.9 A2J (Trivalent)
1
X508
N510017390AA
HEX. SOCKET HEAD CAP BOLT
5 10H A2J (Trivalent)
2
X563
N510018499AA
ROUND PLAIN WASHER
M5
1
X573
N510020100AA
WASHER
M60
FMTKA005767AA_02-4