RL132四跨具部品书N7203A389B44.pdf - 第342页
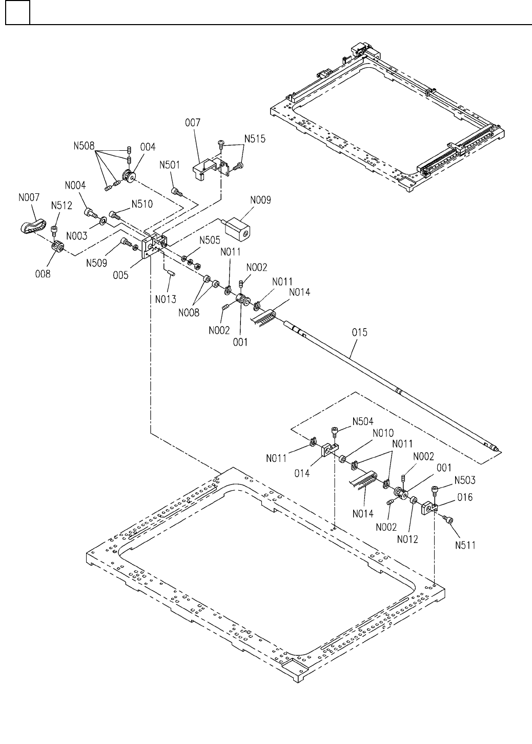
X-Yテーブ ル部(自動 幅寄せ部1) X-Y TA BLE SECT.(AUTO WIDTH CONTR OL SECT.-1) 24 FN610130241AA_04-1 M309

PART No.
イラスト
No.
REF
No.
PART NAME
REMARKSQ'TY
24
X-Yテーブル部(自動幅寄せレバー部(D=6.0))
X-Y TABLE SECT.(AUTO WIDTH CONTROL LEVER SECT.(D=6.0))
部 品 名品 番 個数 備 考
R
2
R
3
R
1
1
N610061658AA
LEVER UNIT
1001 N210077742AB
LEVER
1002 N210076925AA
LEVER(RIGHT)
M308
FN610061658AA_02

X-Yテーブル部(自動幅寄せ部1)
X-Y TABLE SECT.(AUTO WIDTH CONTROL SECT.-1)
24
FN610130241AA_04-1
M309

PART No.
イラスト
No.
REF
No.
PART NAME
REMARKSQ'TY
24
X-Yテーブル部(自動幅寄せ部1)
X-Y TABLE SECT.(AUTO WIDTH CONTROL SECT.-1)
部 品 名品 番 個数 備 考
R
2
R
3
R
1
1
N610130241AA
AUTO WIDTH CONTROL UNIT
2001 108710410102
PULLEY
1004 108710410403
PULLEY
1
005 108710410502
BRACKET(MOTOR)
1007 108710410703
COVER(MOTOR)
1008 108710410802
PULLEY
1
014 1087104114
BRACKET
1
015 N210068290AA
SHAFT
1016 N210068283AA
BRACKET
M3X5,STEEL,P.C
4
N002
XXE3C5FP
HEX. SOCKET SET SCREW
87FWSSB-D10.0-V6.0-T3.0
1
N003
N510028564AA
WASHER
CF6A
1
N004
N531CF6A
CAM FOLLOWER
196-2GT-9
1
N007
N6411962GT9
BELT
F688AZZ1
2
N008
KXF0DYPHA00
BEARING
103H5331-03GXF4 S
1
N009
N510028188AA
MOTOR
688AZZ1
1
N010
KXF0E2FJA00
BEARING
STW-8
5
N011
KXF04D1AA00
RETAINING RING C-TYPE,SHAFT
606ZZ
1
N012
KXF00KFAA00
BALL BEARING
3X8,m6A,STEEL
1
N013
XPJ3A8FW
PARALLEL PIN
994-2GT-9
2
N014
N6419942GT9
BELT(TIMING)
M3X8-10.9 A2J (Trivalent)
2
N501
N510017341AA
HEX. SOCKET HEAD CAP BOLT
M4X12-10.9 A2J (Trivalent)
2
N503
N510017346AA
HEX. SOCKET HEAD CAP BOLT
M4X20-10.9 A2J (Trivalent)
2
N504
N510017354AA
HEX. SOCKET HEAD CAP BOLT
6 10H A2J (Trivalent)
1
N505
N510018501AA
ROUND PLAIN WASHER
M3X4-45H A2S (Trivalent)
4
N508
N510018421AA
HEX. SOCKET SET SCREW
M5X16-10.9 A2J (Trivalent)
2
N509
N510017395AA
HEX. SOCKET HEAD CAP BOLT
M3X12-10.9 A2J (Trivalent)
2
N510
N510017308AA
HEX. SOCKET HEAD CAP BOLT
M4X8-10.9 A2J (Trivalent)
1
N511
N510017381AA
HEX. SOCKET HEAD CAP BOLT
M3X10-10.9 A2J (Trivalent)
2
N512
N510017305AA
HEX. SOCKET HEAD CAP BOLT
M3X6-4.8 A2J (Trivalent)
3
N515
N510018253AA
TRUSS HEAD SCREW
M310
FN610130241AA_04-1