FX-2操作手册.pdf - 第189页
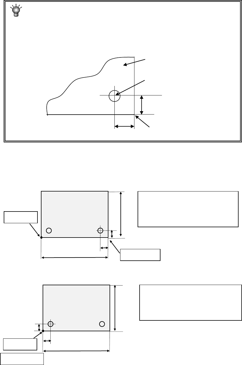
操作手册Ⅱ 通常, 基准孔中心位于从基板角开始 X ,Y 均为± 5 mm 的位置。 因此, 在 “定位孔 位置”与基板原点相同的情况下,基板原点和“基板端点”的尺寸差在 X,Y 的 值都是± 5mm 。 前面为基准,左→右的情况下 基板 定位孔位置(=基板原点) 5mm 基板端点 例)下面是将左下角定为基板原点(单位 mm )的示例。 ①前面基准、左→右 125 5 5 165 ②前 面 基准、右→左 125 5 5 165 5mm …

操作手册Ⅱ
2)
定位孔位置
输入从基板原点到基准针的位置。
(在基本设置中的定位方式采用外形基准时,没有必要设定定位孔位置。)
因使用 CAD 数据、以特定的原点(CAD 原点、或公司特有的原点)作为基板原点时,请输入
该项特定值(即 CAD 等决定的从基板原点到基准位置的尺寸)。
※在基板原点与基准位置一致的情况下,输入定位孔位置的 X,Y 坐标(0,0)。
3)
基板设计偏移量
输入从基板原点到基板端点的位置。
因使用 CAD 数据、以特定的原点(CAD 原点、或公司特有的原点)作为基板原点时,请输入
该项特定值(即 CAD 等决定的从基板原点到基准位置—基板端点的尺寸)。
传送以前面为基准、基板的传送方向
为左→右时,左图的定位孔就是基准
位置。
基板原点位于基板左下角时,要输入
定位孔位置
X,Y 坐标的值 Xa、Ya(X,
Y
都是正值)。
基板原点
基准位置
基板
Xa
Ya
在传送以前面为基准,基板的传
送方向是左→右时,如果把基板
左下角作为基板位置基准(基板
原点),应输入基板设计偏移的
X,Y
各自的坐标(Xb、0)値。
Xb 是正值。
基板位置基准
基板端点
基板
Yb=0
Xb
3-13

操作手册Ⅱ
通常,基准孔中心位于从基板角开始 X,Y 均为±5mm 的位置。因此,在“定位孔
位置”与基板原点相同的情况下,基板原点和“基板端点”的尺寸差在 X,Y 的
值都是±5mm。
前面为基准,左→右的情况下
基板
定位孔位置(=基板原点)
5mm
基板端点
例)下面是将左下角定为基板原点(单位 mm)的示例。
①前面基准、左→右
125
5
5
165
②前
面
基准、右→左
125
5
5
165
5mm
基板外形尺寸
X=165 Y=125
定位孔位置
X=5 Y=5
基板设计偏移量
X=0 Y=0
基板位置基准
基板端点
基板外形尺寸
X=165 Y=125
定位孔位置
X=160 Y=5
基板设计偏移量
X=165 Y=0
基板位置基准
基板端点
3-14

操作手册Ⅱ
4)
BOC 标记位置
输入从基板原点到各 BOC 标记中心位置的尺寸,进行标记形状的示教。
BOC 标记需要 2 点或 3 点。标记的识别条件,必须要示教。
将光标移动到( )内,执行示教。标记的识别条件如果已示教完成,( )内即显示“*”。
关于示教的方法,请参见“3-9-2 示教”。
当基本设置中[BOC 种类]为[不使用]时,则显示浅色。
输入 X,Y 坐标。 选择此处,用 HOD 进行标记形状示教。
◆
使用 2 点时
:可以校正设计尺寸和实际尺寸(测量尺寸)的差距、旋转方向的误差。
第 3 点空着。如果基板上有多个标记,请照顾整个贴片范围,选择对角线上的 2 点。
◆
使用 3 点时
:除上述情况与 2 点相同外,还可以校正 X 轴和 Y 轴直角的倾斜。
在有标记坐标设计值(CAD 数据)的情况下,一定不要进行 X,Y 坐标示教。
示教会使贴片坐标全部偏离设计值。
为防止人身伤害,示教中不要将手伸进设备内部,脸和头部也不要靠近。
注意
注意
3-15