00195962-02_MM SWS-DE.pdf - 第37页
Instandhaltungsanleitung SIPLACE Wafer System 2 Alles für die Instandhaltung Ausgabe 08/2011 DE 2.8 Instandhaltungsarbeiten am Ausstechsystem (D ie-Ejector) 37 2.8.9 V akuumdichtigkeit am Ausstechsystem testen 2 2 Um ein…

2 Alles für die Instandhaltung Instandhaltungsanleitung SIPLACE Wafer System
2.8 Instandhaltungsarbeiten am Ausstechsystem (Die-Ejector) Ab Softwareversion SR.604 CA.xx Ausgabe 08/2011 DE
36
2.8.8 Verdreh-Arretierung auf Leichtgängigkeit prüfen
2
2
Die Verdreh-Arretierung, die das Nadelsystem fixiert, muss leichtgängig drehbar sein. Das einge-
setzte Nadelsystem muss sicher in der Arretierung sitzen. 2
2
Intervall: 2 6-monatlich 2
Arbeitsmittel: 2 keine 2
2 2
2
Legende
(1) Verdreh-Arretierung offen
(2) Verdreh-Arretierung mit fixiertem Niederhalter-Pin
Prüfen Sie, ob die Verdreh-Arretierung frei von Fremdkörpern ist und entfernen Sie diese
gegebenenfalls.
Setzen Sie das Nadelsystem senkrecht in die Verdreh-Arretierung ein.
Drehen Sie die Verdreh-Arretierung gegen den Uhrzeigersinn, bis der Niederhalter-Pin
korrekt fixiert wird (2).
1
1
2

Instandhaltungsanleitung SIPLACE Wafer System 2 Alles für die Instandhaltung
Ausgabe 08/2011 DE 2.8 Instandhaltungsarbeiten am Ausstechsystem (Die-Ejector)
37
2.8.9 Vakuumdichtigkeit am Ausstechsystem testen
2
2
Um einen Vakuumverlust am Ausstoßsystem auszuschließen muss dessen Vakuumwert regel-
mäßig überprüft werden. 2
VORSICHT
Für diese Überprüfung ist das Bediener-Level Service in der SWS GUI erforderlich. Sie darf nur
von entsprechend geschultem Personal vorgenommen werden. 2
Das SWS muss eingeschaltet sein und die entsprechende Schutzhaube geöffnet werden. 2
Die Stromversorgung der Portalachsen und der SWS-Achsen wird sofort unterbrochen. Die Por-
talachsen und alle Achsen des SWS bleiben stehen. Am Bildschirm wird eine entsprechende Mel-
dung ausgegeben. Übergehen Sie diese Meldung. 2
Wechseln Sie in die Ansicht Service -> USB outputs und schalten Sie alle Vakuum-Ver-
braucher aus.
Wechseln Sie in die Ansicht Service -> USB programs und lesen Sie den Haupt-Vakuum-
wert unter Main Vacuum [mbar] ab.
Der Wert sollte ca. 700 mbar betragen.
Legen Sie eine Folie auf das Ausstechsystem, so dass alle Öffnungen verschlossen sind.
Wechseln Sie in der SWS GUI in die Ansicht Service -> Galil IOs -> Registerkarte Galil Out-
puts.
Schalten Sie mit dem Button D010 VacuumDieEjector das Vakuum des Die Ejectors ein.
Die aufgelegte Folie wird angesogen.
Wechseln Sie wieder in die Ansicht Service -> USB programs und lesen Sie den Haupt-
Vakuumwert unter Main Vacuum [mbar] ab.
Der Wert sollte möglichst den vorher angezeigten erreichen, d. h., keine Verluste aufweisen.
Wenn der Wert erheblich niedriger ist, muss ggf. die Lippendichteinheit getauscht werden
(siehe Serviceanleitung).
Intervall: 2 6-monatlich 2
Arbeitsmittel: 2 SWS GUI 2

2 Alles für die Instandhaltung Instandhaltungsanleitung SIPLACE Wafer System
2.8 Instandhaltungsarbeiten am Ausstechsystem (Die-Ejector) Ab Softwareversion SR.604 CA.xx Ausgabe 08/2011 DE
38
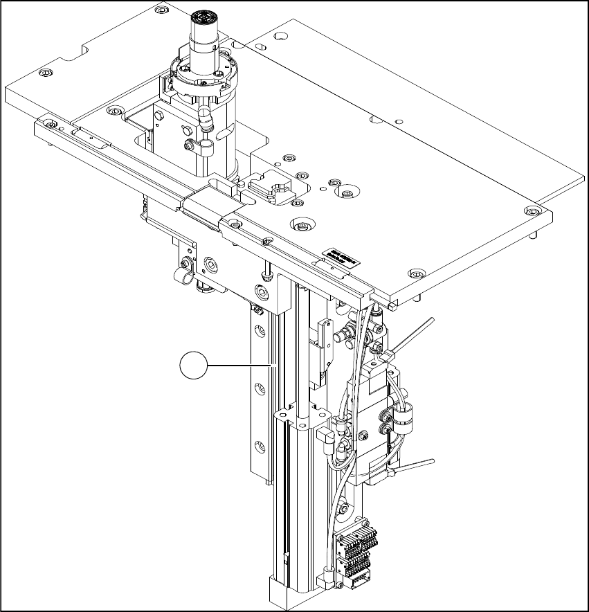
2.8.10 Linearführung des Ausstechsystems reinigen
2
2
Die Linearführung des Ausstechsystems ist im Prinzip wartungsfrei. Wenn das Ausstechsystem
zu Servicezwecken aus dem Bestücker ausgebaut wird (siehe Serviceanleitung), sollte sie auf
Verschmutzung kontrolliert und ggf. mit einem SIPLACE-Reinigungstuch abgewischt werden.
2
Abb. 2.8 - 3 Linearführung der Ausstecheinheit (linker Stellplatz)
Wischen Sie die Linearführung mit einem SIPLACE-Reinigungstuch ab.
Intervall: 2 Bei Ausbau, ca. 1-Jahr 2
Arbeitsmittel: 2 SIPLACE-Reinigungstuch 2
1