444CEOM1-CM202.pdf - 第38页
Page 26 SAFETY PRECAUTIONS Be sure to observe The positions of danger labels on the front side 4V4C-AA00 Inside CM201-DH (Caution labels) The following danger labels are pasted on this machine. Follow the instructions on…

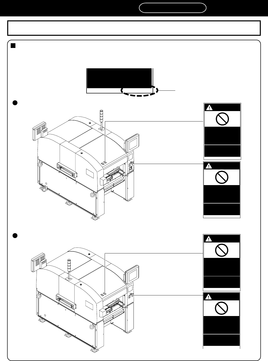
Page 25
SAFETY PRECAUTIONS
Be sure to observe
CM201-DH (Warning labels)
The following warning labels are pasted on this machine. Follow the instructions on each label. If a label has
come off, put a new one on a proper position. To order a label from the manufacturer, refer to PARTS LIST.
The positions of warning labels on the rear side
The labels for safety pasted on the product
4V4C-AB00
444C-E-XXA00-A04-04
Label part No.
Inside
Inside

Page 26
SAFETY PRECAUTIONS
Be sure to observe
The positions of danger labels on the front side
4V4C-AA00
Inside
CM201-DH (Caution labels)
The following danger labels are pasted on this machine. Follow the instructions on each label. If a label has
come off, put a new one on a proper position. To order a label from the manufacturer, refer to PARTS LIST.
M32E
The labels for safety pasted on the product
The positions of danger labels on the rear side
444C-E-XXA00-A04-03
Label part No.
4V4C-AB00
Inside

Page 27
SAFETY PRECAUTIONS
Be sure to observe
CM201-D/DU (Danger labels)
The following danger labels are pasted on this machine. Follow the instructions on each label. If a label has
come off, put a new one on a proper position. To order a label from the manufacturer, refer to PARTS LIST.
Label part No.
The positions of danger labels on the front side
M32E
0 1 J Q B
feeder tables will have
serious injury.
CM201-901E
The labels for safety pasted on the product
The positions of danger labels on the rear side
CM201-902E
0 1 K 1 B
DANGER
DO NOT OPEN
THE COVER
WHEN
OPERATING
You will have serious
injury if you touch the
active part inside.
0 1 J X A
DANGER
DO NOT TOUCH
ACTIVE PART
WHEN
OPERATING
You will have serious
injury if you touch the
active part.
0 1 K 1 B
DANGER
DO NOT OPEN
THE COVER
WHEN
OPERATING
You will have serious
injury if you touch the
active part inside.
0 1 J X A
DANGER
DO NOT TOUCH
ACTIVE PART
WHEN
OPERATING
You will have serious
injury if you touch the
active part.
444C-E-XXA00-A04-01
(As for the explanation, the illustration of CM201-DU is used.)