444CEOM1-CM202.pdf - 第76页
Page 1-14 1-3-4 Outer Dimensions CM201-D/DU 1055 695 785 1013.5 125 125 1145 791.5 1151.5 1373.5 222 222 1400 1565 2000 670 195 1060 55 55 950 195 1300 120 120 700 700 T ape large reel T ape small reel Reference Operator…

Page 1-13
GENERAL DESCRIPTION
1
Equipment Specification
1-3-2 Mounting Area
1-3-3 Board Flowing Direction
Dead space
Board
Board transport space
Fixed side
(Unit: mm)
Board flowing direction
Standard reference
position
Operator
Automatic width adjustment
Fixed side
∗ Change of board flowing direction and reference position can be supported as options.
Mount data reference can be set optionally by PT.
444C-109E
444C-110E
3
4
30
4
20
25
6.5
3
444C-E-OMA01-A01-02
Z
Y
X
Y

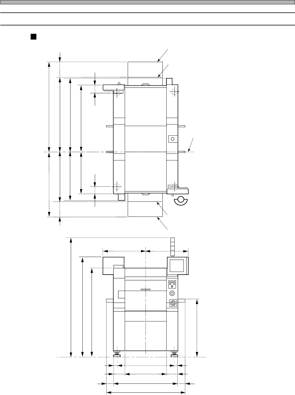
Page 1-14
1-3-4 Outer Dimensions
CM201-D/DU
1055
695
785
1013.5
125
125
1145
791.5
1151.5
1373.5
222
222
1400
1565
2000
670
195
1060
55 55
950
195
1300
120
120
700
700
Tape large reel
Tape small reel
Reference
Operator
Tape large reel
Tape small reel
Board transport height 900
(Unit: mm)
444C-111E
444C-E-OMA01-A01-01
Equipment Specification
(DU: 950)

Page 1-15
GENERAL DESCRIPTION
1
1055
695
795
1013.5
125
125
1155
791.5
1151.5
1373.5
222
222
1430
1595
2000
700
195
1090
55 55
980
195
1390
150
150
700
700
444C-E-OMA01-A01-03
Equipment Specification
CM201-DH/DS
Tape large reel
Tape small reel
Reference
Operator
Tape large reel
Tape small reel
Board transport height 900
(Unit: mm)
444C-130E