6OM-1602-004_w.pdf - 第183页
6OM-1602 4-16 第四章 3. 测定元件尺寸 个别数据表 ( 异 形) 最小输入单位 :0.01mm 1 元件尺寸 X( 横 ) 24 边缘数据 1 边缘宽度 2 元件尺寸 Y( 纵 ) 25 边缘数据 2 边缘宽度 3 元件尺寸 t( 厚度 )[T( 厚度 )] 26 边缘数据 3 边缘宽度 4 外形尺寸 1 27 边缘数据 4 边缘宽度 5 外形尺寸 2 28 边缘数据 1 边缘线补正值位置 X 6 外形尺寸 3 29 边…

6OM-1602
第四章 3. 测定元件尺寸
4-15
Note
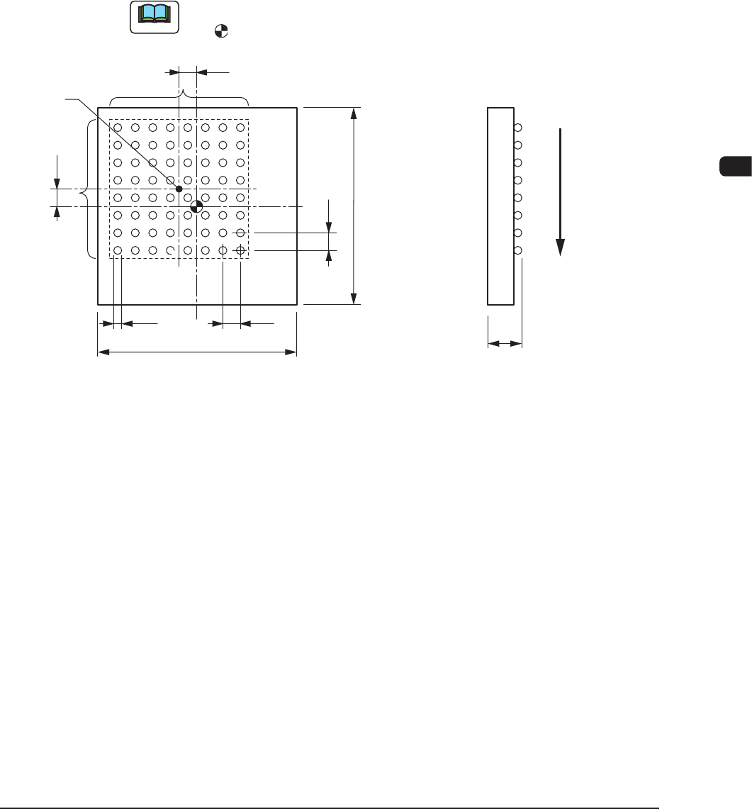
(a) 图中 (1)、(2)、(3)、(4) 对应边角数据 1、2、3、4。
(b)
标记的中心为模板中心。
元
件
传
送
方
向
(1)
(2)
(3)
(4)
[31]
[28]
[29]
[30]
边缘检出
可能位置
边缘检出可能位置
(1)
(2)
(3)
(4)
[26]
[24]
[33]
[35]
[32]
[34]
[25]
[27]
FD18
0910-001

6OM-1602
4-16
第四章 3. 测定元件尺寸
个别数据表 ( 异形)
最小输入单位 :0.01mm
1 元件尺寸 X( 横 ) 24 边缘数据 1 边缘宽度
2 元件尺寸 Y( 纵 ) 25 边缘数据 2 边缘宽度
3 元件尺寸 t( 厚度 )[T( 厚度 )] 26 边缘数据 3 边缘宽度
4 外形尺寸 1 27 边缘数据 4 边缘宽度
5 外形尺寸 2 28 边缘数据 1 边缘线补正值位置 X
6 外形尺寸 3 29 边缘数据 1 边缘线补正值位置 Y
7 外形尺寸 4 30 边缘数据 2 边缘线补正值位置 X
8 边角 1 的尺寸 X 31 边缘数据 2 边缘线补正值位置 Y
9 边角 1 的尺寸 Y 32 边缘数据 3 边缘线补正值位置 X
10 边角 1 的位置补正值 X 33 边缘数据 3 边缘线补正值位置 Y
11 边角 1 的位置补正值 Y 34 边缘数据 4 边缘线补正值位置 X
12 边角 2 的尺寸 X 35 边缘数据 4 边缘线补正值位置 Y
13 边角 2 的尺寸 Y
14 边角 2 的位置补正值 X
15 边角 2 的位置补正值 Y
16 边角 3 的尺寸 X
17 边角 3 的尺寸 Y
18 边角 3 的位置补正值 X
19 边角 3 的位置补正值 Y
20 边角 4 的尺寸 X
21 边角 4 的尺寸 Y
22 边角 4 的位置补正值 X
23 边角 4 的位置补正值 Y
TD3
1201-002

6OM-1602
第四章 3. 测定元件尺寸
4-17
3.2 区域阵列元件
3.2.1 BGA/CSP
测定图中的 [1] ~ [10] 处。
电极组为多个时,将扩展设定设为
“
是
”
,对电极组 2 ~ 6 也同样测定数据
[5] ~ [10]。
对于电极缺少的元件,也需将扩展设定设为
“
是
”
,并在
“
电极缺少块数
”
中设定缺少块数,也对图中的 [11] ~ [14] 处进行测定。
如果电极缺少块数为多个时,将 [11] ~ [14] 的数据对于电极缺少 2、3...
也要进行同样的测定。( 电极缺少块数最多可设定 40 块。)
Note
(a) 下图为元件 ( 无球面 ) 的俯视图,因此是电极组数 =1 的示例。
(b)
标记的中心为元件基准点。( 通常为模板的中心。)
[4]
[6]
[7]
[2]
[9]
[8]
[3]
[1]
[10]
[5]
元
件
传
送
方
向
电极组
中心
FD19
1201-003