QP341,351機械手冊-中.pdf - 第100页
第 2 部 第 15 章 MTU-9 吸取器衬垫的更 换 Edition 1. 0 2- 15-1 QP-341E/35 1E-MM 机械手 册 15. 15. 15. 15. MTU-9 MTU-9 MTU-9 MTU-9 吸取 吸取 吸取 吸取 器衬垫的更换 器衬垫的更换 器衬垫的更换 器衬垫的更换 目的 目的 目的 目的 用一般的氨基甲酸乙酯 材料生产的吸取器衬垫吸取 零件料盘时, 会出 现因料盘种类的不同 而 造成漏气过多, 或…

第 14 章 点胶针的更换与保存 第 2 部
QP-341E/351E-MM 机械手册 2-14-2 Edition 1.0
安装
安装安装
安装
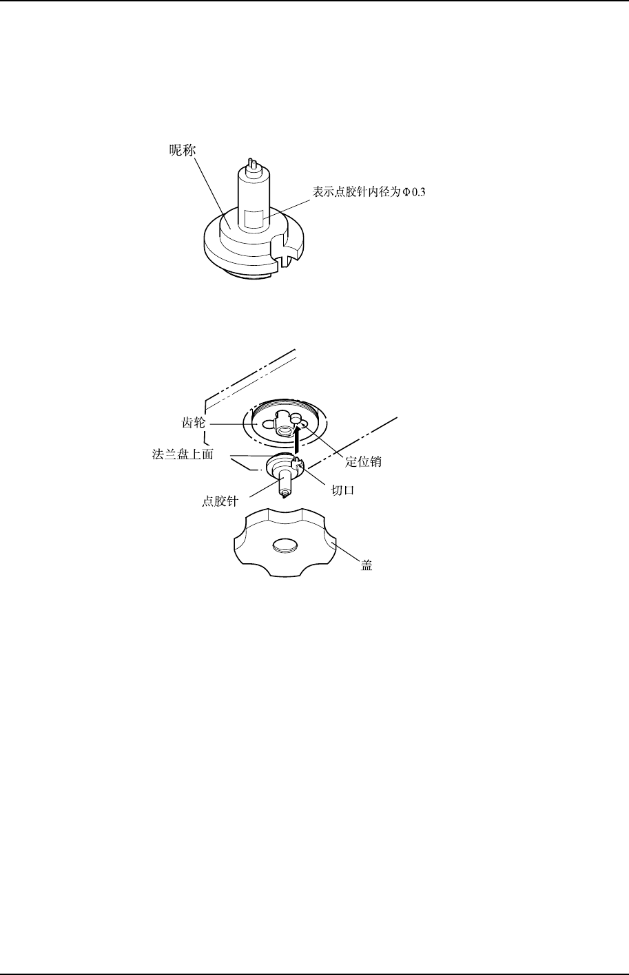
1. 确认点胶针的法兰面没有附着胶着剂。如果有附着,则要擦拭干净。
参考
参考参考
参考)
) )
) 点胶针上刻印的含义如下。安装时请参考。
点胶针上刻印的含义如下。安装时请参考。点胶针上刻印的含义如下。安装时请参考。
点胶针上刻印的含义如下。安装时请参考。
S
0
3
3
-
0
1
0
QP3MZ008CM
3
2. 安装点胶针后拧上盖子。
QP3MZ009CM
注意)
注意)注意)
注意)
在安装点胶针时,要确保齿轮的定位销与切口部充分连接。
在安装点胶针时,要确保齿轮的定位销与切口部充分连接。在安装点胶针时,要确保齿轮的定位销与切口部充分连接。
在安装点胶针时,要确保齿轮的定位销与切口部充分连接。
保存
保存保存
保存
将拆下来的点胶针浸在下列溶液中进行保管。
再次使用时,用气枪清除溶液和附着的胶着剂后再行使用。
溶液事例
溶液事例溶液事例
溶液事例
• 丙酮
• 三氯乙烯脱脂剂
• [安全清洁剂 41g] 洛克泰特 (loctite) (株)生产
• [清洁剂 S-10] 山荣化学(株)生产
注意)
注意)注意)
注意)
详细内容参见各胶着剂生产厂家的产品介绍。
详细内容参见各胶着剂生产厂家的产品介绍。详细内容参见各胶着剂生产厂家的产品介绍。
详细内容参见各胶着剂生产厂家的产品介绍。
对使用洗净液的作业要在通风良好的地方进行,以避免吸入挥发性气体。
对使用洗净液的作业要在通风良好的地方进行,以避免吸入挥发性气体。对使用洗净液的作业要在通风良好的地方进行,以避免吸入挥发性气体。
对使用洗净液的作业要在通风良好的地方进行,以避免吸入挥发性气体。

第 2 部 第 15 章 MTU-9 吸取器衬垫的更换
Edition 1.0 2-15-1 QP-341E/351E-MM 机械手册
15.
15.15.
15.
MTU-9
MTU-9MTU-9
MTU-9 吸取
吸取吸取
吸取器衬垫的更换
器衬垫的更换器衬垫的更换
器衬垫的更换
目的
目的目的
目的
用一般的氨基甲酸乙酯材料生产的吸取器衬垫吸取零件料盘时,会出现因料盘种类的不同而
造成漏气过多,或者发生由于衬垫与料盘的接触面积太小而导致吸着不稳定的情况。在这种
情况下,则可以使用 EPT(乙烯丙烯三元共聚物)材料生产的软式吸取器衬垫,这样零件料
盘的凹凸面和衬垫面就能充分结合而实现稳定的吸着。
注
注注
注
意
意意
意
·任何类型的可搬运重量均能满足规格值。但
·任何类型的可搬运重量均能满足规格值。但·任何类型的可搬运重量均能满足规格值。但
·任何类型的可搬运重量均能满足规格值。但要注意
要注意要注意
要注意 EPT
EPTEPT
EPT 材料生产
材料生产材料生产
材料生产
的软式吸取器衬垫的最大容许重量较小。
的软式吸取器衬垫的最大容许重量较小。的软式吸取器衬垫的最大容许重量较小。
的软式吸取器衬垫的最大容许重量较小。
·
··
·在使用
在使用在使用
在使用 EPT
EPTEPT
EPT 材料生产的衬垫时,每月都要检查材质的耐久性等,
材料生产的衬垫时,每月都要检查材质的耐久性等,材料生产的衬垫时,每月都要检查材质的耐久性等,
材料生产的衬垫时,每月都要检查材质的耐久性等,
必要时还要更换衬垫。当衬垫面出现凹凸等降低弹性的情况时,
必要时还要更换衬垫。当衬垫面出现凹凸等降低弹性的情况时,必要时还要更换衬垫。当衬垫面出现凹凸等降低弹性的情况时,
必要时还要更换衬垫。当衬垫面出现凹凸等降低弹性的情况时,
要剥掉并更换新的吸取器衬垫。剥离时若衬垫残留在压板上,则
要剥掉并更换新的吸取器衬垫。剥离时若衬垫残留在压板上,则要剥掉并更换新的吸取器衬垫。剥离时若衬垫残留在压板上,则
要剥掉并更换新的吸取器衬垫。剥离时若衬垫残留在压板上,则
要更换压板。
要更换压板。要更换压板。
要更换压板。
方法
方法方法
方法
1. 从机器上拆下 MTU-9。
2. 从吸取器基座上拆下吸取器置件头,拆下连接插头支架和氨基甲酸乙酯吸取器衬垫。
QP3MC061CM

第 15 章 MTU-9 吸取器衬垫的更换 第 2 部
QP-341E/351E-MM 机械手册 2-15-2 Edition 1.0
3. 将连接插头支架和压板安装到吸取器置件头上,在压板上贴上吸取器衬垫。
QP3MC062CM
注意)
注意)注意)
注意)
在张贴衬垫时,整体都要用力压一下以防止压板和衬垫之间出现缝隙。并且要注意此时衬垫是
在张贴衬垫时,整体都要用力压一下以防止压板和衬垫之间出现缝隙。并且要注意此时衬垫是在张贴衬垫时,整体都要用力压一下以防止压板和衬垫之间出现缝隙。并且要注意此时衬垫是
在张贴衬垫时,整体都要用力压一下以防止压板和衬垫之间出现缝隙。并且要注意此时衬垫是
否盖住了吸取器置件头吸入孔的
否盖住了吸取器置件头吸入孔的否盖住了吸取器置件头吸入孔的
否盖住了吸取器置件头吸入孔的 3
33
3 个方位的切口。
个方位的切口。个方位的切口。
个方位的切口。
4. 将吸取器置件头安装到吸取器基座上,并检查衬垫是否与传感器或托架类有干扰、是否
造成了吸取器置件头倾斜等。
QP3MC063CM
5. 将 MTU-9 安装到机器上,并通过操作指令来检查料盘的装卸动作是否有异常。