QP341,351機械手冊-中.pdf - 第57页
第 1 章 搬运轨道宽度的变更 第 2 部 QP-341E/35 1E-MM 机械手册 2- 1-2 Edition 1. 0 笔记 笔记 笔记 笔记 : : : :

第 2 部 第 1 章 搬运轨道宽度的变更
Edition 1.0 2-1-1 QP-341E/351E-MM 机械手册
1.
1.1.
1.
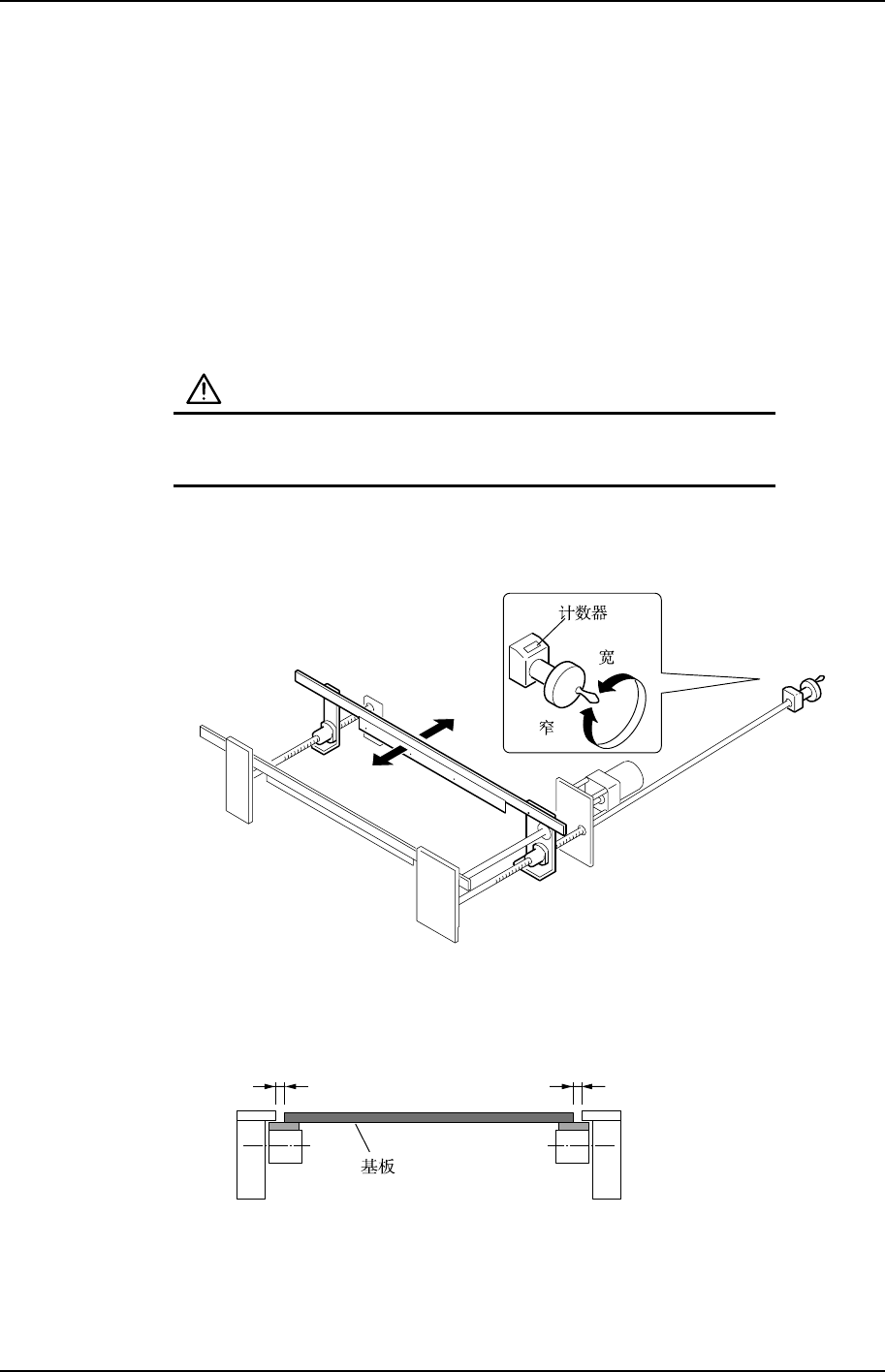
搬运轨道宽度的变更
搬运轨道宽度的变更搬运轨道宽度的变更
搬运轨道宽度的变更
要点
要点要点
要点
为了实现基板能够顺利行走,要正确调整搬运轨道宽度。
方法
方法方法
方法
预先将 PFU-3E,MFU-6E 或 MTU-8E/9E 从机器主体上拆下。
1. 转动摇柄,调整搬运轨道宽度。搬运轨道宽度在计数器上有显示。
注
注注
注
意
意意
意
为避免干扰从动侧的传送轨道,应首先检查真空支撑销的位置后
为避免干扰从动侧的传送轨道,应首先检查真空支撑销的位置后为避免干扰从动侧的传送轨道,应首先检查真空支撑销的位置后
为避免干扰从动侧的传送轨道,应首先检查真空支撑销的位置后
再行转动摇柄。
再行转动摇柄。再行转动摇柄。
再行转动摇柄。
2000
QP3MC001CM
2. 调整时要保证基板两侧各有 0.5mm 的间隙。
调整后要进行基板通过实验,确认基板能够在搬运轨道上顺利通过。
0.5 mm 0.5 mm
QP3MC002CM

第 1 章 搬运轨道宽度的变更 第 2 部
QP-341E/351E-MM 机械手册 2-1-2 Edition 1.0
笔记
笔记笔记
笔记:
::
:

第 2 部第2 章 真空支撑销位置的调整
Edition 1.0 2-2-1 QP-341E/351E-MM 机械手册
2.
2.2.
2.
真空支撑销位置的调整
真空支撑销位置的调整真空支撑销位置的调整
真空支撑销位置的调整
要点
要点要点
要点
要充分考虑基板的形状或尺寸、内侧先期安装零件的配置等,然后再决定真空支撑销的位置
和数量。
对于向上翘曲的基板,要使用带真空垫圈的真空支撑销以确保基板的平整度。
QP3MC003CM
方法
方法方法
方法
预先从 Side2 侧将 PFU-3E,MFU-6E 或 MTU-8E/9E 从机器主体上卸下。
1.
1.1.
1.
利用 I/O 操作降下基板升降台。
2.
2.2.
2.
将搬运轨道宽度调至最宽。
3.
3.3.
3.
将定位托架拉向一侧,向上取出。
QP3MC004CM
1
2
注意)
注意)注意)
注意)
定位托架卸下时的注意事项
定位托架卸下时的注意事项定位托架卸下时的注意事项
定位托架卸下时的注意事项
·
··
·托架不能干扰传感器。否则会导致传感器破损。
托架不能干扰传感器。否则会导致传感器破损。托架不能干扰传感器。否则会导致传感器破损。
托架不能干扰传感器。否则会导致传感器破损。
·由于需从
·由于需从·由于需从
·由于需从 2
22
2 侧进行作业,所以要避免干扰相机
侧进行作业,所以要避免干扰相机侧进行作业,所以要避免干扰相机
侧进行作业,所以要避免干扰相机和
和和
和吸嘴更换装置内的吸嘴。
吸嘴更换装置内的吸嘴。吸嘴更换装置内的吸嘴。
吸嘴更换装置内的吸嘴。
4.
4.4.
4.
拧松安装螺栓,变更真空支撑销的位置。
5.
5.5.
5.
使定位托架与基板升降台装配成套。此时定位托架接触挡块,要用力往里按压。
6.
6.6.
6.
在使基板升降台上升之前,要确保真空支撑销不干扰从动侧的传送轨道。如有干扰,应
变更真空支撑销的位置。