QP341,351機械手冊-中.pdf - 第36页
第 2 章 机器的构成部分 第 1 部 QP-341E/35 1E-MM 机械手册 1- 2-2 Edition 1. 0 吸嘴置换单元 吸嘴置换单元 吸嘴置换单元 吸嘴置换单元 保证在机器内更换的吸 嘴。 根据用途的不同可从下 图中选择。 341E 351E A1 (B1) A12 (B12) S L S L 16 18 13 13 00 16 18 67 00 QP3MNT07CM 备注) 备注) 备注) 备注)…

第 1 部 第 2 章 各部分的功能
Edition 1.0 1-2-1 QP-341E/351E-MM 机械手册
2.
2.2.
2.
各部分的功能
各部分的功能各部分的功能
各部分的功能
QP-341E
QP-351E
QPMN007CM
MFU-6E
PFU-3E
MTU-8E/9E
置件关系
置件关系置件关系
置件关系
XY
XYXY
XY 机械手
机械手机械手
机械手
XY 机械手上装有置件工作头,可向 X 方向和 Y 方向移动。
置件工作头
置件工作头置件工作头
置件工作头
置件工作头上载有定位相机和 3 只吸嘴头。安装在吸嘴头上的吸嘴受 Q 轴和 Z 轴的独立的电
动机所控制。
另外,在载有胶着剂点胶机的机型中,胶着剂点胶机被安装在吸嘴头 C 的位置上,置件吸
嘴被安装在吸嘴头 A 和吸嘴头 B 上。
QP3MN016CM

第 2 章 机器的构成部分 第 1 部
QP-341E/351E-MM 机械手册 1-2-2 Edition 1.0
吸嘴置换单元
吸嘴置换单元吸嘴置换单元
吸嘴置换单元
保证在机器内更换的吸嘴。
根据用途的不同可从下图中选择。
341E 351E
A1
(B1)
A12
(B12)
S
L
S
L
16 18
13 13
00
16 18
67
00
QP3MNT07CM
备注)
备注)备注)
备注)
•
AI
AIAI
AI、
、、
、A12
A12A12
A12 为
为为
为 QP-341E-MM
QP-341E-MMQP-341E-MM
QP-341E-MM 机型,
机型,机型,
机型,B1
B1B1
B1、
、、
、B12
B12B12
B12 为
为为
为 QP-351E-MM
QP-351E-MMQP-351E-MM
QP-351E-MM 机型。
机型。机型。
机型。
•
后侧
后侧后侧
后侧(
((
(Side 2
Side 2Side 2
Side 2)装有
)装有)装有
)装有 2
22
2 台相机的机型为
台相机的机型为台相机的机型为
台相机的机型为 A12(
A12(A12(
A12(或是
或是或是
或是 B12)
B12)B12)
B12)类型。
类型。类型。
类型。
•
装有
装有装有
装有 4
44
4 台相机的机型只能使用
台相机的机型只能使用台相机的机型只能使用
台相机的机型只能使用 A12
A12A12
A12 或
或或
或 B12
B12B12
B12 类型。
类型。类型。
类型。
•
吸嘴装载数根据开发的情况会有变更。
吸嘴装载数根据开发的情况会有变更。吸嘴装载数根据开发的情况会有变更。
吸嘴装载数根据开发的情况会有变更。
•
对于机械夹头今后计划开发。
对于机械夹头今后计划开发。对于机械夹头今后计划开发。
对于机械夹头今后计划开发。

第 1 部 第 2 章 各部分的功能
Edition 1.0 1-2-3 QP-341E/351E-MM 机械手册
零件供应关系
零件供应关系零件供应关系
零件供应关系
固定供料平台
固定供料平台固定供料平台
固定供料平台(仅限
(仅限(仅限
(仅限 QP-341E-MM
QP-341E-MMQP-341E-MM
QP-341E-MM 机型)
机型)机型)
机型)
是指固定在机器前部的供料平台。根据装载的供料器的类型可将其分为以往的 QP 系列、IP
系列的半自动供料器的供料平台以及 QP 系列、NP 系列的自动供料器的供料平台两类。
MFU-6E(
MFU-6E(MFU-6E(
MFU-6E(多供料器单元
多供料器单元多供料器单元
多供料器单元)
))
)
是载有 QP 系列、IP 系列半自动供料器的单元,可以从机器上进行装卸。由于安装在机器上,
所以可进行电气、压缩气体的自动连接。
PFU-3E(
PFU-3E(PFU-3E(
PFU-3E(自动供料器单元
自动供料器单元自动供料器单元
自动供料器单元)
))
)
是载有自动供料器的单元,可进行与机器之间的拆装。安装在机器上后电、压缩气体可进行
自动连接。
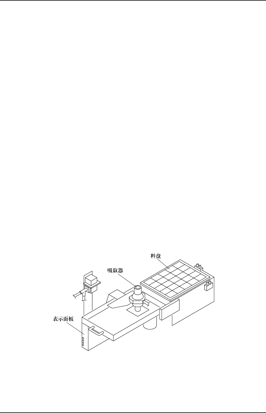
MTU-8E(
MTU-8E(MTU-8E(
MTU-8E(多料盘单元
多料盘单元多料盘单元
多料盘单元)
))
)
是用料盘供应零件的单元,可进行与机器之间的装卸。
装有 50 个料盘托盘。1 个料盘托盘上装 2 种零件时,最大装载数为 100 个料盘,100 种零件。
装有不良零件排出轨道。
MTU-9E(
MTU-9E(MTU-9E(
MTU-9E(多料盘单元
多料盘单元多料盘单元
多料盘单元)
))
)
是用料盘供应零件的单元,可进行与机器之间的装卸。
料盘分为 10 层存放,每层可装 2 种料盘,最多可存放 20 个料盘。
装有不良零件排出轨道。
STU-1/STU-2(
STU-1/STU-2(STU-1/STU-2(
STU-1/STU-2(单料盘单元
单料盘单元单料盘单元
单料盘单元)
))
)
是从 MFU 上供应料盘部件的单元。STU 装有 1 个料盘托盘。料盘可多层向上堆放,每个料盘
的厚度最小为 4mm,最大累放高度范围为 50mm。可装 1 个种类的料盘零件。
QP3MN007CM
备注)
备注)备注)
备注)STU-1
STU-1STU-1
STU-1 为大型料盘,
为大型料盘,为大型料盘,
为大型料盘,STU-2
STU-2STU-2
STU-2 为小型料盘用。
为小型料盘用。为小型料盘用。
为小型料盘用。