QP341,351機械手冊-中.pdf - 第134页
第 3 章 消耗品的更换 第 3 部 QP-341E/35 1E-MM 机械手册 3- 3-6 Edition 1. 0 3.4 3.4 3.4 3.4 搬运轨道传送带 的更换 搬运轨道传送带的 更换 搬运轨道传送带的 更换 搬运轨道传送带的 更换 方法 方法 方法 方法 警 警 警 警 告 告 告 告 作业前要关 闭主电源。 作业前要关闭 主电源。 作业前要关 闭主电源。 作业前要关闭 主电源。 1. 拧松定位螺钉,滑动连杆。 2. …

第 3 部 第 3 章 消耗品的更换
Edition 1.0 3-3-5 QP-341E/351E-MM 机械手册
3.3
3.33.3
3.3
线性扫描相机用卤化灯的更换
线性扫描相机用卤化灯的更换线性扫描相机用卤化灯的更换
线性扫描相机用卤化灯的更换
要点
要点要点
要点
光源盒的位置如下图所示。
QP3MR004CM
方法
方法方法
方法
警
警警
警
告
告告
告
·作业前要关闭主电源
·作业前要关闭主电源·作业前要关闭主电源
·作业前要关闭主电源
·电源关闭后,光源盒还处于高温,立即触摸会有烧伤的可能。
·电源关闭后,光源盒还处于高温,立即触摸会有烧伤的可能。·电源关闭后,光源盒还处于高温,立即触摸会有烧伤的可能。
·电源关闭后,光源盒还处于高温,立即触摸会有烧伤的可能。
所以要等到光源盒返回常温后再行作业。
所以要等到光源盒返回常温后再行作业。所以要等到光源盒返回常温后再行作业。
所以要等到光源盒返回常温后再行作业。
1. 打开光源盒盖。
2. 拔下连接插头。
3. 更换卤化灯。
4. 确保将卤化灯的导线固定在光源盒内的接线柱上。
QP3MR005CM

第 3 章 消耗品的更换 第 3 部
QP-341E/351E-MM 机械手册 3-3-6 Edition 1.0
3.4
3.43.4
3.4
搬运轨道传送带的更换
搬运轨道传送带的更换搬运轨道传送带的更换
搬运轨道传送带的更换
方法
方法方法
方法
警
警警
警
告
告告
告
作业前要关闭主电源。
作业前要关闭主电源。作业前要关闭主电源。
作业前要关闭主电源。
1. 拧松定位螺钉,滑动连杆。
2. 拧松固定张紧轮的螺栓,减小传送带的张力。
3. 拆下压板 A,B。
4. 更换搬运轨道传送带。
5. 按箭头方向向张紧轮施加 1~1.5kg 的力使传送带处于张紧状态,拧紧张紧轮的固定螺
栓。
备注)
备注)备注)
备注)
按箭头方向向前推张紧轮
按箭头方向向前推张紧轮按箭头方向向前推张紧轮
按箭头方向向前推张紧轮 1~2mm
1~2mm1~2mm
1~2mm 并拧紧,这样也可给传送带施加规定的张力。
并拧紧,这样也可给传送带施加规定的张力。并拧紧,这样也可给传送带施加规定的张力。
并拧紧,这样也可给传送带施加规定的张力。
1
2
1
3
4
6
1 ~ 2 mm
QP3MR006CM
5
1

第 3 部 第 3 章 消耗品的更换
Edition 1.0 3-3-7 QP-341E/351E-MM 机械手册
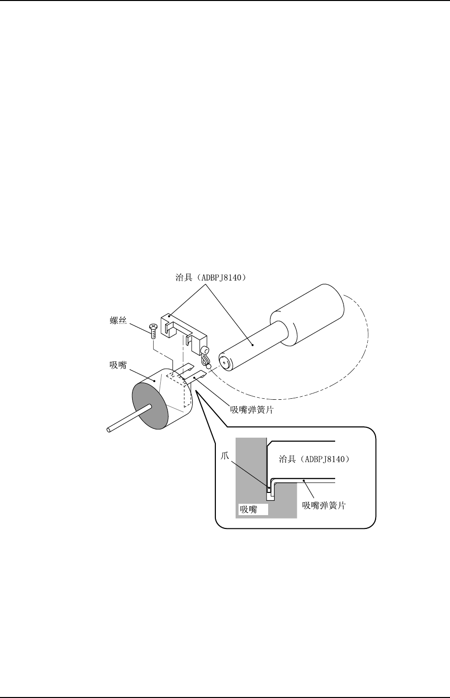
3.5
3.53.5
3.5
吸嘴弹簧片的更换
吸嘴弹簧片的更换吸嘴弹簧片的更换
吸嘴弹簧片的更换
要点
要点要点
要点
如果吸嘴弹簧片安装不良,则有可能妨碍吸嘴的装卸动作或导致弹簧片不均匀磨损。所以要
利用治具来正确安装弹簧片。
备注)
备注)备注)
备注)
关于弹簧片的更换时间
关于弹簧片的更换时间关于弹簧片的更换时间
关于弹簧片的更换时间:
::
:
•
以弹簧片能够被正确注油为前提条件,更换的标准为
以弹簧片能够被正确注油为前提条件,更换的标准为以弹簧片能够被正确注油为前提条件,更换的标准为
以弹簧片能够被正确注油为前提条件,更换的标准为 6
66
6 万次装卸动作。
万次装卸动作。万次装卸动作。
万次装卸动作。
•
弹簧片表面的
弹簧片表面的弹簧片表面的
弹簧片表面的 DLC
DLCDLC
DLC 镀层开始剥落的时候,进行更换。
镀层开始剥落的时候,进行更换。镀层开始剥落的时候,进行更换。
镀层开始剥落的时候,进行更换。
关于吸嘴弹簧片的注油要领,参见第
关于吸嘴弹簧片的注油要领,参见第关于吸嘴弹簧片的注油要领,参见第
关于吸嘴弹簧片的注油要领,参见第 2
22
2 章的
章的章的
章的「
「「
「2.3
2.32.3
2.3 吸嘴头注油处」。
吸嘴头注油处」。吸嘴头注油处」。
吸嘴头注油处」。
方法
方法方法
方法
1. 将已磨损的弹簧片拆下来。
2. 如下图所示,将吸嘴弹簧片和治具安装到吸嘴上。
注意)
注意)注意)
注意)
治
治治
治具的爪要充分插入到吸嘴和吸嘴弹簧片之间。
具的爪要充分插入到吸嘴和吸嘴弹簧片之间。具的爪要充分插入到吸嘴和吸嘴弹簧片之间。
具的爪要充分插入到吸嘴和吸嘴弹簧片之间。
QP3MR007CM
3. 拧上弹簧片螺丝。
4. 在螺丝上涂上 Locktite221。
5. 另一块弹簧片按相同步骤进行更换。