QP341,351機械手冊-中.pdf - 第164页
第 3 章 电源供应和变压器的接线 第 5 部 QP-341E/35 1E-MM 机械手册 5- 3-2 Edition 1. 0 变压器的接线 变压器的接线 变压器的接线 变压器的接线 1. 打开变压器盒的防护盖 。 QP3MS004CM 2. 将变压器的进口侧接线 正确连接到供应电压 的对应端子上。

第 5 部 第 3 章 电源供应和变压器的接线
Edition 1.0 5-3-1 QP-341E/351E-MM 机械手册
3.
3.3.
3.
电源供应和变压器的接线
电源供应和变压器的接线电源供应和变压器的接线
电源供应和变压器的接线
要点
要点要点
要点
对应于外部供应电压而进行 QP-341E/351E 内的变压器接线。
方法
方法方法
方法
危
危危
危
险
险险
险
确认已关闭外部电源后,再行作业。
确认已关闭外部电源后,再行作业。确认已关闭外部电源后,再行作业。
确认已关闭外部电源后,再行作业。
电源供应
电源供应电源供应
电源供应
1. 从机器的电源接入口插入外部电源。
电源容量为 2.5KVA。连接时,要确保连接的是更大容量的电源。
2. 将 3 相电源和接地线连接到主断路器的对应的端子上。
QP3MS003CM
PE
L1
L2
L3

第 3 章 电源供应和变压器的接线 第 5 部
QP-341E/351E-MM 机械手册 5-3-2 Edition 1.0
变压器的接线
变压器的接线变压器的接线
变压器的接线
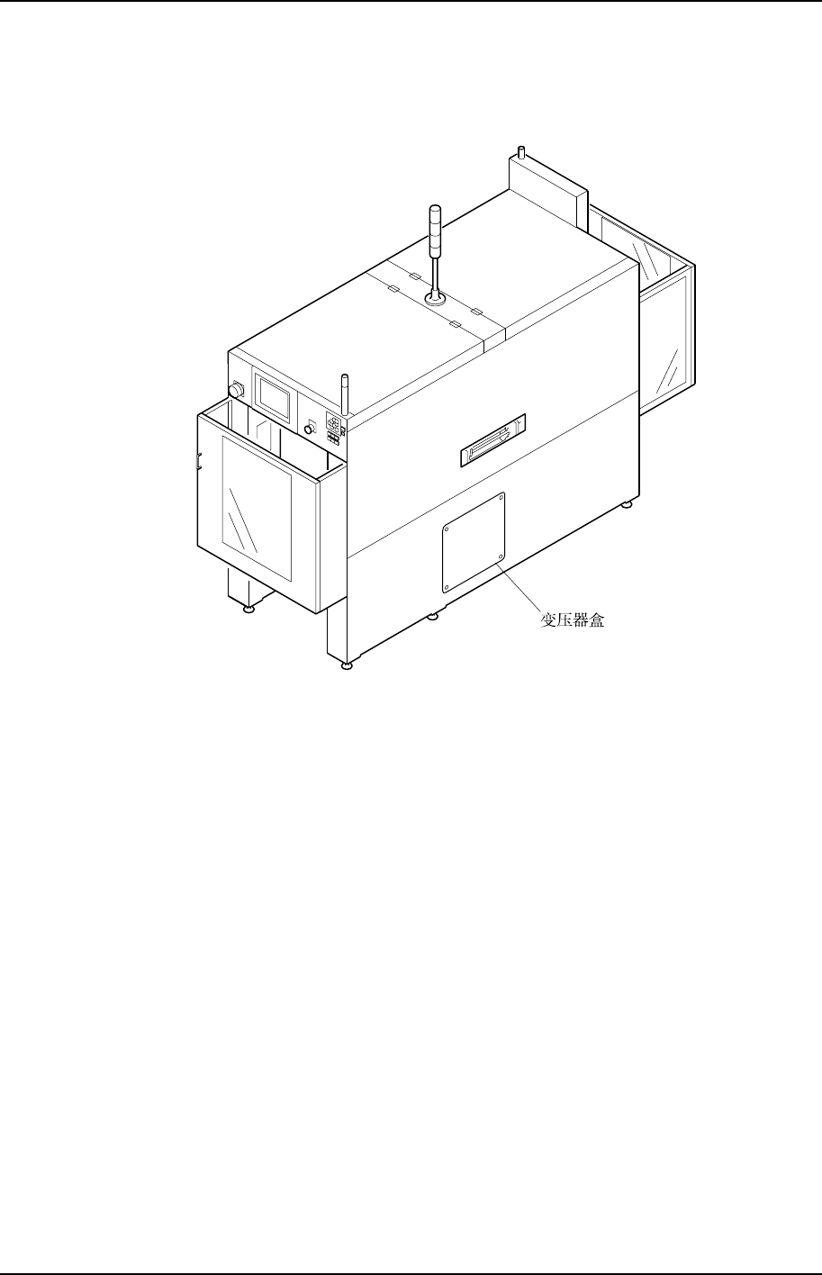
1. 打开变压器盒的防护盖。
QP3MS004CM
2. 将变压器的进口侧接线正确连接到供应电压的对应端子上。

第 5 部 第 4 章 数据传送线缆的连接
Edition 1.0 5-4-1 QP-341E/351E-MM 机械手册
4.
4.4.
4.
数据传送线缆的连接
数据传送线缆的连接数据传送线缆的连接
数据传送线缆的连接
要点
要点要点
要点
为了实现程序传送或生产记录的收集,在 QP-341E/351E-MM 和主电脑之间用局域网用双纽线
通信线缆(类型 5)来连接。
方法
方法方法
方法
1. 在主电脑上登录 QP-341E/351E-MM 的线性解说符。
备注)
备注)备注)
备注)
有关线性解说符的登录方法参见主电脑手册。
有关线性解说符的登录方法参见主电脑手册。有关线性解说符的登录方法参见主电脑手册。
有关线性解说符的登录方法参见主电脑手册。
2. 将传送线缆连接器的一头连接到主电脑的指定系统接线口,另一头连接到传送线缆的连
接口。
注意)
注意)注意)
注意)
使用传送线缆及其他接口线缆时,请使用屏蔽线缆。
使用传送线缆及其他接口线缆时,请使用屏蔽线缆。使用传送线缆及其他接口线缆时,请使用屏蔽线缆。
使用传送线缆及其他接口线缆时,请使用屏蔽线缆。
QP3MS006CM