NXT-IIc 系统手册.pdf - 第281页
SYS-NXTIIc-4.0S 5. 换线 NXT IIc 系统手册 263 5.8.4 料盘单元 -M 中可以使用的料盘尺寸 料盘方向和搭载条件 – – –

5. 换线 SYS-NXTIIc-4.0S
262 NXT IIc 系统手册
6. 如果有其他料槽的料盘更换的向导,请重复上述 3. 项~ 5. 项。当完成所有的补充后,
就会显示按下 COPLT 按钮的向导。
7. 请放下料盘挡块。
8. 请关闭正面门,按下 COMPLETE 按钮。开始生产。
备注 )请轻轻关闭正面门,以免料盘单元 -M 受到冲击。

SYS-NXTIIc-4.0S 5. 换线
NXT IIc 系统手册 263
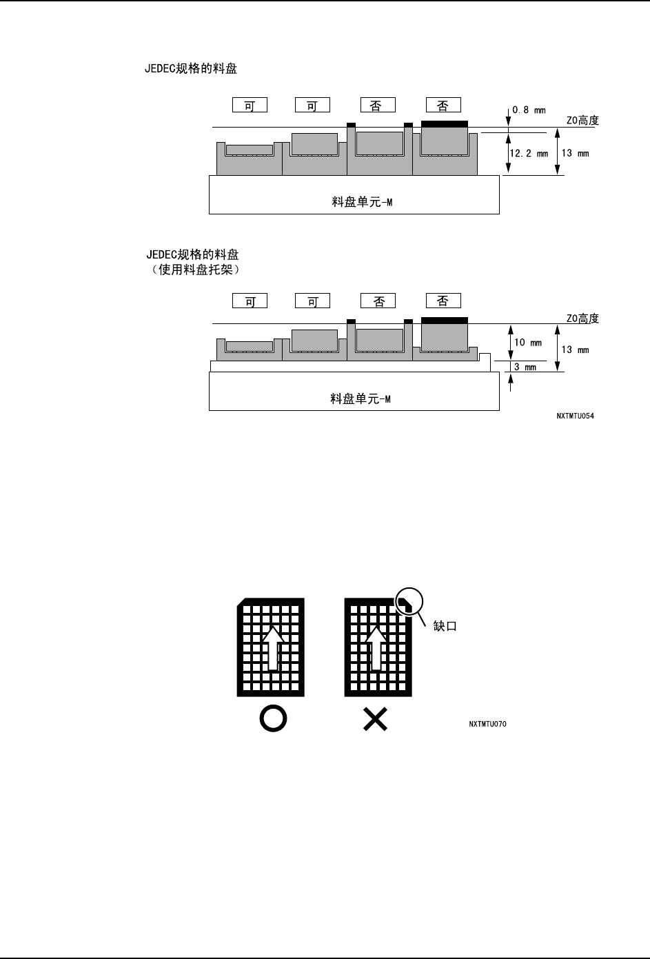
5.8.4 料盘单元 -M 中可以使用的料盘尺寸
料盘方向和搭载条件
–
–
–

5. 换线 SYS-NXTIIc-4.0S
264 NXT IIc 系统手册
料盘高度和搭载条件
5.8.5 料盘插入时的注意事项
·料盘具有方向性。将料盘插入料盘单元 -M 时,请注意方向。
·开闭料盘单元 -M 的正面门时,请不要有冲击小心进行。有可能发生元件偏移或元
件从料盘上飞出。从安全上考虑,这些门实施了自动锁定而有可能不能打开,此
时请不要强行打开。
·请不要使用右前方有缺口的料盘。