FUJI NXTII 机械手册_.pdf - 第186页
6. 预防保养 QD145-04 164 NXT Ⅱ机械手册 6.5 每月 (700 小时 ) 的操作 6.5.1 不良元件传送带的清扫 1. 拆除排出不良元件的传送带。( 详细请参考 " 8. 3 不良元件排出单元的更 换 "。) 2. 用干净的布干擦传送带的表面。 6.5.2 料盘单元 -L 的不良元件传送带和往复臂皮带的清扫 1. 拆 除料盘单元 -L。 ( 详细请参考 " 5.4 料盘单元 -L 的…

6. 预防保养 QD145-04
164 NXT Ⅱ机械手册
6.5 每月 (700 小时 ) 的操作
6.5.1 不良元件传送带的清扫
1. 拆除排出不良元件的传送带。( 详细请参考 " 8.3 不良元件排出单元的更换 "。)
2. 用干净的布干擦传送带的表面。
6.5.2 料盘单元 -L 的不良元件传送带和往复臂皮带的清扫
1. 拆除料盘单元 -L。(详细请参考 " 5.4 料盘单元 -L 的拆除 / 安装 "。)
2. 用干净的布干擦不良元件传送带和往复臂皮带的表面。
6.5.3 料盘单元 -LT 的不良元件传送带和往复臂皮带的清扫
1. 拆除料盘单元 -LT。(详细请参考 " 5.5 料盘单元 -LT 的拆除 / 安装 "。)
2. 用清洁的布干擦不良元件传送带和往复臂皮带的表面。
01MEC-0442S

QD145-04 6. 预防保养
NXT Ⅱ机械手册 165
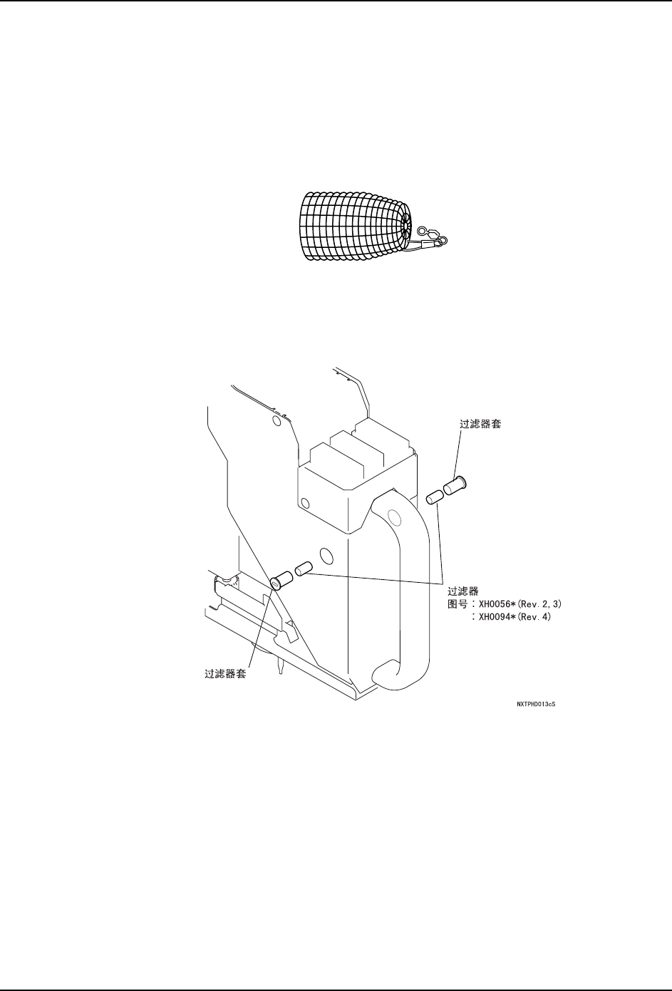
6.5.4 贴装工作头真空过滤器的清扫
关于清洗用网笼
真空过滤器的清洗使用另售的网笼操作时比较方便。放入清洗用网笼的过滤器个数如下所
示。
·H04,H08,H12(S),H12HS 工作头用过滤器 : 最大 40 个。
·H01,H02工作头用过滤器:最大20个。
〈H01 工作头〉
1. 拆下贴装工作头。(详细请参考 " 5.6 贴装工作头的拆除 / 安装 "。)
2. 使用一字型螺丝刀,松开过滤器套并卸下过滤器。
3. 将过滤器盖罩浸在中性洗涤剂溶液中进行清洗。污垢严重时,请更换新的部件。
备注 )将收存在过滤器套中的过滤器放入用于清洗的选项网笼中 (K1325C)。请在中性洗涤
剂中浸泡 5 分钟后用超声波清洗器清洗。
NXTPHD028
