FUJI NXTII 机械手册_.pdf - 第279页
QD145-04 7. 消耗品的更换 NXT Ⅱ机械手册 257 7.6 模组 CPU 箱电池 模组在即使主电源开关处于 OFF 时, 也可以 根据 CPU 箱内存的电池保持以下的信息。 但是 , 电池在已经消耗的情况下,如果 将机器的主电源开关处于 OFF 时,这些信息会消 失。 a. 各种固有值 ·矩阵数据 ·料站倾斜数据 ·自动校正结果 b. 模组功能设定值 c. 生产电路板信息 ·生产 Job 名 · 生产信息 ·Profile…

7. 消耗品的更换 QD145-04
256 NXT Ⅱ机械手册
〈H12(S) 工作头〉

QD145-04 7. 消耗品的更换
NXT Ⅱ机械手册 257
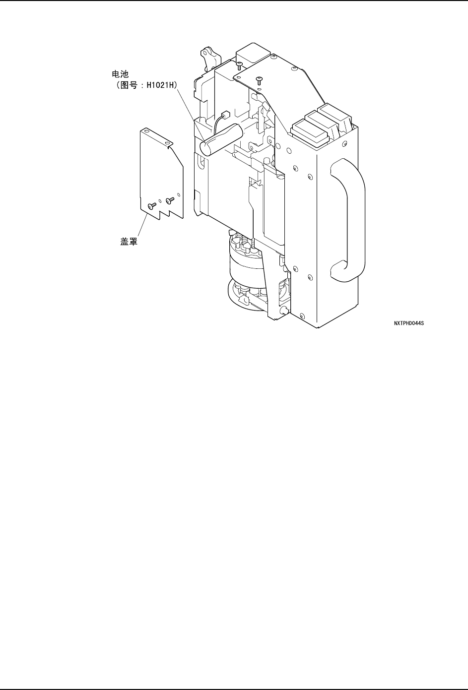
7.6 模组 CPU 箱电池
模组在即使主电源开关处于 OFF 时,也可以根据 CPU 箱内存的电池保持以下的信息。但是,
电池在已经消耗的情况下,如果将机器的主电源开关处于 OFF 时,这些信息会消失。
a. 各种固有值
·矩阵数据 ·料站倾斜数据 ·自动校正结果
b. 模组功能设定值
c. 生产电路板信息
·生产 Job 名 ·生产信息 ·Profiler 信息 ·生产结束顺序信息
为了保持信息,请必须在进行准备操作后更换电池。
7.6.1 电池的种类
*1:保证期间从电池的制造年月日开始。
*2:电池寿命根据使用环境有可能降低。
7.6.2 更换时期
电池报警时。
7.6.3 准备操作
1. 请确认手头是否有收存矩阵数据、料站倾斜数据、修正值文件的软盘。这个软盘在购买
机器时被附加。
备注 )在手头没有软盘时,请按照以下的操作进行。
将模组的矩阵测定数据保存到 PC 中。另外,请获取模组的料站倾斜测定数据。料站倾
斜测定数据在手动模式的「信息指令」上可以确认。(详细请参考「NXT II 系统手册」
章节的 「信息指令」)。
2. 请下载测定矩阵以及料站倾斜用的软件。详细请参考 「NXT II 系统手册」的 「附加软
件」章节的 「机器设定软件」- 「测定矩阵定用或者测定料站倾斜用的软件的下载」。
3. 请从贴装工作头上拆下吸嘴。
4. 如果在机器内有电路板的话,请将其除去。
5. 请将与贴装工作头对应的治具安装在吸嘴更换器上。治具吸嘴的数量与吸嘴头的数量相
一致。
6. 请准备更换用电池、控制电源用的内存电阻 (电阻值 :1M Ω以上)用的腕带。
图号 H1019M
名称 电池
规格 CR2450
保证期间 *1 7 年 (周围温度 40 ℃、无运转)*2

7. 消耗品的更换 QD145-04
258 NXT Ⅱ机械手册
7.6.4 电池的更换方法
1. 拉出模组。(参考 " 5.1 模组的拉出 / 插入 ")
a. 启动附加软件。选择对象的模组,单击 「固有值管理」。
b. 单击 「模组 CPU 箱的电池切断状态下的操作」。
c. 单击 「将模组松开」。
d. 拉出模组。(请参考 " 5.1 模组的拉出 / 插入 "。)
注意
·请不要使用指定以外的电池。
·请在不切断机器电源状态下更换电池。没有接通电源的状态下拆下电池时,有必要重
新设定马达的原点。
·使用完的电池请根据进行处理的地区的规定进行处理。
0(&6
0(&6
⾡᭄᳝ؐⱘ䞡ᮄⱏᔩϮ
g㒘&38ㆅⱘ⬉∴ߛᮁⱘ⢊ᗕϟⱘ᪡
g㒘&38ㆅⱘ⬉∴ߛᮁᯊџࠡᤶϮ
0(&6