FUJI NXTII 机械手册_.pdf - 第254页
6. 预防保养 QD145-04 232 NXT Ⅱ机械手册 〈TY 轴皮带张力〉( 离合器部 ) 1. 请测定皮带的张力。确认 在跨度最长的皮带中央的测定值是 225.0 ± 20.0Hz。 2. 测定值超过上述的范围时请调整皮带张力 。 请移动张紧轮进行调整。 r +] 7< 䕈 Ⲃᏺ 1;70786 1;70786 ᓴ ㋻䕂

QD145-04 6. 预防保养
NXT Ⅱ机械手册 231
2. 测定值超过上述的范围时请调整皮带张力。拧松马达的固定螺栓后,旋转调整螺栓进行
调整。
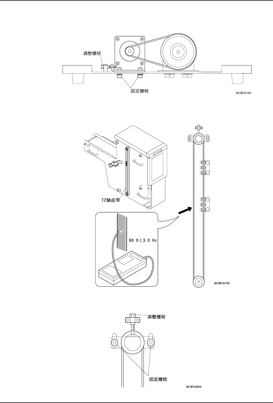
〈TZ 轴皮带张力〉( 料盘箱升降部 )
1. 请测定皮带的张力。确认在跨距最长的皮带中央的测定值是 60.0 ± 3.0Hz。
2. 测定值超过上述的范围时请调整皮带张力。
请松开张紧轮的固定螺栓后,旋转调整螺栓进行调整。

6. 预防保养 QD145-04
232 NXT Ⅱ机械手册
〈TY 轴皮带张力〉( 离合器部 )
1. 请测定皮带的张力。确认在跨度最长的皮带中央的测定值是 225.0 ± 20.0Hz。
2. 测定值超过上述的范围时请调整皮带张力。
请移动张紧轮进行调整。
r+]
7<䕈Ⲃᏺ
1;70786
1;70786
ᓴ㋻䕂

QD145-04 6. 预防保养
NXT Ⅱ机械手册 233
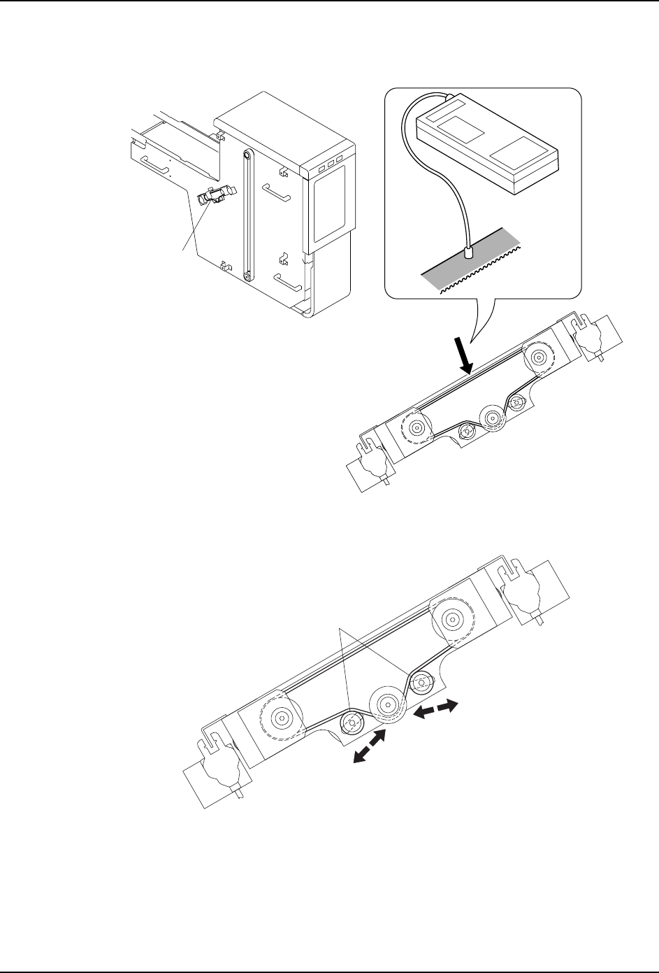
〈TY 轴皮带张力〉( 驱动部 )
1. 请测定皮带的张力。确认皮带中央的测定值是 363.0 ± 20.0Hz。
2. 测定值超过上述的范围时请调整皮带张力。
请拧松马达的固定螺栓后,旋转调整螺栓进行调整。
ᅮ㶎ᷧ
䇗ᭈ㶎ᷧ
1;70786