FUJI NXTII 机械手册_.pdf - 第344页
8. 部件的更换 QD145-04 322 NXT Ⅱ机械手册 4. 用螺丝刀将固定盖罩的螺丝 (4 根)松开后拆下。 5. 取下导线插头 (2 个 )。 01MEC-0326Sb ֱᡸⲪ㔽 㒓ᗻ偀䖒㒓䚼ߚ 㒓ᗻ偀䖒䕈 ;䕈啓䕂Ⲫ㔽 㒓ᗻᷛሎ

QD145-04 8. 部件的更换
NXT Ⅱ机械手册 321
8. 部件的更换
8.1 元件相机的更换
相机盖罩、灯具、变焦镜以及相机主体是作为一个单元来处理的。不能仅对其中的单个部件
的进行更换。
8.1.1 必要工具
十字型螺丝刀,六角扳手一套。
8.1.2 操作时间
旧灯具 / 相机单元的卸下→新单元安装为止约十分钟。
8.1.3 更换方法
1. 拉出模组。(参考 " 5.1 模组的拉出 / 插入 ")
2. 将主电源开关 OFF。
3. 请在线性马达轴处于常温后,安装保护盖罩。
警告
在更换元件相机前,务必切断机器主电源。
警告
模组刚运转后,请不要直接触摸线性马达的轴和线圈部分。有可能因高温被灼伤。
模组的线性马达有强力的磁性。使用心藏起搏器的用户,请不要接近线性马达的轴或者
线圈部分 (请离开 400mm 以上进行操作)。有可能因为磁力造成心藏起搏器的误动。
注意
将 XY 机械手用手进行移动时,请抓住框架部分。抓住贴装工作头主体或者手柄时,请
不要对工作头施加压力。
请不要压住 X 轴的齿轮盖罩。因为齿轮盖罩有可能变形。
在模组的线性马达附近操作时 (55mm 以内 ),不要使用通常的金属工具,请使用非磁性
的工具。
在模组的线性马达附近 (55mm 以内 ),请不要将磁卡、手表、精密仪器等靠近。有可能
因磁力而产生故障。
在进行工作头更换和维修保养操作时,请注意不要将物品碰到线性马达上 , 会造成损
伤,如果在线性标尺上发生了伤痕或者错误时 , 有可能不能生产。那时,有必要更换线
性马达。

8. 部件的更换 QD145-04
322 NXT Ⅱ机械手册
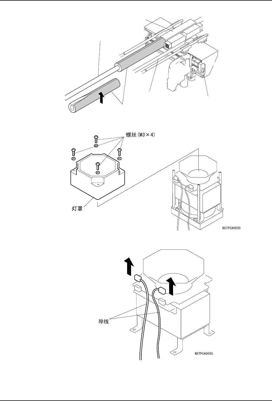
4. 用螺丝刀将固定盖罩的螺丝 (4 根)松开后拆下。
5. 取下导线插头 (2 个 )。
01MEC-0326Sb
ֱᡸⲪ㔽
㒓ᗻ偀䖒㒓䚼ߚ
㒓ᗻ偀䖒䕈
;䕈啓䕂Ⲫ㔽
㒓ᗻᷛሎ

QD145-04 8. 部件的更换
NXT Ⅱ机械手册 323
6. 用扳手拧松螺栓(4根)并取下。小心地拆下灯具。
注意 )安装的时候,请注意在螺柱上不要被导线咬住,有可能发生短路。
7. 用扳手拧松固定在相机单元上的螺栓(4根)并取下。
01MEC-0201Sa
㶎᷅䆚߿ᷛ䆄
᮴ῑ
⫼Ѣᷛޚ
3Ⳍᴎ㧕
ḍῑ
㧔⫼Ѣ催ߚ
䕼⥛Ⳍᴎ㧕
ḍῑ
㧔⫼Ѣջܝ♃
Ⳍᴎ㧕
♃ऩܗ
㶎᷅Փ⫼0⫼ⱘ݁㾦ᡇ