FUJI NXTII 机械手册_.pdf - 第289页
QD145-04 7. 消耗品的更换 NXT Ⅱ机械手册 267 2. 取下压板,更换荧光贴纸。

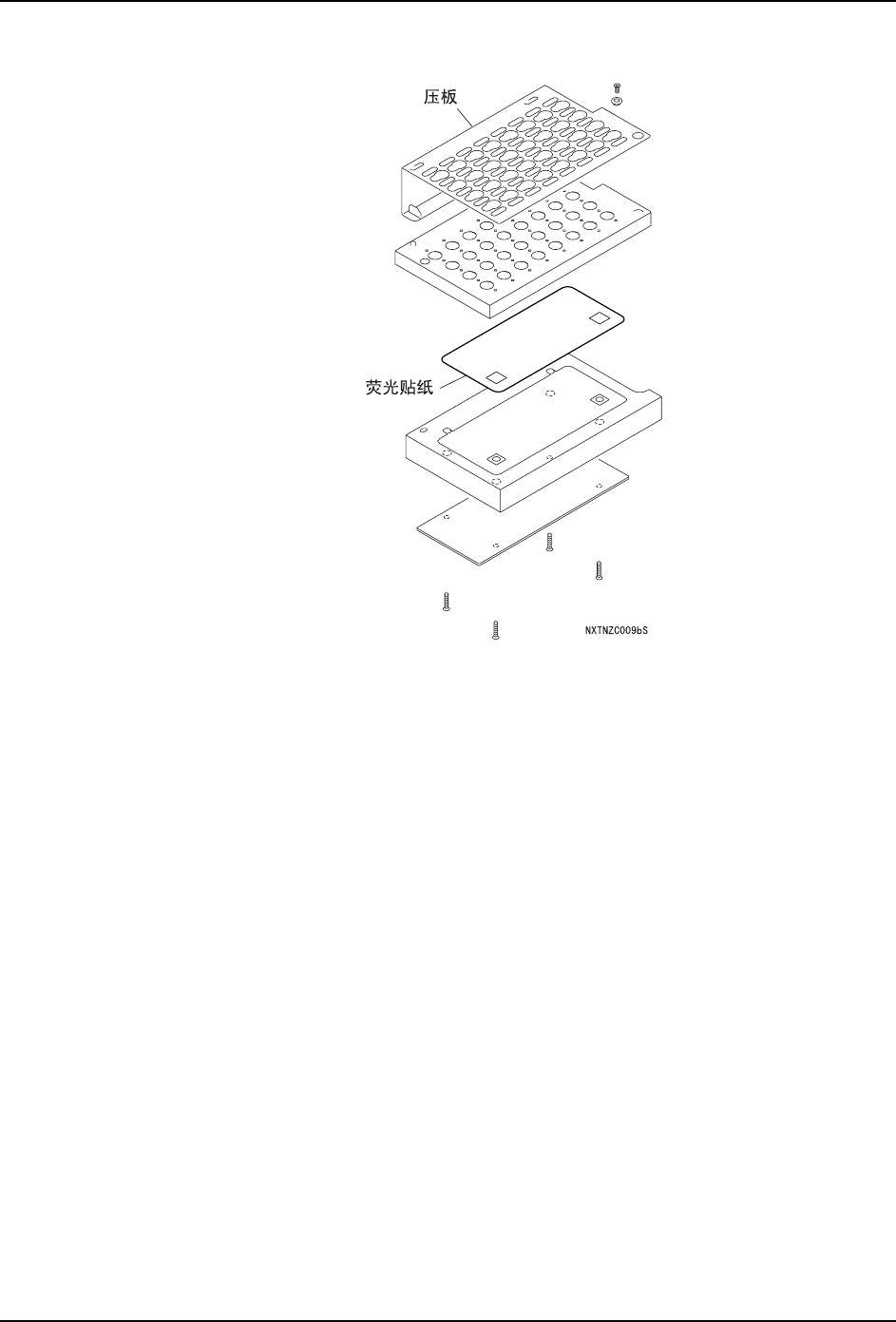
QD145-04 7. 消耗品的更换
NXT Ⅱ机械手册 267
2. 取下压板,更换荧光贴纸。

7. 消耗品的更换 QD145-04
268 NXT Ⅱ机械手册
7.9 模组内电路板的保险丝
保险丝烧断后,电路板上的保险丝检查用 LED 灯灭。请确认更换前保险丝有无烧断。
为了防止静电,请使用控制电流用的内存电阻 ( 电阻值在 1M Ω以上 ) 的防静电腕带。碗带
的连接口 (EARTH BONDING POINT)设置在基座的正面以及背面。
备注 )在串行号 No.798 以前的 4M-2 基座、串行号 No.189 以前的 2M-2 基座上,没有背面的
防静电腕带接口。请使用基座内部的地线 BKT。
7.9.1 模组远程控制 I/O 电路板
1. 拆除远程控制 I/O 电路板前面的盖板。
2. 请将防静电腕带戴在手腕上。
3. 确认烧断的保险丝是哪一根后,将主电源开关 OFF 后切断机器的电源。
4. 从远程控制 I/O 电路板上拔下保险丝 (F1,F3) 并更换。
注意
在携带静电的状态下继续操作时,有可能使电路板的电子元件破坏。
01MEC-0264S
Ⲫᵓ
䖰ࠊ,2⬉䏃ᵓ
注意
在更换保险丝前,请务必切断电源。请用与拆下的保险丝相同容量的保险丝更换。
) )
/(' /('
1;7%$66D
) )
/(' /('
䖰ࠊ,2⬉䏃ᵓ
䖰ࠊ,2⬉䏃ᵓ
)⚻ᮁ˖/('݇♃
)⚻ᮁ˖/('݇♃
