FUJI NXTII 机械手册_.pdf - 第188页
6. 预防保养 QD145-04 166 NXT Ⅱ机械手册 〈H02 工作头〉 1. 拆下贴装工作头。 (详细请参考 " 5.6 贴装工作头的拆除 / 安装 "。) 2. 使用一字型螺丝刀,松开过滤器套并卸下 过滤器。 3. 将过滤器盖罩浸在中性洗涤剂溶液中进行 清洗。污垢严重时,请更换新的部 件。 备注 )将收存在过滤器套中的过滤器放入用于清洗的选项网笼中 (K1325C) 。请在中性洗涤 剂中浸泡 5 分钟后用…

QD145-04 6. 预防保养
NXT Ⅱ机械手册 165
6.5.4 贴装工作头真空过滤器的清扫
关于清洗用网笼
真空过滤器的清洗使用另售的网笼操作时比较方便。放入清洗用网笼的过滤器个数如下所
示。
·H04,H08,H12(S),H12HS 工作头用过滤器 : 最大 40 个。
·H01,H02工作头用过滤器:最大20个。
〈H01 工作头〉
1. 拆下贴装工作头。(详细请参考 " 5.6 贴装工作头的拆除 / 安装 "。)
2. 使用一字型螺丝刀,松开过滤器套并卸下过滤器。
3. 将过滤器盖罩浸在中性洗涤剂溶液中进行清洗。污垢严重时,请更换新的部件。
备注 )将收存在过滤器套中的过滤器放入用于清洗的选项网笼中 (K1325C)。请在中性洗涤
剂中浸泡 5 分钟后用超声波清洗器清洗。
NXTPHD028

6. 预防保养 QD145-04
166 NXT Ⅱ机械手册
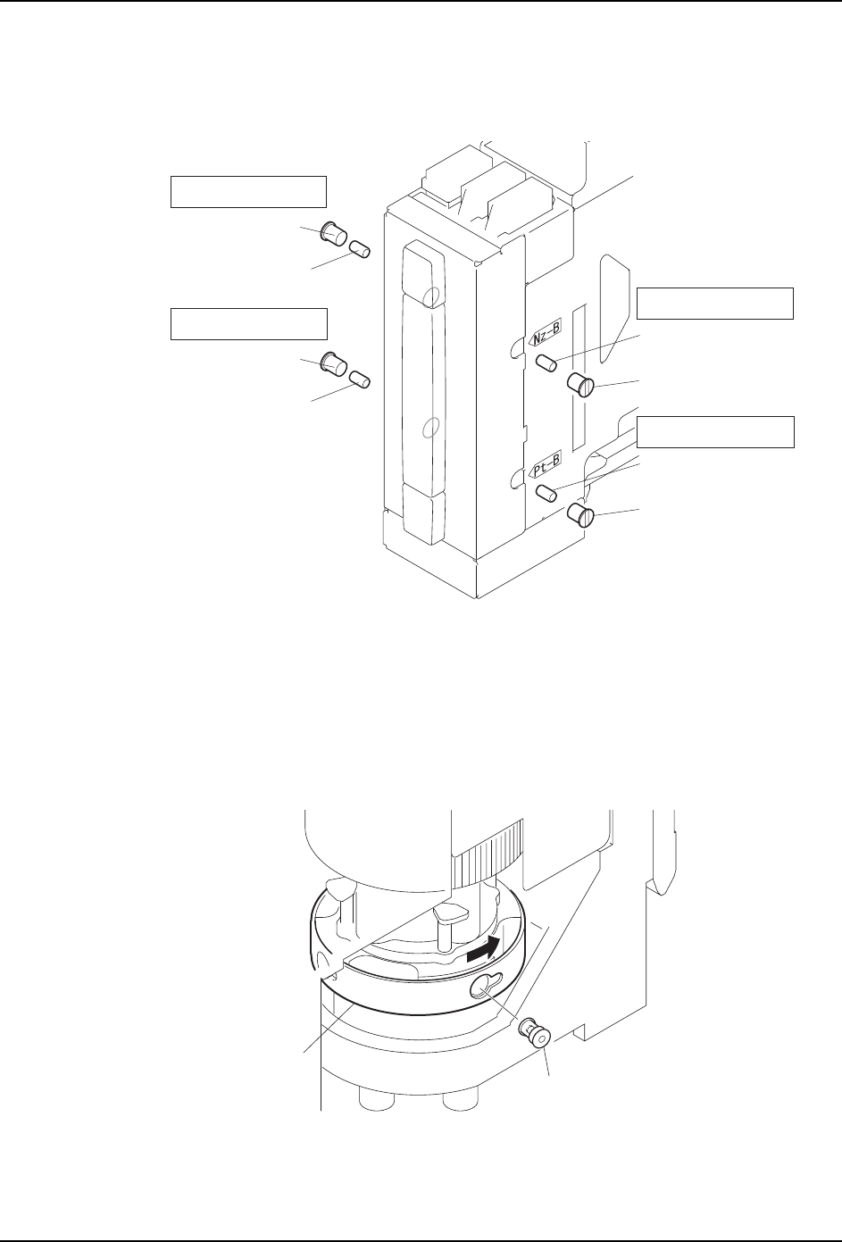
〈H02 工作头〉
1. 拆下贴装工作头。(详细请参考 " 5.6 贴装工作头的拆除 / 安装 "。)
2. 使用一字型螺丝刀,松开过滤器套并卸下过滤器。
3. 将过滤器盖罩浸在中性洗涤剂溶液中进行清洗。污垢严重时,请更换新的部件。
备注 )将收存在过滤器套中的过滤器放入用于清洗的选项网笼中 (K1325C)。请在中性洗涤
剂中浸泡 5 分钟后用超声波清洗器清洗。
〈H04 工作头〉
1. 拆下贴装工作头。(详细请参考 " 5.6 贴装工作头的拆除 / 安装 "。)
2. 旋转过滤器罩环,拆下过滤器套和过滤器。
3. 将过滤器套与过滤器浸在中性洗涤剂溶液中进行清洗。污垢严重时,请更换新的部品。
备注 )将收存在过滤器套中的过滤器放入用于清洗的选项网笼中 (K1325C)。请在中性洗涤
剂中浸泡 5 分钟后用超声波清洗器清洗。
0(&6
ఈ༈%পఈ⫼
ఈ༈$পఈ⫼
ఈ༈%পܗӊ⫼
ఈ༈$পܗӊ⫼
䖛Ⓒ఼
োĩ;+
䖛Ⓒ఼༫
䖛Ⓒ఼༫
䖛Ⓒ఼༫
䖛Ⓒ఼༫
䖛Ⓒ఼
োĩ;+
䖛Ⓒ఼
োĩ;+
䖛Ⓒ఼
োĩ;+
1;73+'6D
䖛Ⓒ఼㔽⦃
䖛Ⓒ఼༫$$2$/
ݙ᳝䖛Ⓒ఼

QD145-04 6. 预防保养
NXT Ⅱ机械手册 167
〈H08 工作头〉
1. 拆下贴装工作头。(详细请参考 " 5.6 贴装工作头的拆除 / 安装 "。)
2. 旋转过滤器罩环,卸下过滤器套和过滤器。
3. 将过滤器套和过滤器浸在中性洗涤剂溶液中进行洗净。污垢严重时,请与新品更换。
备注 )将收存在过滤器套中的过滤器放入用于清洗的选项网笼中 (K1325C)。请在中性洗涤
剂中浸泡 5 分钟后用超声波清洗器清洗。
〈H12(S)/H12SH 工作头〉
1. 拆下贴装工作头。(详细请参考 " 5.6 贴装工作头的拆除 / 安装 "。)
2. 旋转过滤器罩环,卸下过滤器套和过滤器。
3. 将过滤器套和过滤器浸在中性洗涤剂溶液中进行洗净。污垢严重时,请与新品更换。
备注 )将收存在过滤器套中的过滤器放入用于清洗的选项网笼中 (K1325C)。请在中性洗涤
剂中浸泡 5 分钟后用超声波清洗器清洗。
ো$$2$/
1;73+'6E
䖛Ⓒ఼㔽⦃
䖛Ⓒ఼༫
䖛Ⓒ఼
01MEC-0194S
োAA19H**
䖛Ⓒ఼㔽⦃
䖛Ⓒ఼༫
䖛Ⓒ఼