FUJI NXTII 机械手册_.pdf - 第261页
QD145-04 6. 预防保养 NXT Ⅱ机械手册 239 6.10.9 搬运轨道传送带的清扫 清扫时期 发生以下不良情况时,请清扫搬 运轨道传送带。 · 在搬运轨道表面粘附的焊剂污浊 电路板。 · 电路板的停止位置不安定或者发 生电路板搬运错误。 步骤 1. 拉 出模组。 (参考 " 5.1 模组的拉出 / 插入 ") 2. 请将主电源开关 OFF。 3. 用浸有工业用酒精的柔软的布清扫搬运轨道传送带的搬运面。一…

6. 预防保养 QD145-04
238 NXT Ⅱ机械手册
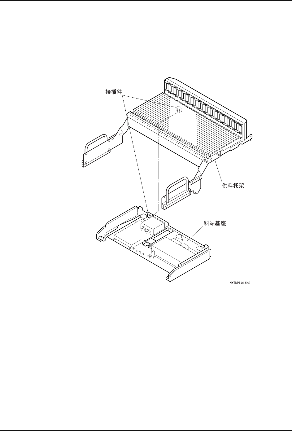
6.10.6 料站基座与料站托架间接插件的清扫
托架夹紧发生异常时
如果出现警告,请进行以下的清扫。
1. 拆下料站托架。( 详细请参考 " 5.3 料站托架的拆除 / 安装 ")
2. 用吸尘器吸取残留在接插件 ( 料站托架侧与基座两侧 ) 的垃圾及灰尘。
6.10.7 贴装工作头真空过滤器的检查·更换 〈H01/H02 工作头〉
吸嘴真空异常时,请检查贴装工作头真空过滤器的污染状况。污垢严重的时候请与新品进行
更换。(关于更换步骤,请参考 " 6.5.4 贴装工作头真空过滤器的清扫 ")
6.10.8 搬运轨道传送带张力的检查
检查时期
电路板的停止位置不稳定或者发生电路板搬运错误的时候,请检查搬运轨道传送带。(关于
更换步骤,请参考 " 6.9.11 搬运轨道传送带张力的检查 ")

QD145-04 6. 预防保养
NXT Ⅱ机械手册 239
6.10.9 搬运轨道传送带的清扫
清扫时期
发生以下不良情况时,请清扫搬运轨道传送带。
·在搬运轨道表面粘附的焊剂污浊电路板。
·电路板的停止位置不安定或者发生电路板搬运错误。
步骤
1. 拉出模组。(参考 " 5.1 模组的拉出 / 插入 ")
2. 请将主电源开关 OFF。
3. 用浸有工业用酒精的柔软的布清扫搬运轨道传送带的搬运面。一边旋转六角棒,一边擦
干净周围的污垢。
4. 将润滑剂 (Biral T&D)粘在别的布上。以上述相同的要领薄薄地涂敷在搬送面上。
备注 )在皮带搬运面上涂敷润滑剂是防治磨损的方法,请注意不要过分涂敷。
5. 最后用干布轻轻地擦掉润滑剂。
6.10.10 软支撑销的清扫
在销的前端粘附的焊剂污浊电路板时,请清扫软支撑销。
方法
请使用干的柔软的布轻轻地擦去软支撑销的污垢。污垢严重时,请与新的软支撑销更换。
注意 )软支撑销使用了一部份水溶性材料。请不要使用中性洗涤剂等溶液。

6. 预防保养 QD145-04
240 NXT Ⅱ机械手册
6.10.11 搬运轨道 CZ 轴皮带张力的检查·调整
在发生如电路板异常的时候,请检查搬运轨道传送带。
M3-2 搬运轨道的规定张力
图中记号 调整时张力 (Hz) 许容张力 (Hz) 备注
A 42±10 25~52 单搬运轨道
B 156 ± 10 94 ~ 166 双搬运轨道
C 96 ± 10 58 ~ 106 双搬运轨道
D 42±10 25~52 单搬运轨道
01MEC-0414S
ᓴҾ
(C)
䋼ऩᨀ䖤䔼䘧䋾
01MEC-0413S
䋼ঠᨀ䖤䔼䘧䋾
(A)
ᓴҾ
(B)