FUJI NXTII 机械手册_.pdf - 第305页
QD145-04 7. 消耗品的更换 NXT Ⅱ机械手册 283 7.13.3 基座用风扇 1. 将主电源开关 OFF,切断机器的电源。 2. 拧下螺丝 (4 根 ), 卸下模组背面的盖板。 3. 拆下插座后将风扇与盖板一起从机座中 卸下, 拧下螺丝 (4 根 ), 将风扇从盖板中取出进 行更换。 警告 更换作业请必须在切断电源后进 行。 01MEC-0275S

7. 消耗品的更换 QD145-04
282 NXT Ⅱ机械手册
7.13.2 模组用风扇 ( 下侧 )
以下的更换步骤与 M3-2 模组和 M6-2 模组相同。
1. 将主电源开关 OFF。
2. 请拆除螺丝 (4 根 ),模组背面的盖板。
3. 拆除螺丝 (2 根),将安装风扇的架子从模组背面拆除。
4. 请拆除插头后将风扇和架子一起从模组中取出。拆除螺丝(2 根),将风扇从架子上拆除
进行更换。
警告
更换作业请必须在切断电源后进行。
01MEC-0274S

QD145-04 7. 消耗品的更换
NXT Ⅱ机械手册 283
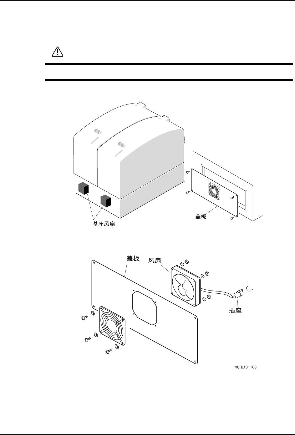
7.13.3 基座用风扇
1. 将主电源开关 OFF,切断机器的电源。
2. 拧下螺丝 (4 根 ), 卸下模组背面的盖板。
3. 拆下插座后将风扇与盖板一起从机座中卸下, 拧下螺丝 (4 根 ), 将风扇从盖板中取出进
行更换。
警告
更换作业请必须在切断电源后进行。
01MEC-0275S

7. 消耗品的更换 QD145-04
284 NXT Ⅱ机械手册
7.13.4 用于料站托架 DC 电源的风扇
〈M6-2 模组〉
更换用于料站托架 DC 电源的风扇时, 请预先拆下料站托架。
1. 将主电源开关 OFF,切断机器的电源。
2. 拆下螺栓(4根)和风扇的插座,从料站托架上取下DC电源盖罩。
3. 拧下螺栓 (4 根 ),将风扇从 DC 电源盖罩中取出后进行更换。
警告
更换作业请必须在切断电源后进行。