TR6SNR_维修调整.pdf - 第53页
维修调整要领书 4-9 4- 9. 卡盘检知传感器的更换及调整 请更换下图所示的传感器。 ※ 卡盘部关闭时由④的传感器检知, 当卡住托盘座板时由⑤的传感器检知。 在无托盘座板的状态下试 图卡夹时,④、⑤的传感器均不检知。 ④卡盘关闭检知 M (货号: HD00057000A ) ⑤卡盘打开检知 M (货号: HD00057000A )

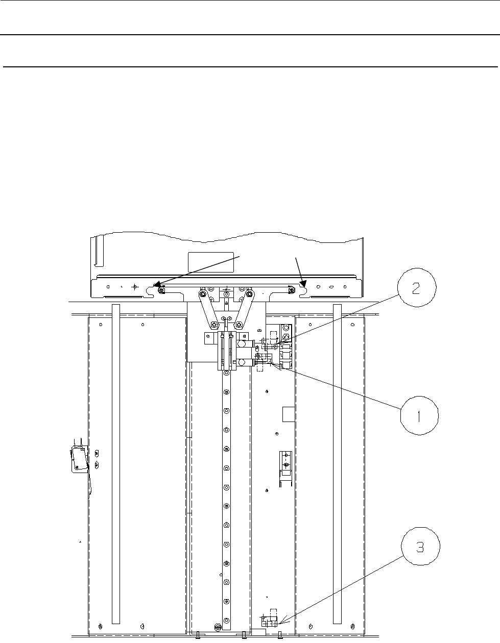
维修调整要领书
4-8
4-8. Y 轴原点、负向极限、正向极限传感器的更换及调整
请将传送带的轨道调到最小宽度之后拆下 Y COVER,更换传感器。
更换传感器后,仅原点传感器要进行以下检查。
以调试模式进行初始化后执行“7. Y Holder”,此时请确认夹持器部平稳地进入托盘座板的缺口。
①Y 轴原点传感器(货号:HD00057000A)
②Y 负向极限检知(货号:40045713)
③Y 正向极限检知(货号:40045713)
トレイベース切欠き
托盘座板的缺口

维修调整要领书
4-9
4-9. 卡盘检知传感器的更换及调整
请更换下图所示的传感器。
※ 卡盘部关闭时由④的传感器检知,当卡住托盘座板时由⑤的传感器检知。在无托盘座板的状态下试
图卡夹时,④、⑤的传感器均不检知。
④卡盘关闭检知 M(货号:HD00057000A)
⑤卡盘打开检知 M(货号:HD00057000A)

维修调整要领书
4-10
4-10. 托盘拉出检知(+)开关的更换及调整
请将传送带的轨道调到最小宽度之后,拆下 Y COVER 更换传感器。
请利用 A 的安装螺丝拆下托盘拉出检知(+)开关⑥予以更换。
更换后请确认,在拉出托盘座板的状态下托盘拉出检知(+)开关⑥会 ON。如不变为 ON 时,请松开
安装螺丝 C,将 Y 托盘开关托架 B 朝箭头方向移动,调整到可变为 ON。
⑥托盘拉出检知(+)(货号:HA001310000)