TR6SNR_维修调整.pdf - 第79页
维修调整要领书 5-7 5- 7. 自动调整宽度电动机的更换 ( 选项 : 自动调整宽度 ) 请拆下 C COVER B6D ,更换电动机。 请以( A )的螺丝连同托架一起拆下,以( B )的螺丝拆下电动机⑥。 皮带轮( C )与电动机轴要装配得成为同一平面。 更换后,请进行皮带张力调整。 ⑥自动调整宽度电动机(货号: 40045712 ) 同一平面 (8.1mm)

维修调整要领书
5-6
5-6. 传送带电动机的更换
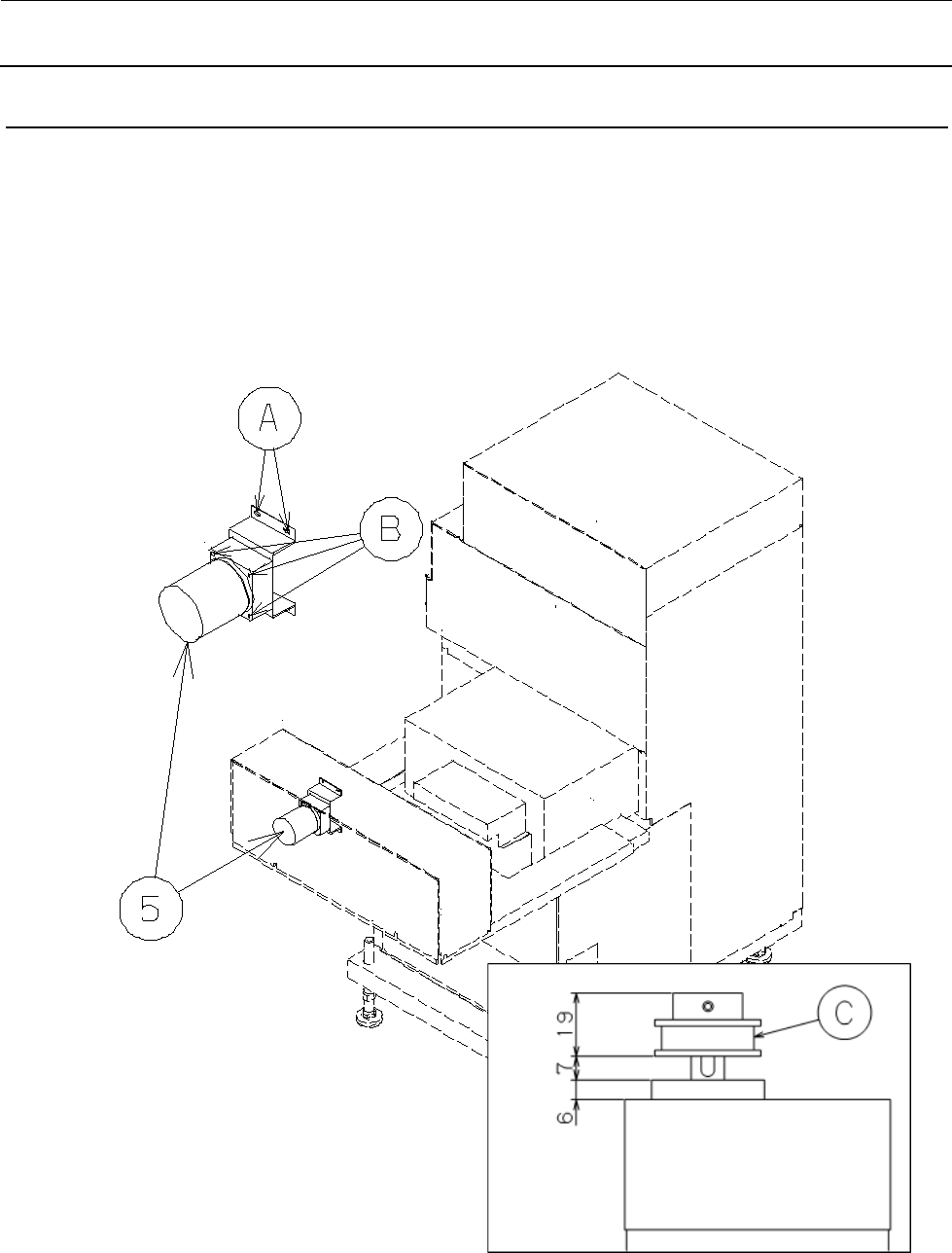
请拆下 C COVER B6D,更换电动机。
请以(A)的螺丝连同托架一起拆下,以(B)的螺丝拆下电动机⑤。
卸下电动机时请小心操作,以免损伤小型马达减速器。
组装时皮带轮(C)要符合图示的尺寸。
⑤传送电动机(货号:40045718)

维修调整要领书
5-7
5-7. 自动调整宽度电动机的更换(选项:自动调整宽度)
请拆下 C COVER B6D,更换电动机。
请以(A)的螺丝连同托架一起拆下,以(B)的螺丝拆下电动机⑥。
皮带轮(C)与电动机轴要装配得成为同一平面。
更换后,请进行皮带张力调整。
⑥自动调整宽度电动机(货号:40045712)
同一平面
(8.1mm)

维修调整要领书
6-1
6.
皮带的更换及调整
6-1. X 轴皮带的更换及调整(TR6SNR/TR6SNX)
请拆下 XF COVER 及 X COVER,更换皮带。
请松开电动机 BR①的安装螺丝,拆下空转轮 BR②(3 处)。
请拆下皮带 BR③更换皮带④。(安装扭矩:29.4N・cm,螺丝锁定:LOCTITE 粘结剂 277)
更换皮带后,请将滑架向左右移动,检查皮带有无摆动。
如有摆动时,有可能是皮带轮及空转滚柱未成垂直,故请移动空转轮 BR②进行调整。
接着请进行皮带的张力调整。
请将滑架向左端移动后,把电动机 BR①朝箭头方向移动,调整到以下的值。
P=0.98N(100g),挠曲=9mm
※ 使用声波式皮带张力计时
单位重量: 0.00127N/cm
2
皮带宽度: 6mm
跨距: 632mm
皮带张力: 15.78N(1.61kgf)
④X 皮带 6S(货号:E2028723000)
(316mm)
(632mm)