TR6SNR_维修调整.pdf - 第56页
维修调整要领书 4- 12 4- 12. X 轴原点、负向极限、正向极限传感器的更换及调 整 请拆下 XF COVER 及 X COVER ,更换传感器。 更换传感器后,仅原点传感器要进行以下检查。 请通过调试模式之“ 19. XYZ ADJ ”的“ H.P Off set ”确认与梭动器的吸盘无偏离。 ① X 轴原点传感器(货号: HD00057000A ) ② X 负向极限检知(货号: 40045713 ) ③ X 正向极限检知(货…

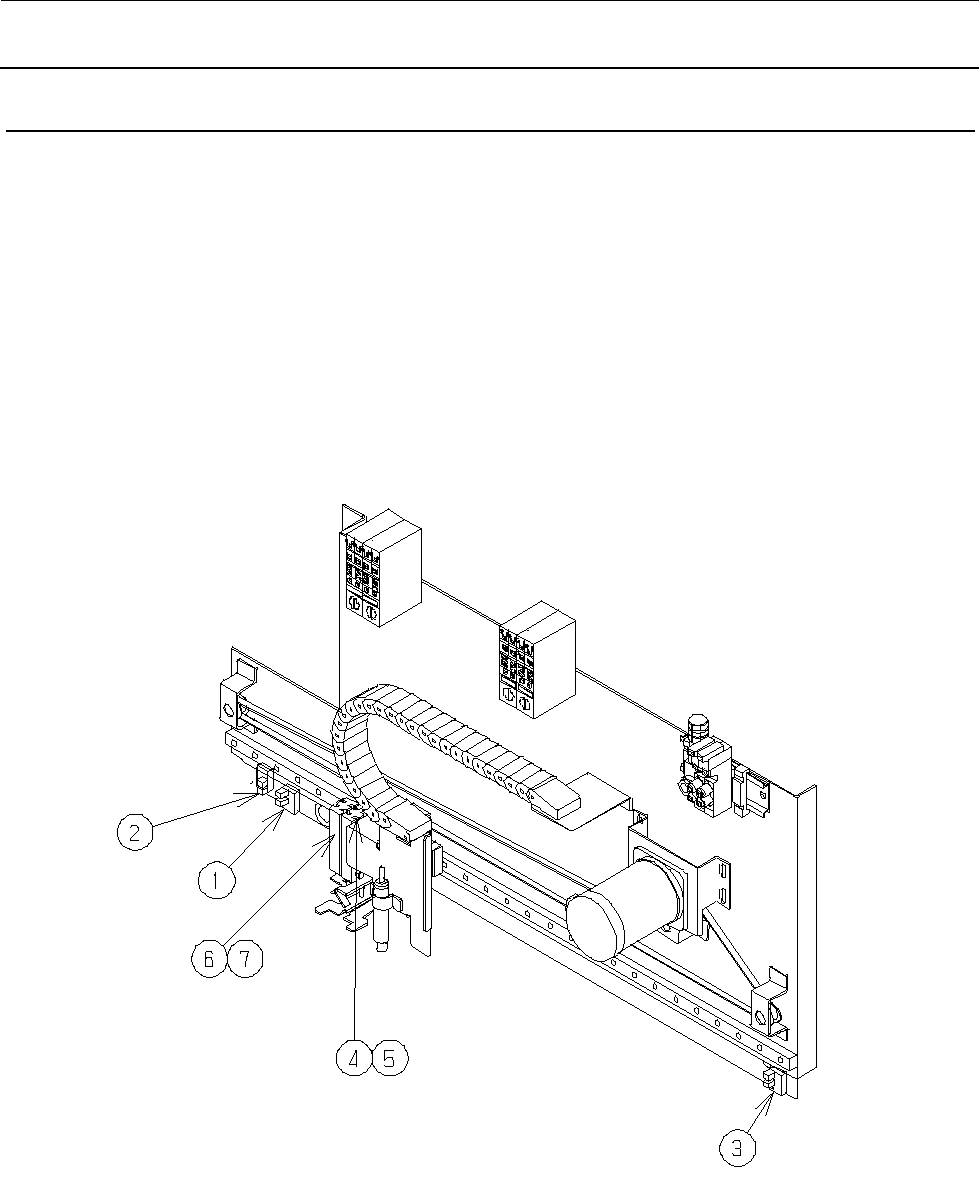
维修调整要领书
4-11
4-11. X 装置传感器布置图
①X 轴原点传感器(货号:HD00057000A)
②X 负向极限检知(货号:40045713)
③X 正向极限检知(货号:40045713)
④贴装头 R 下降传感器(货号:40045127)
⑤贴装头 R 上升传感器(货号:40045127)
⑥贴装头 L 下降传感器(货号:40045126)
⑦贴装头 L 上升传感器(货号:40045126)
※④⑤及⑥⑦是一套。

维修调整要领书
4-12
4-12. X 轴原点、负向极限、正向极限传感器的更换及调整
请拆下 XF COVER 及 X COVER,更换传感器。
更换传感器后,仅原点传感器要进行以下检查。
请通过调试模式之“19. XYZ ADJ”的“H.P Offset”确认与梭动器的吸盘无偏离。
①X 轴原点传感器(货号:HD00057000A)
②X 负向极限检知(货号:40045713)
③X 正向极限检知(货号:40045713)

维修调整要领书
4-13
4-13. 贴装头上升・下降传感器的更换及调整
请拆下 XF COVER 及 X COVER,更换传感器。
请松开传感器安装螺丝 A 更换传感器。
④⑤及⑥⑦是套件,故请同时更换。
更换后,请进行以下调整。
调整要做到,在气缸的拉回侧行程末端时上升传感器⑤、⑦的 LED 亮灯,在顶出侧的行程末端时下
降传感器④、⑥的 LED 亮灯。
传感器的检知范围约有 2.5mm,故要做到在其中央检知。
④贴装头 R 下降传感器(货号:40045127)
⑤贴装头 R 上升传感器(货号:40045127)
⑥贴装头 L 下降传感器(货号:40045126)
⑦贴装头 L 上升传感器(货号:40045126)
2
个
1
套
2
个
1
套