BM料架治具使用手册.pdf - 第22页
2.3 Gauge Jig Specifications Feeder Inspection Unit 2.3−1 DX1OEC−12−320−A0 2.3 Gauge Jig Specifications DX1OEC−12−320−A0 Sentence No. =REMARKS= • Be sure not loosen or remove the set screws of the stopper , block, guide …

Feeder Inspection Unit
2.2 Configuration
2.2−2
DX1OEC−12−310−A0
Camera
LED
Air tube
*3
Camera
cable
PNL cable
Ground terminal
Regulator
Connected to
air source
Connected to power box
Valve
Camera view
select lever
*3 Air tube (φ6) for valve should be provide by the customer.
=REMARKS=
The image signals to be output to the monitor of this inspection unit uses the NTSC standard.
When the monitor is to be provided by the customer, it must be NTSC type. There are three
standards for TV signals: NTSC, PAL and SECAM. The monitors distributed in customers’
countries may not comply with the NTSC standard. Refer to the following table and prepare an
applicable monitor.
Standard
Major countries adopting the standard
NTSC United States, Canada, Japan, Korea, Taiwan,
PAL UK, Italy, Germany, Australia, China
SECAM France, Greece, Bulgaria, Egypt

2.3 Gauge Jig Specifications
Feeder Inspection Unit
2.3−1
DX1OEC−12−320−A0
2.3 Gauge Jig Specifications
DX1OEC−12−320−A0
Sentence No.
=REMARKS=
• Be sure not loosen or remove the set screws of the stopper, block, guide pin, clamp claw and plate.
Otherwise, accuracy of the gauge jig cannot be ensured.
• Do not touch the plate. This can deform the plate.
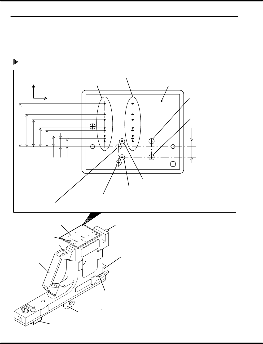
Arrangement of Wheel Positions and Pickup Positions of Feeders
72
56
44
32
16
8
72
56
44
32
24
16
12
V
MOTOR AIR
V
W
24
12
0603
8
W
34.2
26.2
20.2
14.2
11.5
7.5
5.5
3.5
10.75
Plate
Pneumatic feeder
X direction
(Width direction)
Y direction
(Feed direction)
Motorized feeder
Pneumatic double feeder
(R side)
Pneumatic double feeder
(L side)
V
R
: Pickup position (Motorized feeder, pneumatic feeder, double feeders; R side)
V
L
: Pickup position (Double feeder, L side)
Pneumatic double feeder
for 0603 (R side)
Pneumatic double feeder for 0603 (L side)
Guide pin
Plate
Gauge jig
Set screw
of plate
Block
Clamp claw
Guide pin
Stopper

MOTOR
72
The center of the
hole indicates the
wheel position of
the motor−operated
feeder for 72 mm.
Example of feeder type indication
Feeder Inspection Unit
2.3 Gauge Jig Specifications
2.3−2
DX1OEC−12−320−A0
• The center of a hole in the plate refers to the wheel and pickup positions of the respective feeders.
• A number (8, 12, 16, 24, 32, 44, 56, 72) next to a hole is the tape width of the feeder concerned (feeder
specifications).
• Letters adjacent to the wheel position hole stand for the feeder type (‘MOTOR’, ‘AIR’,
‘W’
0603
, ‘W’).
• Pickup position is marked with ‘V’ next to a hole.
Feeder type
Indication on the
plate
Pneumatic feeder
(Single feeder)
AIR
Motorized feeder
(Double feeder)
MOTOR
Pneumatic feeder
(Double feeder)
(Other than 0603)
W
Pneumatic feeder
(Double feeder) (For 0603)
W
0603
Pickup position V
Tape width
Indication on the
plate
8 mm width 8
12 mm width 12
16 mm width 16
24 mm width 24
32 mm width 32
44 mm width 44
56 mm width 56
72 mm width 72