BM料架治具使用手册.pdf - 第54页
4.1 Adjusting Wheel Position Feeder Inspection Unit 4.1−1 1 DX1OEC−31−240−B0 =Specification= Motorized feeder Measure the dimension ‘A ’ in the illustration below . A Air conductor Feed wheel tooth (center line of feed w…

Feeder Inspection Unit
4.1 Adjusting Wheel Position
4.1−10
DX1OEC−31−240−B0
=Specification=
Pneumatic double feeder
Measure the dimension ‘A’ in the illustration below.
A
Air conductor
Feed wheel tooth
(center line of feed wheel)
Feeder type (width)
Standard value (A)
For 0603 size 62±0.075 mm
8mm 38±0.1 mm

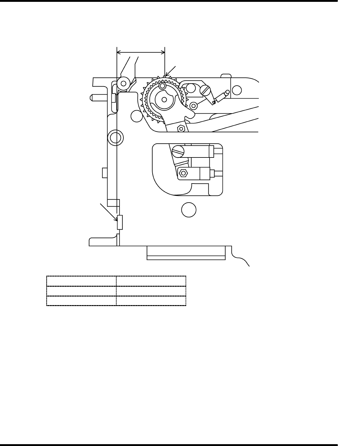
4.1 Adjusting Wheel Position
Feeder Inspection Unit
4.1−11
DX1OEC−31−240−B0
=Specification=
Motorized feeder
Measure the dimension ‘A’ in the illustration below.
A
Air conductor
Feed wheel tooth
(center line of feed wheel)
Feeder type (width)
Standard value (A)
12 to 24 mm 78±0.15 mm
32 to 72 mm 78±0.3 mm

Feeder Inspection Unit
4.1 Adjusting Wheel Position
4.1−12
DX1OEC−31−240−B0
Adjustment Procedures [Pneumatic Feeder]
• Seen from the front of the feeder (from the side feed wheel is visible)
Feed wheel
Back stop lever
Back stop eccentric pin
Stopper eccentric pin
Feed claw
Back stop eccentric pin
Stopper eccentric pin
• Seen from the back of the feeder
1. Loosen the set screws for back stop eccentric pin and for stopper eccentric pin using a screwdriver
and a box wrench.
2. Rotate the back stop eccentric pin to adjust so that the feed wheel tooth may fall within the standard
value range of the stop position. Then secure the back stop eccentric pin.
3. Rotate the stopper eccentric pin and make adjustment so that the feed claw tooth may be engaged
with the root of the ratchet wheel. Then secure the stopper eccentric pin.
4. Feed the feeder to check the feed wheel tooth position every six teeth. Repeat this check five times
and make sure the position falls within the above−mentioned standard range. (This is for measuring
several points within one complete turn.)
If the wheel tooth edge not within the range, make readjustment from the step 1.
=HINT=
Setting the ‘FEED TIMES’ switch between 2 and 4 when feeding makes adjustment easier.
Adjustment Procedures [Pneumatic Double Feeder]
Feed wheel
Positioning pin
Back stop eccentric pin
Feed claw
Back stop lever
1. Close the main cock of the air for the adjust unit. (This stops supplying air.)
2. Loosen the bolts for back stop eccentric pin and for positioning pin using a screwdriver and a box
wrench. (Use a screwdriver and a box wrench.)