KE-2050_KE-2050R_KE-2055R_KE-2060_KE-2060R-Rev14-.pdf - 第137页
- - REF.NO N OTE PA RT NO D E S C R I P T I O N Qty 1 400-73032 4 POR T MPC 1 2 HX-0066000-00 DU ST COVE R 3 3 400-73033 SW ITCHING HUB 1 4 SL -6 03 0 8 92- T N SCREW M3 L=8 4 5 SL -6 03 0 6 92- T N SCREW M3 L=6 4 6 EA…

- -
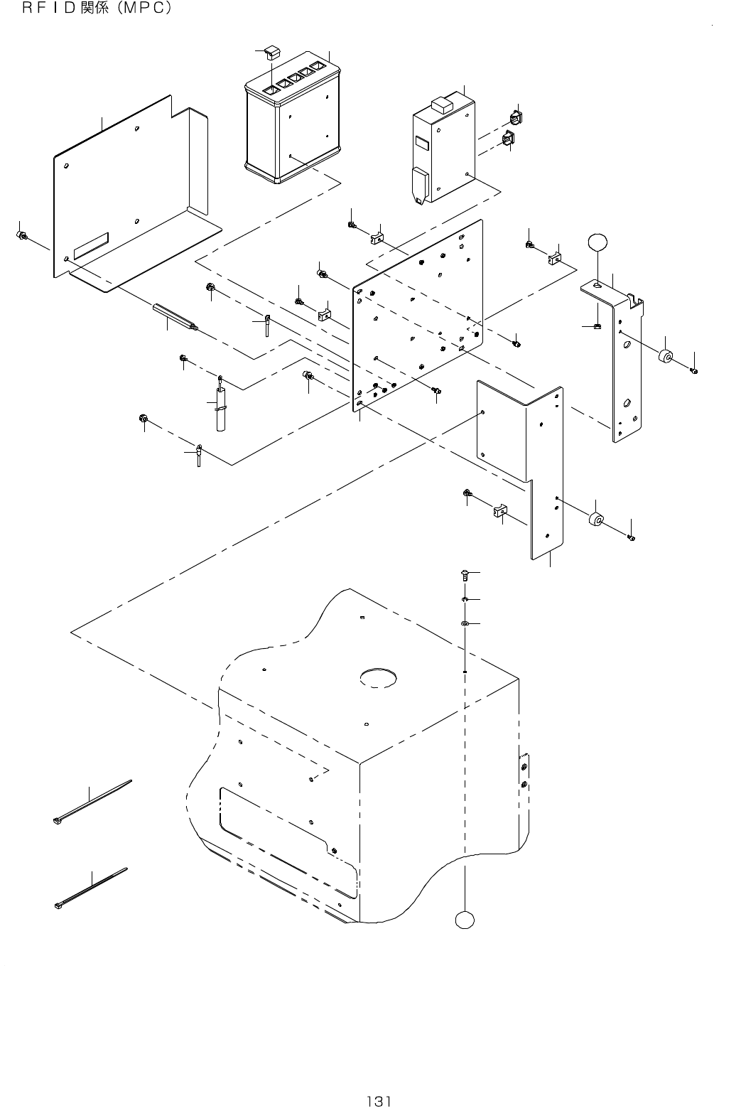
66.RFID COMPONENTS (MPC)
2
6
7
8
9
3
2
2
5
4
1 1
1 6
1 0
1 2
1 3
1 4
1 5
1 4
1 3
1 7
1 8
1 8
1 7
1 8
1 7
1 8
1 7
1 1
2 0
2 1
1 9
2 2
2 7
2 5
2 8
2 3
2 6
2 4
1
A
A

- -
REF.NO NOTE PART NO D E S C R I P T I O N Qty
1 400-73032 4 PORT MPC 1
2 HX-0066000-00 DUST COVER 3
3 400-73033 SWITCHING HUB 1
4 SL-6030892-TN SCREW M3 L=8 4
5 SL-6030692-TN SCREW M3 L=6 4
6 EA-9500B01-00 CABLE BAND 3
7 HX-0006500-0A CABLE CLIP 10
8 401-22635 MPC_BR_A 1
9 401-22636 MPC_BR_B 1
10 401-22637 MPC_BR_C 1
11 SL-6040892-TN BOLT 4
12 HX-0033900-0L SPACER 4
13 L127E-021-000 COVER CUSHION 4
14 SM-6030502-TN SCREW M3 L=5 4
15 401-22638 MPC_COVER 1
16 SL-6040892-TN BOLT 4
17 HX-0029400-00 FIXED BASE 5
18 SM-4040601-SC SCREW M4X0.7 L=6 5
19 SM-3041252-TN SCREW M4 L=12 1
20 WS-0410002-KN SPRING WASHER M4 1
21 WP-0430801-SC WASHER M4 1
22 NM-6040001-SN NUT M4X0.7 1
23 SL-4040691-SC SCREW M4 L=6 1
24 SL-4030691-SC SCREW M3 L=6 1
25 401-22506 SHIELDING TUBE 1
26 SL-4040691-SC SCREW M4 L=6 1
27 401-22518 MPC POWER CABLE (60) ASM 1
28 401-22522 RFID CONTROL BOX FG CABLE (60) 1

- -
67.RFID COMPONENTS (REPLACING OVERALL CHANGER TRUCK)
1
2
4 3
4
9
8
1 0
1 1
1 2
1 3
5
6
7