KE-2050_KE-2050R_KE-2055R_KE-2060_KE-2060R-Rev14-.pdf - 第79页
- - REF.NO N OTE PA RT NO D E S C R I P T I O N Qty 1 400-00886 GU I DE BLOCK ASM . 1 2 # 0 3 400-18880 GU I DE BLOCK ASM (C) 1 3 400-00887 GU I DE_BL O C K_ A_ ASM (1) 4 # 0 3 400-00887 GU I DE_BL O C K_ A_ ASM (1) 5 …

- -
37.PWB CONVEYOR COMPONENTS (7)
2 4
3 0
2 8
2 8
3 1
1 2
1 3
1 2
1 4
7
8
9
1 0
1 1
1 1
9
2 5
2 7
2 9
1 7
1 8
1 9
2 0
2 1
2 2
2 6
2 2
1 7
2 9
1 9
1 8
3 2 4 9
3 4
5 6
1 6
2 3
1 5

- -
REF.NO NOTE PART NO D E S C R I P T I O N Qty
1 400-00886 GUIDE BLOCK ASM. 1
2
#03
400-18880 GUIDE BLOCK ASM (C) 1
3 400-00887 GUIDE_BLOCK_A_ASM (1)
4
#03
400-00887 GUIDE_BLOCK_A_ASM (1)
5 400-00889 GUIDE_BLOCK_B_ASM (1)
6
#03
400-00889 GUIDE_BLOCK_B_ASM (1)
7
#04
400-15791 DAMPER PLATE L (1)
8
#04
400-15792 DAMPER PLATE R (1)
9
#04
400-15793 LOCK SPRING (2)
10
#04
400-00895 DAMPER BLOCK R (1)
11
#04
SL-6030892-TN SCREW (4)
12
#04
400-00891 STOPER SLIDE LEVER L (1)
13
#04
400-00897 STOPER SLIDE LEVER R (1)
14
#04
400-00892 DAMPER BLOCK L (1)
15
#03
400-00877 GUIDE BLOCK CLAMP (1)
16
#03
SM-6041602-TN SCREW M4 X 16 (1)
17 400-00978 DAMPER LOCK LINK 2
18 400-00950 DAMPER SPRING 2
19 RE-0300000-K0 E-RING 3 6
20 EA-9500B00-00 CLIP CV-70S 5
21 HX-0031400-00 SPIRAL TABE 0.3
22 400-01081 CENTERING PIN 4.0 2
23 400-00877 GUIDE BLOCK CLAMP 1
24 SM-6041602-TN SCREW M4 X 16 1
25 400-02122 T.PIN SENS ASM. 1
26 SL-6030692-TN SCREW M3 L=6 1
27 SL-4031091-SC SCREW M3 X 10 2
28 RE-0300000-K0 E-RING 3 2
29 400-00896 DAMPER LOCK PIN 2
30
#01
E2148-721-000 SENSOR BRACKET R 1
31
#02
E2147-721-000 SENSOR BRACKET L 1
32 400-01087 CENTERING PIN 3.4 1
33 400-01088 CENTERING PIN 3.3 1
34 400-01089 CENTERING PIN 3.2 1
35 400-01090 CENTERING PIN 3.1 1
36 400-01091 CENTERING PIN 3.0 1
37 400-01092 CENTERING PIN 2.9 1
38 400-01093 CENTERING PIN 2.8 1
39 400-01094 CENTERING PIN 2.7 1
40 400-01095 CENTERING PIN 2.6 1
41 400-01096 CENTERING PIN 2.5 1
42 400-01097 CENTERING PIN 2.0 1
43 400-01098 CENTERING PIN 1.9 1
44 400-01099 CENTERING PIN 1.8 1
45 400-01082 CENTERING PIN 3.9 1
46 400-01083 CENTERING PIN 3.8 1
47 400-01084 CENTERING PIN 3.7 1
48 400-01085 CENTERING PIN 3.6 1
49 400-01086 CENTERING PIN 3.5 1

- -
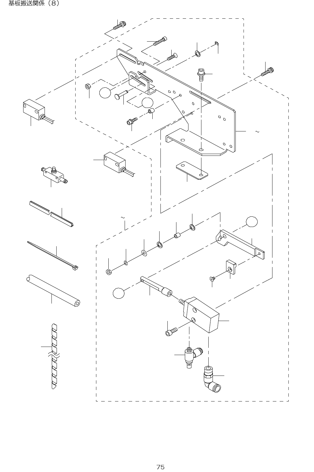
38.PWB CONVEYOR COMPONENTS (8)
4 4
3 5
3 3
3 2
3 1
3 4
2 7
3 0
A
2 6
2 9
2 9
A
4 5
2 8
9 1 6
1 7 2 4
2 5
3 6
3 7
3 8
3 9
4 0
4 1
4 2
4 3
4 6
4 7
1
2
3
3
4
5
6
8
7
B
B