TR5S维修调整.pdf - 第102页
维修调整要领书 6-7 6- 3. Z 皮带的更 换 及 调整 请拆下 Z 皮带罩⑦,通过张紧器②使 Z ①的张力松缓。 请将 Z 电动机连同托架③一起拆下。 请拆下 END PLATE ④和 Z 轴承板⑤的安装螺丝,抬起滚珠螺杆,更换 Z 皮带①。 安装 Z 轴承板⑤时,请把 Z 轴降到最下方,安装 END PLATE ④时则把 Z 轴升到最上方再进行组装。 ① Z 皮带(货号: E 1202726000 ) 张 力的 测 定 请 在…

维修调整要领书
6-6
更换 Y 皮带①、YJ 皮带②后,要调整皮带的张力。
请使用声波式皮带张力计,使用下表的数值进行调整。
①Y 皮带(货号:E5313723000)
②YJ 皮带(货号:E5315723000)
YJ 皮带②张力
Y 皮带①张力
单位重量 Weight
0.00245N/cm
2
(0.25gf/cm
2
) 0.00245N/cm
2
(0.25gf/cm
2
)
皮带宽度 Width
9.00mm 9.00mm
跨度 Span
543mm 493mm
皮带张力 Tension
88±20N (9±2kgf) 88±20N (9±2kgf)
以 5.9N(0.6kgf)按压时的挠曲量
8.5mm 7.7mm
张力的测定请在皮
带中央部进行。

维修调整要领书
6-7
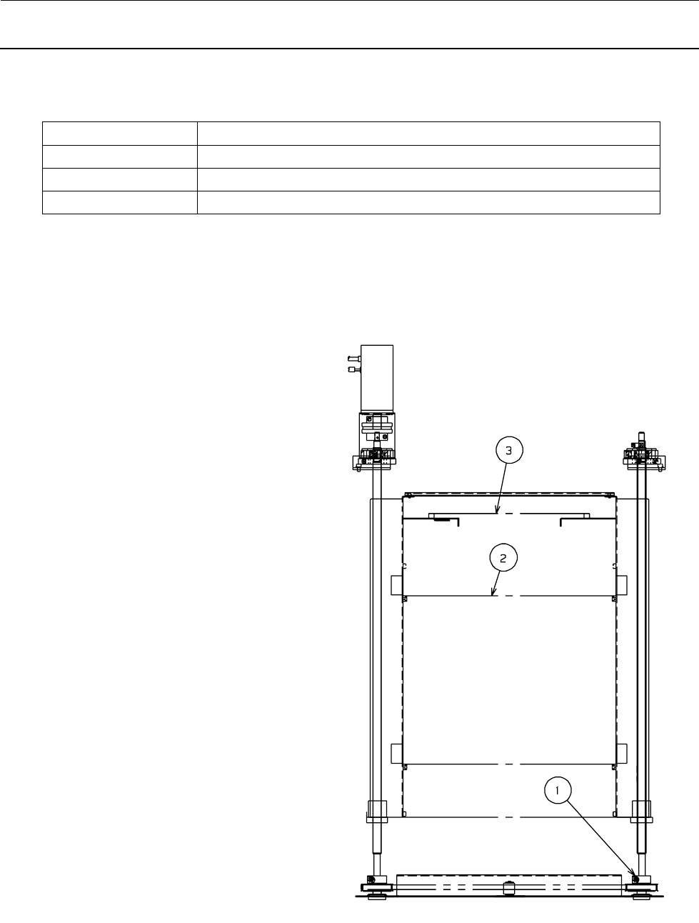
6-3. Z 皮带的更换及调整
请拆下 Z 皮带罩⑦,通过张紧器②使 Z①的张力松缓。
请将 Z 电动机连同托架③一起拆下。
请拆下 END PLATE④和 Z 轴承板⑤的安装螺丝,抬起滚珠螺杆,更换 Z 皮带①。
安装 Z 轴承板⑤时,请把 Z 轴降到最下方,安装 END PLATE④时则把 Z 轴升到最上方再进行组装。
①Z 皮带(货号:E1202726000)
张力的测定请在皮
带中央部进行。

维修调整要领书
6-8
・ Z 皮带的张力调整
请使用声波式皮带张力计或普通张力计进行张力调整。
单位重量
Weight
0.00245 N/cm
2
(0.25 gf/cm
2
)
皮带宽度
Width
9.00 mm
跨度 Span
494 mm
皮带张力 Tension
98±20N (10±2 kgf)
・ 滚珠螺杆的相位调整
松开裂缝轴环①,调整滚珠螺杆的
相位。
请调整到叠盘箱导轨②的表面与
Y 轨道③的左右之差在 0.05mm 以
内。