TR5S维修调整.pdf - 第73页
维修调整要领书 4-5 4- 5. 闸门传感器的更换 及 调整 以调试模式的“ Z JOG ”将传感器移动到容易更换的位置之后予以更换。 ⑩ SHT CLOSE SENS (货号: HD001710000 ) ⑪ SHT OPEN SENS (货号: HD001710000 )

维修调整要领书
4-4
4-4. 叠盘箱安装传感器的更换
请拆下 SIDE COVER U,以调试模式的“Z JOG”将传感器移动到容易更换的位置之后予以更换。
⑧STK S SET SENS(货号:HD001710000)
⑨STK M SET SENS(货号:HD001710000)

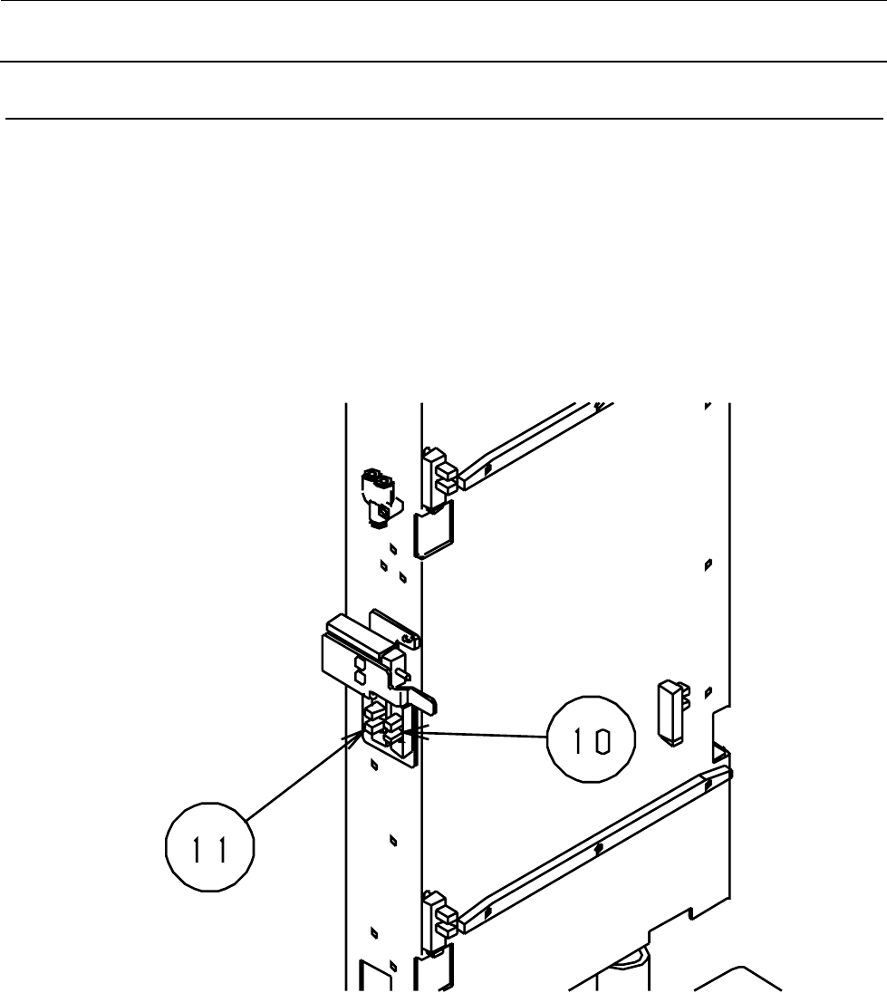
维修调整要领书
4-5
4-5. 闸门传感器的更换及调整
以调试模式的“Z JOG”将传感器移动到容易更换的位置之后予以更换。
⑩SHT CLOSE SENS(货号:HD001710000)
⑪SHT OPEN SENS(货号:HD001710000)

维修调整要领书
4-6
4-6. 托盘误插入传感器的更换及调整
请卸下叠盘箱,更换传感器。
更换后,请安装叠盘箱及托盘座板,确认受光侧传感器⑬的稳定显示灯(GREEN)及输出显示等
(OREANGE)已亮灯。
继而请再确认,即使把托盘座板在可松动的范围内移动,输出显示灯(ORANGE)也会亮灯。
如果输出显示灯(ORANGE)熄灭,请以光轴的调整及光量调整旋钮进行调整。
接着请确认当传感器遮光时输出显示灯(ORANGE)熄灭。
⑫投光侧传感器
⑬受光侧传感器
输出显示灯
ORANGE
稳定显示灯
GREEN
电源显示灯
ORANGE
光量调整旋钮
※下述版本以后的机器没有旋钮式调整功能。
TR5SNR : Rev.F
TR5SNX : Rev.D
TR5SNJ : Rev.A
TR5SNI : Rev.A