TR5S维修调整.pdf - 第109页
维修调整要领书 7-6 7- 5. Y 装置部的气动部件配置图 ①卡盘开闭气缸(货号: PA1001524A0 ) 气缸 φ 10 气缸座 L 侧 ②卡盘开闭气缸(货号: PA1001524A0 ) 气缸 φ 10 气缸座 R 侧 ③卡盘开闭阀(货号: 40049595 ) ④ Y 夹持器减速用电磁阀(货号: 40049588 ) SLOW MODE (TRAY HLD2) CABLE 2 ASM ⑤ Y 夹持器减速用电磁阀(货号: 4…

维修调整要领书
7-5
7-4. 闸门减速电路的更换
请拆下 SV BR(A)的紧固螺丝(B),更换 SLOW MODE(SHT)CABLE 3 ASM②。
③SLOW MODE (SHT) CABLE 3 ASM(货号:40049706)

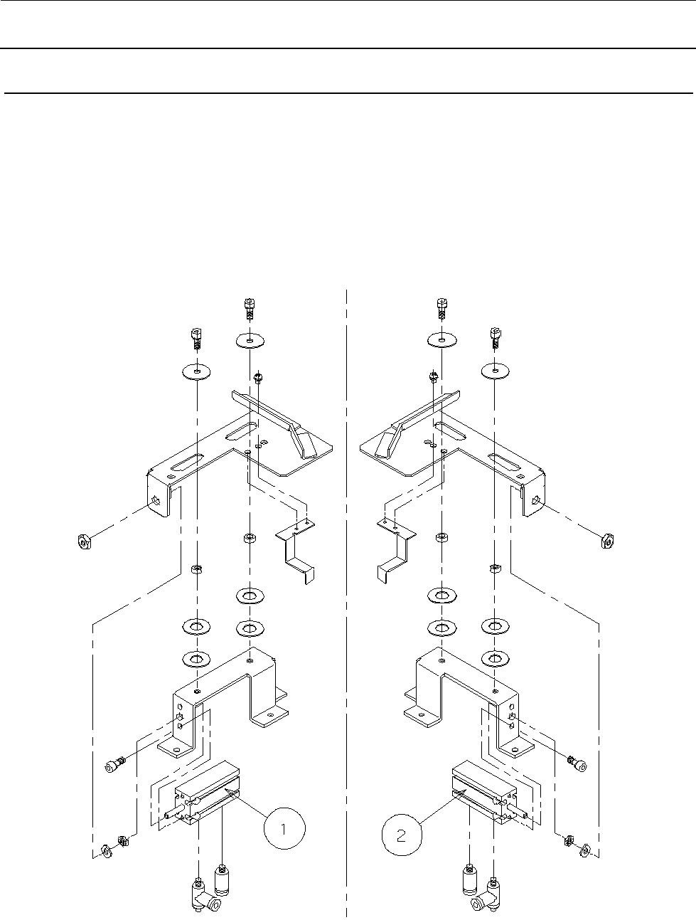
维修调整要领书
7-6
7-5. Y 装置部的气动部件配置图
①卡盘开闭气缸(货号:PA1001524A0)
气缸φ10 气缸座 L 侧
②卡盘开闭气缸(货号:PA1001524A0)
气缸φ10 气缸座 R 侧
③卡盘开闭阀(货号:40049595)
④Y 夹持器减速用电磁阀(货号:40049588)
SLOW MODE (TRAY HLD2) CABLE 2 ASM
⑤Y 夹持器减速用电磁阀(货号:40049586)
SLOW MODE (TRAY HLD1) CABLE 2 ASM

维修调整要领书
7-7
7-6. 卡盘开闭气缸的更换
请更换卡盘开闭气缸。
更换气缸后,请利用速度控制器将打开时间调整为 75msec±10msec。
①卡盘开闭气缸(货号:PA1001524A0)
气缸 φ10 气缸座 L 侧
②卡盘开闭气缸(货号:PA1001524A0)
气缸 φ10 气缸座 R 侧