TR5S维修调整.pdf - 第78页
维修调整要领书 4- 10 4- 10. 元件立碑传感器的更换及调整 请拆下传感器止动螺丝,更换传感器。 传感器的托架在出厂时已组装为下图尺寸,更换传感器时请不要移动。 ● TR5SNR/5SNX ⑪ CMPNT SENSOR R ASM (货号: 40049597 , 40152826 ※ 1 ) ⑫ CMPNT SENSOR L ASM (货号: 40049599 , 4015282 7 ※ 1 ) 26.9±0.2 26.9±0.…

维修调整要领书
4-9
4-9. 托盘检测传感器的更换
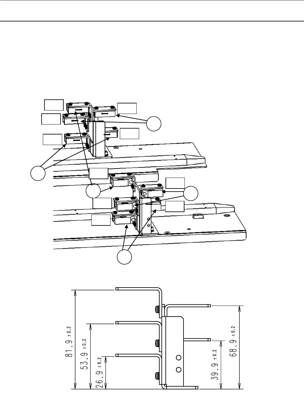
请卸下 Y 工作台(a),更换各个托盘检测传感器。
⑨托盘检测传感器 正向(货号:HD000900000)
⑩托盘检测传感器 负向(货号:HD000900000)
a

维修调整要领书
4-10
4-10. 元件立碑传感器的更换及调整
请拆下传感器止动螺丝,更换传感器。
传感器的托架在出厂时已组装为下图尺寸,更换传感器时请不要移动。
● TR5SNR/5SNX
⑪CMPNT SENSOR R ASM(货号:40049597, 40152826※1)
⑫CMPNT SENSOR L ASM(货号:40049599, 40152827※1)
26.9±0.2
26.9±0.2
39.9±0.2
39.9±0.2
※1 适用于下述版本以后
TR5SNR : Rev.F
TR5SNX : Rev.D

维修调整要领书
4-11
● TR5SNI
⑪CMPNT SENSOR R ASM(货号:40049597、40152826※1)
⑫CMPNT SENSOR L ASM(货号:40049599、40152827※1)
⑬CMPNT 37.5R SENSOR ASM(货号:40137840、40152799※1)
⑭CMPNT 51.5R SENSOR ASM(货号:40137841、40152800※1)
⑮CMPNT 65.5 SENSOR ASM(货号:40137839、40152801※1)
11
13
15
12
14
受光
投光
投光
受光
受光
投光
投光
受光
受光
投光
※1 适用于下述版本以后
TR5SNI : Rev.A