TR5S维修调整.pdf - 第70页
维修调整要领书 4-2 4- 2. Z 传感器的更换及调整 请以调试模式的“ Z JOG ”移动 Z 轴,将传感器移到容易更换的位置。 更换传感器需要短的螺丝刀。 更换后,仅② Z 轴原点传感器要进行以下确认。 初始化结束后请确认 Y 轨 道( A ) 与托盘座板 ( B ) 的尺寸为 - 0.2 ~ +0.2 。 出现偏差时, 请用 Z 传感器 碰块( C )进行调整。 ① Z 轴正向极限传感器(货号: HD001700000 ) ②…

维修调整要领书
4-1
4.
传感器的更换及调整
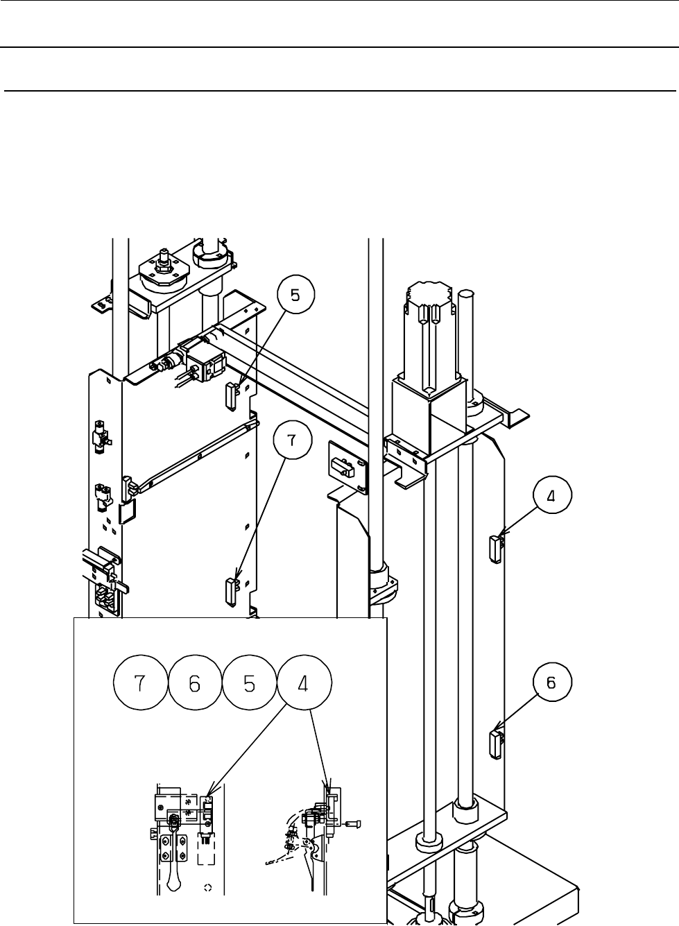
4-1. Z 装置传感器布置图
①Z 轴正向极限传感器(货号:HD001700000)
②Z 轴原点传感器(货号:HD001710000)
③Z 轴负向极限传感器(货号:HD001700000)
④STK S LOCK SENS R(货号:HD001710000)
⑤STK S LOCK SENS L(货号:HD001710000)
⑥STK M LOCK SENS R(货号:HD001710000)
⑦STK M LOCK SENS L(货号:HD001710000)
⑧STK S SET SENS(货号:HD001710000)
⑨STK M SET SENS(货号:HD001710000)
⑩SHT CLOSE SENS(货号:HD001710000)
⑪SHT OPEN SENS(货号:HD001710000)
⑫投光侧传感器
⑬受光侧传感器
STK MIS SET SENS ASM
(货号:
40049721, 40153670
※
1
)
※1 适用于下述版本以后
TR5SNR : Rev.F
TR5SNX : Rev.D

维修调整要领书
4-2
4-2. Z 传感器的更换及调整
请以调试模式的“Z JOG”移动 Z 轴,将传感器移到容易更换的位置。
更换传感器需要短的螺丝刀。
更换后,仅②Z 轴原点传感器要进行以下确认。
初始化结束后请确认 Y 轨道(A)与托盘座板(B)的尺寸为-0.2~+0.2。出现偏差时,请用 Z 传感器
碰块(C)进行调整。
①Z 轴正向极限传感器(货号:HD001700000)
②Z 轴原点传感器(货号:HD001710000)
③Z 轴负向极限传感器(货号:HD001700000)

维修调整要领书
4-3
4-3. 叠盘箱锁定传感器的更换及调整
请拆下 SIDE COVER U,以调试模式的“Z JOG”将传感器移动到容易更换的位置之后予以更换。
④STK CLAMP R SENSOR ASM (货号:40049572)
⑤STK CLAMP L SENSOR ASM (货号:40049571)
⑥STK M LOCK SENS R(货号:HD001710000)
⑦STK M LOCK SENS L(货号:HD001710000)