TR5S维修调整.pdf - 第36页
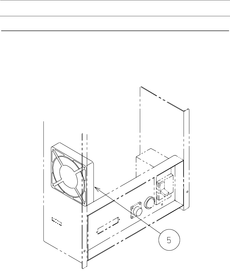
维修调整要领书 3- 11 3- 8. 风扇电动机的更 换 请卸下 E BASE CO VER ,更换风扇电动 机。 ⑤ FAN MO TER ASM ( 货号 : 400 496 82 )

维修调整要领书
3-10
3-7. 电源灯的更换
按压插座部 B 的 A 部卡爪(两侧)予以拆下。
请取下环 C,更换电源灯⑦。
⑦POWER LAMP CABLE ASM(货号:40049678)

维修调整要领书
3-11
3-8. 风扇电动机的更换
请卸下 E BASE COVER,更换风扇电动机。
⑤FAN MOTER ASM(货号:40049682)

维修调整要领书
3-12
3-9. Y 装置风扇电动机的更换
请取下 A 的 2 个螺丝,把风扇电动机①连同托架一起卸下,更换风扇电动机①。
①FAN MOTOR ASM(货号:40049505)