NXT-II 系统手册.pdf - 第292页
5. 换线 QD142-06 272 NXT II 系统手册 5.9 支撑板的更换 5.9.1 更换支撑板的向导画面 备注 )从单搬运轨道切换到双通道生产时 ( 或者相反 ), 或者变更搬运轨道宽度时 , 有时需要 进行支撑销的更换。搬运轨道宽度自动地调节到与下一道生产的电路板宽度相吻合。 进行支撑板的更换时,请在 Y 轴线性马达的轴的温度 降到常温后,安装保护罩。 注意 在线性马达附近使用工具时,请 注意由磁铁引起的吸引作用。 请不要…

QD142-06 5. 换线
NXT II 系统手册 271
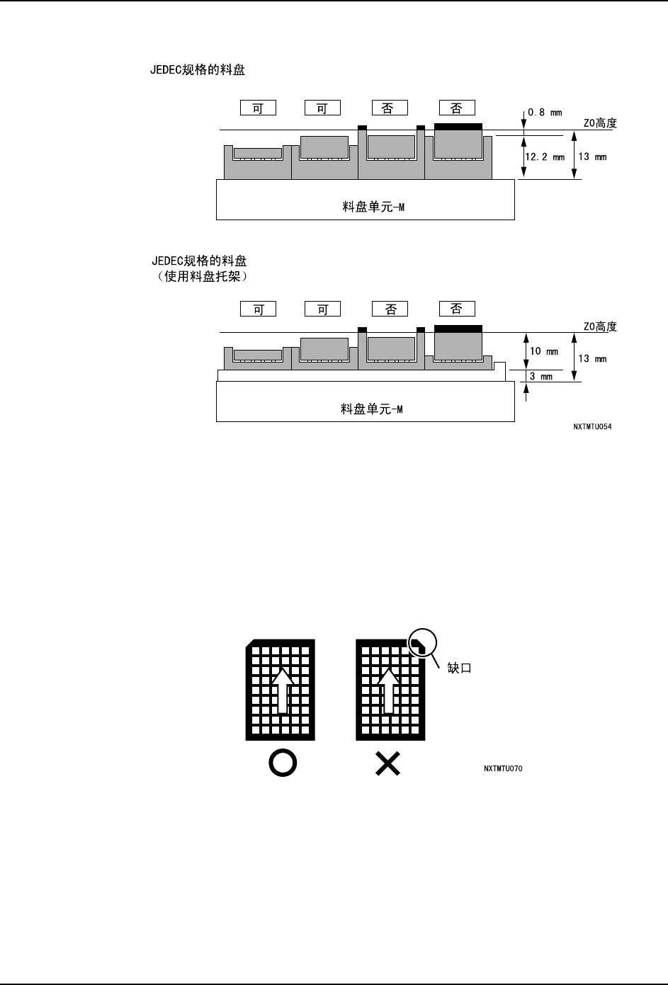
料盘高度和搭载条件
5.8.6 料盘插入时的注意事项
·料盘具有方向性。将料盘插入料盘单元 -M 时,请注意方向。
·开闭料盘单元 -M 的正面门时,请不要有冲击小心进行。有可能发生元件偏移或元
件从料盘上飞出。从安全上考虑,这些门实施了自动锁定而有可能不能打开,此
时请不要强行打开。
·请不要使用右前方有缺口的料盘。

5. 换线 QD142-06
272 NXT II 系统手册
5.9 支撑板的更换
5.9.1 更换支撑板的向导画面
备注 )从单搬运轨道切换到双通道生产时 ( 或者相反 ),或者变更搬运轨道宽度时,有时需要
进行支撑销的更换。搬运轨道宽度自动地调节到与下一道生产的电路板宽度相吻合。
进行支撑板的更换时,请在 Y 轴线性马达的轴的温度降到常温后,安装保护罩。
注意
在线性马达附近使用工具时,请注意由磁铁引起的吸引作用。
请不要使磁卡、手表、精密仪器等靠近线性马达附近。有可能受磁力影响
出现故障。

QD142-06 5. 换线
NXT II 系统手册 273
5.9.2 支撑板的卸下和安装
备注 )对于连接了料盘单元的模组,首先显示料盘单元卸下向导。请根据向导卸下料盘单元。
1. 请拉出模组。
a. 在确认了模组前侧没有障碍物后,按下操作面板的 OK 按钮。模组自动地被松开后稍
微向前移动一些。
b. 握住模组的手柄,缓慢地拉出模组,直到碰到阻停块为止。
2. 取出支撑板。
a. 将通道 2 的支撑板滑动到后方。该支撑板不用取出。
b. 抬起通道 1 的支撑板的后侧,拉出整个支撑板。
3. 安装次生产中使用的支撑板。
a. 将支撑板的前侧靠在底板上,推动后侧然后放下。
b. 将通道 2 的支撑板移动到跟前。
警告
运转后,请不要马上直接接触模组的 Y 轴的线性马达轴和线圈。有可能烫
伤。
使用心脏起搏器的人员,请不要靠近模组的 Y 轴附近。受磁力影响有可能
造成心脏起搏器误动作。
(2)
(3)
(1)