PCBRM_User_Manual_R9.pdf - 第81页
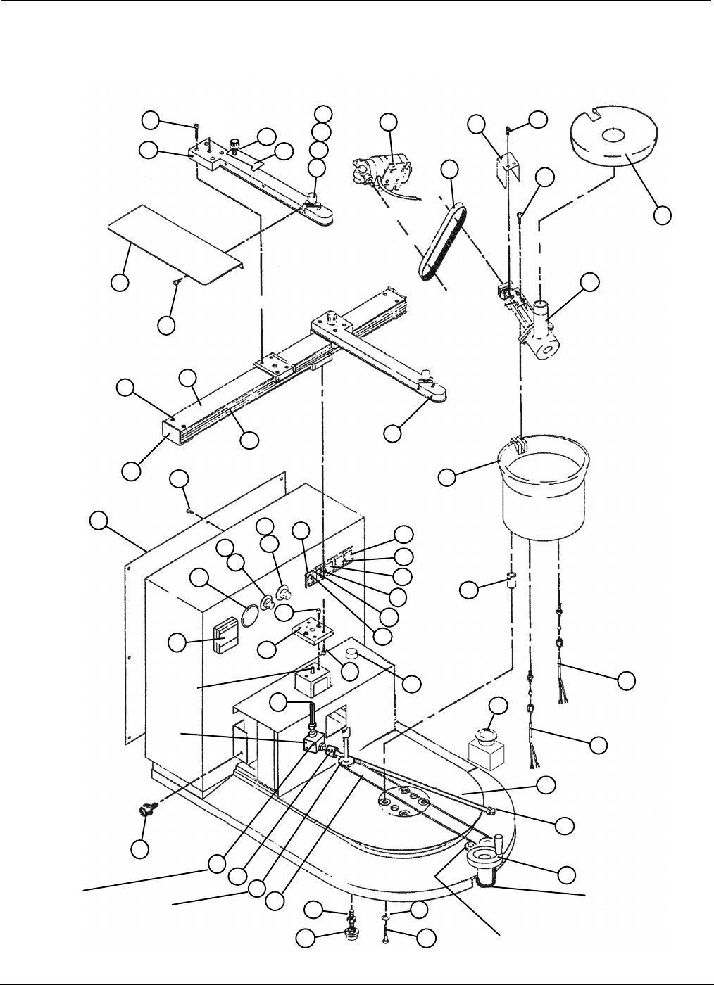
Pcbrm15 & PCBRM System 5.2 User’s Manual Chapter 5: Maintenance/Parts Part No. 4005.00.906 5-13 Mechanical Breakdown - Parts List Description Qty. Part Number 1. Sold er Pot 1 12510 2. Sold er Pot Cover 1 2004.01.108…

Pcbrm15 & PCBRM System 5.2 User’s Manual Chapter 5: Maintenance/Parts
Part No. 4005.00.906 5-12
5.6 PCBRM15 - Mechanical Breakdown
24
23
22
32
28
27
26
25
29
4
5
6
7
8
2
3
16
1
17
18
14
15
44
45
47
49
49
48
50
51
52
53
54
57
56
55
20
58
21
59
19
46
43
42
41
40
39
37
38
12
13
36
35
1
0
33
34
10
9
30
Lock Rod
12318
Bracket
12324
Screw
5A – 6-32 x 1/2
6B – 6-32 x 3/4
10A
6-32 x 3/16
37B - 5/16 x 5/8 - Screw
36B - Washer
Idler Gear, SM – 12354
Idler Gear, LG – 12323-3
Phomalic Washer – 12370
Idler Screw – 12369

Pcbrm15 & PCBRM System 5.2 User’s Manual Chapter 5: Maintenance/Parts
Part No. 4005.00.906 5-13
Mechanical Breakdown - Parts List
Description Qty. Part Number
1. Solder Pot 1 12510
2. Solder Pot Cover 1 2004.01.108
3. Pump Assembly, only 1 2004.01.040
4. Motor Assembly 1 12420
5. Drive Belt - High Temperature 1 12467
6. Belt Guard 1 12461
7. Belt Guard Hex Screw 2 59A
8. Pump Mounting Screw 2 23A
9. Pot Spacer 4 12511
10. Thermocouple/Process with fitting 2 12801
12. Pot Screw 4 21A
13. Washer, Pot Screw 4 33A
14. Upper Carrier Rail 1 12365
15. Lower Carrier Rail 1 12366
16. Right Carrier Arm Assembly 1 12305
17. Rail Stop 2 12315
18. Screw, 6-32 x 3/4, Rail Stop 4 6B
19. Adaptor Plate 1 12325
20. Adapter Screw 2 22A
21. Carrier Attach Screw 8 30A
22. Left Carrier Arm Assembly 1 12304
23. Heat Shield 1 12322
24. Screw, 6-32 x 1/4, Heat Shield 3 1A
25. Bracket 1 12316
26. Spring 1 12374
27. Knob 1 12319-1
28. Washer, #10 1 53A
29. Y-Stop Knob 1 0100.03.046
30. Y-Stop 1 12326
31. Carrier Arm, Lock Knob 2 12306
32. Arm Attach Screw 4 29B
33. E-Stop 1 12837
34. Carrier Lock Shaft 1 12320
35. Carrier Lock Knob 1 12356
36. Z-Crank Assembly 1 12CK
37. Leveling Legs 4 12151
38. Hex Nut, 5/16 1 36A
39. Height Adjustment Belt 1 12CK6
40. Drive Rod Gear 1 12353
41. Coupling 1 12362
42. Gear Box 1 12358
43. Pot Shield Knob 2 12308
44. Rear Panel 1 12812
45. Rear Panel Screw 8 13B
46. Temperature Controller - Watlow 1 9002.11.057
47. Air Gauge 1 12757
48. Flow Potentiometer - 50k 1 9002.05.018
49. Knob and Dial 2 9002.18.001
50. Duration Potentiometer - 25k 1 9002.05.017
51. Power Switch 1 12856
52. Reset Switch 1 12853-2
53. Power Light 1 12877-Z
54. Cycle Light 1 12876
55. Cycle Switch 1 12854
56. Mode Switch 1 12855
57. Temp Switch/Power 1 12856
58. Air Regulator 1 9001.12.006
59. Drive Shaft 1 12359

Pcbrm15 & PCBRM System 5.2 User’s Manual Chapter 5: Maintenance/Parts
Part No. 4005.00.906 5-14
5.7 PCBRM15 -Electrical Compartment
1. 9002.05.017 Potentiometer duration, 25K
2. 9002.05.018 Potentiometer flow, 50K
3. 9002.11.051 Temperature controller (Watlow)
4. 12862 Cycle control board
5. 12420 Motor assembly
6. 12865 Pot relay
7. 12864 Transformer 220/110v
8. 12879 Latching relay 24v
9. 12883 Emergency off relay 24v
10. 12882 Transformer 220/24v
11. 9001.12.006 Air regulator
12. 12750 Solenoid
1
3
4
2
10
9
8
7
6
5
11
12