FX-2_EPU使用说明书.pdf - 第119页
第 5 章 编辑程 序 5-71 5.5.2.2 包装方式为管状时 管状送料器,备有 9 种类型。 根据类型使用 1 个或多个通道。对 1 个管状送料器,可将全部通道分配同样元件,也可由各个 通道分配不同种类的元件。 ① 元件名称 ② 包装 不能输入。只显示在元件数据画面输入的数据。 ③ 供应设备 显示元件数据的包装方式标签中设置的值。 ④ 角度 设置元件吸取角度。 [供应]为[自动选择]时,无需输入(在列表画面中显示“*” ,在表格画…

第 5 章 编辑程序
5-70
⑦ 通道号
无需输入。
⑧ X1、Y1、Z
设置吸取位置的坐标。设置供应、位置(号码)后,自动计算后显示。用示教进行微调整。
* X2、Y2、X3、Y3 不输入。在列表画面上显示“*”。在表格画面上浅色显示。
⑨ 使用
设置在执行生产过程中,是否使用该供应装置。
默认为[使用]。如要变更,按[F2]键,出现弹出菜单,可从中选择使用、不使用。
表 5.5-2 [使用]弹出菜单的选择范围
使用
不使用
Yes
No
第 5 章 编辑程序
5-71
5.5.2.2 包装方式为管状时
管状送料器,备有 9 种类型。
根据类型使用 1 个或多个通道。对 1 个管状送料器,可将全部通道分配同样元件,也可由各个
通道分配不同种类的元件。
① 元件名称
② 包装
不能输入。只显示在元件数据画面输入的数据。
③ 供应设备
显示元件数据的包装方式标签中设置的值。
④ 角度
设置元件吸取角度。
[供应]为[自动选择]时,无需输入(在列表画面中显示“*”,在表格画面中浅色显示)。
默认值为元件数据中所设置的角度。
[供应]不是[自动选择]、且[位置(号码)]及[通道号]的值已设置时,可以变更设置值。
变更时,将输入光标移到[角度]框里即可输入。
制作吸取数据时,元件数据的供应角度自动设置为默认值。
从数据库中调出制作的元件数据时同样,在制作吸取数据时,元件数据供应角度自动设置有默
认值。
在吸取数据中输入角度后,元件数据、数据库的角度值不变。
仅变更元件数据的供应角度时,会出现提示,询问是否要修改吸取数据的角度。
⑤ 供应
将供应变更为非[自动选择]时,可输入④角度。(列表画面上的“*”消失,变成空白。在表
格画面中恢复正常显示,接受输入)

第 5 章 编辑程序
5-72
⑥ 位置(号码)
设置插入管状送料器定位销的送料器安装孔号码。
⑦ 输入通道号后,显示设置值。
变更号码后,号码右侧的各项目被初始化,显示空白。
输入号码后,会检查是否与原有的带状送料器、管状送料器、散装送料器重复,如有重复,
则显示错误信息,所输入的内容被拒绝。
⑦ 通道
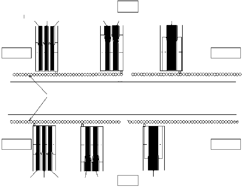
设置通道号码。通道号码顺序为:面向机器,前、后均从左起依次排序 1、2、…(参见下图)。
输入新通道或变更时,将自动计算并显示吸取位置(X1、Y1、Z)。若出现通道阻塞、重叠时,
会显示错误信息,拒绝所输入的内容。
右バンク
左バンク
後
前
1
39
39
1
1
39
39
1
左バンク
右バンク
图 5.5-4 通道编号示例
左侧台架
右侧台架
左侧台架
右侧台架
送料器安装孔
传送路
后
前
通道 3 通道 2 通道 1
通道 2 通道 1
通道 1
通道 1 通道 2 通道 3
通道 1 通道 2
通道 1